微波三極體與四極管
正文
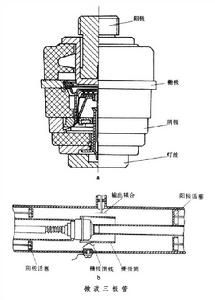
基於靜電控制原理的微波電子管。微波三極體和微波四極管包括燈塔管、盤封管、鉛筆管、超高頻發射管、平板三極體和鈦陶瓷三極體等,常用的工作頻率範圍為300~16000兆赫。微波三、四極管的工作基於電子流的靜電控制原理(見真空電子器件)。普通的靜電控制管不能在微波波段工作,主要受電子渡越時間效應和極間電容、引線電感的限制。微波三、四極管在設計、工藝和材料上都有重要改進,以適應在微波波段工作的要求。這些改進措施主要有以下兩個方面:①採用圓柱狀電極引出和盤封結構以儘量減小電極引線電感和極間電容的影響;採用腔體諧振迴路,使管子的電極和引線構成諧振腔的一部分。②靜電控制管內電子渡越角θ正比於工作頻率ω和極間距離d,反比於等效工作電壓u的平方根,即
。因此,減小極間距離和增大等效工作電壓,可以減小電子渡越時間效應。在這種情況下,就要採用細柵絲的柵極以避免陰極發射的不均勻性,同時加陰極負荷和提高電極的功率散耗密度。在微波三、四極管中採用了精密的控制柵極、近陰柵距離、大電流密度的陰極和增加各電極的散熱能力等措施。 微波三、四極管按電極結構可分為平板電極和圓柱電極兩種。大功率微波三、四極管通常採用同軸結構。中小功率管最常見的有屬平板電極結構的金屬陶瓷管、鈦陶瓷管和屬圓柱電極結構的鉛筆管,它們一般可以工作到3000兆赫以上的頻率,連續波功率在瓦級到幾十瓦,脈衝功率從幾百瓦到數千瓦量級。它們廣泛地套用於通信、導航、信標、引信、遙測、測高計和微波信號源等無線電儀器設備中。大功率微波三、四極管具有增益高、功率容量大的特點,在分米波段連續波功率可達數十千瓦,脈衝功率可達兆瓦量級,廣泛套用於電視、雷達和加速器等工程。為了展寬頻帶和提高頻率而發展的同軸管、級聯放大器和內腔式三極體也都屬於微波三、四極管。圖中為典型的微波三極體的結構及其與外電路的連線情況。
微波三極體與四極管
