頻分復用
頻分復用(FDM,Frequency Division Multiplexing)就是將用於傳輸信道的總頻寬劃分成若干個子頻帶(或稱子信道),每一個子信道傳輸1路信號。頻分復用要求總頻率寬度大於各個子信道頻率之和,同時為了保證各子信道中所傳輸的信號互不干擾,應在各子信道之間設立隔離帶,這樣就保證了各路信號互不干擾(條件之一)。頻分復用技術的特點是所有子信道傳輸的信號以並行的方式工作,每一路信號傳輸時可不考慮傳輸時延,因而頻分復用技術取得了非常廣泛的套用。頻分復用技術除傳統意義上的頻分復用(FDM)外,還有一種是正交頻分復用(OFDM)。
1.1傳統的頻分復用
傳統的頻分復用典型的套用莫過於廣電HFC網路電視信號的傳輸了,不管是模擬電視信號還是數位電視信號都是如此,因為對於數位電視信號而言,儘管在每一個頻道(8 MHz)以內是時分復用傳輸的,但各個頻道之間仍然是以頻分復用的方式傳輸的。
1.2正交頻分復用
OFDM(Orthogonal Frequency Division Multiplexing)實際是一種多載波數字調製技術。OFDM全部載波頻率有相等的頻率間隔,它們是一個基本振盪頻率的整數倍,正交指各個載波的信號頻譜是正交的。
OFDM系統比FDM系統要求的頻寬要小得多。由於OFDM使用無干擾正交載波技術,單個載波間無需保護頻帶,這樣使得可用頻譜的使用效率更高。另外,OFDM技術可動態分配在子信道中的數據,為獲得最大的數據吞吐量,多載波調製器可以智慧型地分配更多的數據到噪聲小的子信道上。目前OFDM技術已被廣泛套用於廣播式的音頻和視頻領域以及民用通信系統中,主要的套用包括:非對稱的數字用戶環線(ADSL)、數字視頻廣播(DVB)、高清晰度電視(HDTV)、無線區域網路(WLAN)和第4代(4G)移動通信系統等。
時分復用
時分復用(TDM,Time Division Multiplexing)就是將提供給整個信道傳輸信息的時間劃分成若干時間片(簡稱時隙),並將這些時隙分配給每一個信號源使用,每一路信號在自己的時隙內獨占信道進行數據傳輸。時分復用技術的特點是時隙事先規劃分配好且固定不變,所以有時也叫同步時分復用。其優點是時隙分配固定,便於調節控制,適於數字信息的傳輸;缺點是當某信號源沒有數據傳輸時,它所對應的信道會出現空閒,而其他繁忙的信道無法占用這個空閒的信道,因此會降低線路的利用率。時分復用技術與頻分復用技術一樣,有著非常廣泛的套用,電話就是其中最經典的例子,此外時分復用技術在廣電也同樣取得了廣泛地套用,如SDH,ATM,IP和HFC網路中CM與CMTS的通信都是利用了時分復用的技術。
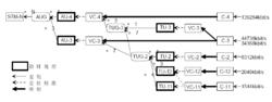
圖1 SDH復用結構典型的SDH復用結構如圖1所示。
從圖的右邊往左看,就是一個復用過程,能看到低速支路信號(例如2 Mbit/s、34 Mbit/s、140 Mbit/s)通過層層復用,最終復用進SDH的VC-4信號中。同時N個VC4也可以復用成STM-N信號。
如果從圖的左邊往右看,則是一個解復用過程,STM-N信號能夠解復用出N個VC4信號,並最終解復用出低速支路信號。
波分復用
光通信是由光來運載信號進行傳輸的方式。在光通信領域,人們習慣按波長而不是按頻率來命名。因此,所謂的波分復用(WDM,Wavelength Division Multiplexing)其本質上也是頻分復用而已。
WDM是在1根光纖上承載多個波長(信道)系統,將1根光纖轉換為多條“虛擬”纖,當然每條虛擬纖獨立工作在不同波長上,這樣極大地提高了光纖的傳輸容量。由於WDM系統技術的經濟性與有效性,使之成為當前光纖通信網路擴容的主要手段。波分復用技術作為一種系統概念,通常有3種復用方式,即1 310 nm和1 550 nm波長的波分復用、粗波分復用(CWDM,Coarse Wavelength Division Multiplexing)和密集波分復用(DWDM,Dense Wavelength Division Multiplexing)。
(1)1 310 nm和1 550 nm波長的波分復用
這種復用技術在20世紀70年代初時僅用兩個波長:1 310 nm視窗一個波長,1 550 nm視窗一個波長,利用WDM技術實現單纖雙視窗傳輸,這是最初的波分復用的使用情況。
(2)粗波分復用
繼在骨幹網及長途網路中套用後,波分復用技術也開始在城域網中得到使用,主要指的是粗波分復用技術。CWDM使用1 200~1 700 nm的寬視窗,目前主要套用波長在1 550 nm的系統中,當然1 310 nm波長的波分復用器也在研製之中。粗波分復用(大波長間隔)器相鄰信道的間距一般≥20 nm,它的波長數目一般為4波或8波,最多16波。當復用的信道數為16或者更少時,由於CWDM系統採用的DFB雷射器不需要冷卻,在成本、功耗要求和設備尺寸方面,CWDM系統比DWDM系統更有優勢,CWDM越來越廣泛地被業界所接受。CWDM無需選擇成本昂貴的密集波分解復用器和“光放”EDFA,只需採用便宜的多通道雷射收發器作為中繼,因而成本大大下降。如今,不少廠家已經能夠提供具有2~8個波長的商用CWDM系統,它適合在地理範圍不是特別大、數據業務發展不是非常快的城市使用。
(3)密集波分復用
密集波分復用技術(DWDM)可以承載8~160個波長,而且隨著DWDM技術的不斷發展,其分波波數的上限值仍在不斷地增長,間隔一般≤1.6 nm,主要套用於長距離傳輸系統。在所有的DWDM系統中都需要色散補償技術(克服多波長系統中的非線性失真——四波混頻現象)。在16波DWDM系統中,一般採用常規色散補償光纖來進行補償,而在40波DWDM系統中,必須採用色散斜率補償光纖補償。DWDM能夠在同一根光纖中把不同的波長同時進行組合和傳輸,為了保證有效傳輸,一根光纖轉換為多根虛擬光纖。目前,採用DWDM技術,單根光纖可以傳輸的數據流量高達400 Gbit/s,隨著廠商在每根光纖中加入更多信道,每秒太位的傳輸速度指日可待。
碼分復用
碼分復用(CDM,Code Division Multiplexing)是靠不同的編碼來區分各路原始信號的一種復用方式,主要和各種多址技術結合產生了各種接入技術,包括無線和有線接入。例如在多址蜂窩系統中是以信道來區分通信對象的,一個信道只容納1個用戶進行通話,許多同時通話的用戶,互相以信道來區分,這就是多址。移動通信系統是一個多信道同時工作的系統,具有廣播和大面積覆蓋的特點。在移動通信環境的電波覆蓋區內,建立用戶之間的無線信道連線,是無線多址接入方式,屬於多址接入技術。聯通CDMA(Code Division Multiple Access)就是碼分復用的一種方式,稱為碼分多址,此外還有頻分多址(FDMA)、時分多址(TDMA)和同步碼分多址(SCDMA)。
(1)FDMA
FDMA頻分多址採用調頻的多址技術,業務信道在不同的頻段分配給不同的用戶。FDMA適合大量連續非突發性數據的接入,單純採用FDMA作為多址接入方式已經很少見。目前中國聯通、中國移動所使用的GSM行動電話網就是採用FDMA和TDMA兩種方式的結合。
(2)TDMA時分多址
TDMA時分多址採用了時分的多址技術,將業務信道在不同的時間段分配給不同的用戶。TDMA的優點是頻譜利用率高,適合支持多個突發性或低速率數據用戶的接入。除中國聯通、中國移動所使用的GSM行動電話網採用FDMA和TDMA兩種方式的結合外,廣電HFC網中的CM與CMTS的通信中也採用了時分多址的接入方式(基於DOCSIS1.0或1.1和Eruo DOCSIS1.0或1.1)。
(3)CDMA碼分多址
CDMA是採用數位技術的分支——擴頻通信技術發展起來的一種嶄新而成熟的無線通信技術,它是在FDM和TDM的基礎上發展起來的。FDM的特點是信道不獨占,而時間資源共享,每一子信道使用的頻帶互不重疊;TDM的特點是獨占時隙,而信道資源共享,每一個子信道使用的時隙不重疊;CDMA的特點是所有子信道在同一時間可以使用整個信道進行數據傳輸,它在信道與時間資源上均為共享,因此,信道的效率高,系統的容量大。CDMA的技術原理是基於擴頻技術,即將需傳送的具有一定信號頻寬的信息數據用一個頻寬遠大於信號頻寬的高速偽隨機碼(PN)進行調製,使原數據信號的頻寬被擴展,再經載波調製並傳送出去;接收端使用完全相同的偽隨機碼,與接收的頻寬信號作相關處理,把寬頻信號換成原信息數據的窄帶信號即解擴,以實現信息通信。CDMA碼分多址技術完全適合現代移動通信網所要求的大容量、高質量、綜合業務、軟切換等,正受到越來越多的運營商和用戶的青睞。
(4)同步碼分多址技術
同步碼分多址(SCDMA,Synchrnous Code Division Multiplexing Access)指偽隨機碼之間是同步正交的,既可以無線接入也可以有線接入,套用較廣泛。廣電HFC網中的CM與CMTS的通信中就用到該項技術,例如美國泰立洋公司(Terayon)和北京凱視通電纜電視寬頻接入,結合ATDM(高級時分多址)和SCDMA上行信道通信(基於DOCSIS2.0或Eruo DOCSIS2.0)。
中國第3代移動通信系統也採用同步碼分多址技術,它意味著代表所有用戶的偽隨機碼在到達基站時是同步的,由於偽隨機碼之間的同步正交性,可以有效地消除碼間干擾,系統容量方面將得到極大的改善,它的系統容量是其他第3代移動通信標準的4~5倍。

