簡介
嵌入式計算機系統的出現,是計算機發展史上一個重要的里程碑。嵌入式系統誕生於微型計算機時代,它與通用計算機系統的專業化分工發展導致20世紀末、21世紀初計算機技術的飛速發展。通用計算機按照高速、海量存儲技術發展,而嵌入式系統的發展則完全不同,走的是單晶片化道路。它以體積小、功能全、性價比高等諸多優點而獨具特色,在工業控制、軍事武器、通信設備、信息處理、家用電器等用領域中獨占鰲頭,迅速地將傳統的電子系統發展為智慧型化的現代電子系統時代 。
嵌入式計算機套用是當今計算機技術發展的主流方向之一,主要套用在測控領域。嵌入式系統的目的是提供一個以多任務和網路化為核心、易於開發的複雜數字系統。從數位技術和信息技術的角度看,嵌入式系統已成為現代信息網路技術套用的基礎技術,已成為現代工控領域的基本技術 。
隨著後PC時代的到來,嵌入式系統的產品己經越來越多地滲入到我們生活當中,例如在製造及過程控制方面:人機操作面板、控制工具機、電機驅動、測試設備、環境監測、輸配電設備、煉油廠設備、遠程無人採集監控站;醫療衛生設備方面:X光機、CT、醫護管理系統、病房監測系統;樓宇自控及商業零售網點、商業POS、保全監控設備;辦公設備及信息家電、手機嵌入系統、程控電話等等。而且它還會進一步地影響我們的生活,現代社會中嵌入式系統及產品最終會無所不在 。
定義
根據IEEE(國際電氣和電子工程師協會)的定義,嵌入式系統是控制、監視、或者輔助設備機器和車間運行的裝置,這主要是從套用上加以定義的,從中可以看出嵌入式系統是軟體和硬體的綜合體,還可以涵蓋機械等附屬裝置。
關於嵌入式系統還有多種其它的定義方法,它們從各個角度對嵌入式系統進行了闡述。其中主要有以下兩種定義方法:
(1)第一種:嵌入式系統是以套用為中心、計算機技術為基礎,軟、硬體可裁剪,適應套用系統對功能、可靠性、成本、體積、功耗嚴格要求的專用計算機系統。
(2)第二種:把基於處理器(通用處理器和嵌入式處理器)的設備稱為計算機,把計算機分成兩大部分,即通用計算機和嵌入式計算機。嵌入式系統也稱為嵌入式計算機,因此嵌入式系統被定義為非通用計算機系統。
綜上所述,一個嵌入式系統就是一個硬體和軟體的集合體,它包括硬體和軟體兩部分:硬體包括嵌入式處理器/控制器/數位訊號處理器等、存儲器及外設器件、輸入輸出連線埠,圖形控制器等;軟體部分包括作業系統軟體(嵌入式作業系統)和應用程式(套用軟體),套用的領域不同,應用程式千差萬別 。
嵌入式系統的組成
圖1 嵌入式系統結構圖由於嵌入式系統具有面向套用的特點,因而其組成結構的變化非常大,但從總體上可以分為如下三個部分,如圖1所示。
(1)嵌入式系統的硬體:嵌入式系統的硬體包括嵌入式核心晶片、存儲器系統及外部接口。其中:
1)嵌入式核心晶片指EMPU-(嵌入式微處理器)、EMCU-(嵌入式微控制器)、EDSP- (嵌入式數位訊號處理器)、ESoC-(嵌入式片上系統)、EPSoC一(嵌入式可程式片上系統)。
2)嵌入式系統的存儲器系統,包括程式存儲器(ROM, EPROM, Flash)、數據存儲器(隨機存儲器)、參數存儲器(目前一般使用EEPROM)和NVRAM等。
3)嵌入式系統的外部接口,一般嵌入式處理器上已集成了接口,但外設需要外接。
(2)嵌入式系統的軟體:嵌入式系統的軟體可以分為兩部分:嵌入式作業系統和套用軟體。嵌入式作業系統具有一定的通用性,雖然目前可用的嵌入式作業系統有幾十種,但是常用的不過幾種,一種作業系統適合於一定的套用範圍。嵌入式套用軟體種類非常多,不同的嵌入式系統具有完全不同的嵌入式套用軟體。
(3)嵌入式系統的開發工具和開發系統:嵌入式系統的硬體和軟體屬於嵌入式系統產品本身,開發工具則獨立於嵌入式系統產品之外。開發工具一般包括語言編譯器、連線定位器、調試器等 。
嵌入式測控系統的系統結構
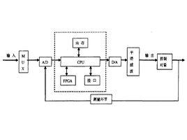
圖2 通用嵌入式測控系統結構圖通用的嵌入式測控系統的結構框圖如圖2。
嵌入式處理器
嵌入式處理器是構成系統的核心部件,系統中的其他部件均在它的控制和調度下工作。在實際的測控系統中,處理器能夠通過專用接口獲取測控對象的數據、狀態等各種信息,並對這些信息進行計算、加工、分析和判斷。而後作出相應的控制決策,再通過專用接口將控制信號傳送給測控對象。
嵌入式處理器可以以CPU為核心,再加上記憶體、接口等部件構成,可以在單片機的基礎上擴展而成:可以以數位訊號處理器(DSP)為核心構成:也可以用專用處理器晶片甚至用自己設計的ASIC來構成。採用什麼樣的處理器,主要取決於測控系統的要求。在嵌入式測控系統中,處理器性能的優劣將直接影響整個系統。
可程式邏輯器件
利用CPLD,用戶可以快捷方便地構成自己所需要地專用積體電路(ASIC)。從CPLD的集成度,從它所集成的功能單元可以想像到利用高集成度的CPLD可以實現功能很複雜、速度很高的各種積體電路。
FPGA可以像CPLD那樣,先對其編程,而後文到系統中使用,還可以現場編程,即利用不同的EPROM控制FPGA實現不同的功能。甚至可以利用SRAM或EEPROM現場下載控制命令,用以控制FPGA完成不同功能。
隨著CPLDF/PGA集成度的不斷增加、速度不斷提高,集成度達到數百萬門,工作頻率達數百MHZ,引腳上千的CPLD/FPGA已經出現。利用這樣的產品,可以按照用戶的要求設計出具有多種附加功能的單片機或DSP。
外設及其接口
(1)常規外設及其接口:所謂常規外設是指構成一個計算機系統所必不可少的那些外設。通常包括以下三類:
1)輸入設備,用於數據的愉入。常見的輸入設備有鍵盤、滑鼠、觸控螢幕、各種多媒體視頻捕獲卡等。
2)輸出設備,用於數據的輸出。常見的輸出設備有各種顯示器、各種印表機、繪圖儀等。
3)外存儲設備,用於存儲程式和數據。常見的外存儲設備有硬碟、軟碟、光碟設備、存儲卡等。
(2)專用外設及其接口:在嵌入式測控系統中,專用外設是指那些為完成用戶要求的功能而必須使用的外設。在實際套用中,由於對測控系統功能要求的多樣性,實現這些要求的技術途徑靈活性,使得專用外設的種類繁多。例如,發光二極體、繼電器、直流電A/D器件、D/A器件、按鍵等都可以認為是專用外設。
不管是常規外設還是專用外設,它們的接口要完成的功能是都是一樣的。接口應該提供計算機與外設的信息傳送的通路;實現外設狀態的輸入和對外設控制信息的輸出;實現電平轉換、信號形式(數位訊號與模擬信號)的轉換以及快速的處理器與慢速的外設間的同步 。
分類
嵌入式系統是多種多樣的,不同的嵌入式系統適合於不同的套用範圍。根據嵌入式系統的複雜程度,可以將嵌入式系統分成四類:
(1) 單個微處理器:這類系統一般由單片嵌入式處理器組成,嵌入式處理器上集成了存儲器、I/O設備、接口設備(如A/D轉換器)等,嵌入式處理器再加上簡單的元件如電源、時鐘元件等就可以工作。
(2) 嵌入式處理器可擴展的系統:系統使用的處理器根據需要,可以擴展存儲器,也可以使用片上的存儲器。在處理器上擴充少量的存儲器和外部接口,以構成嵌入式系統。
(3) 複雜的嵌入式系統:該類系統的嵌入式處理器一般是16位,32位等,用於大規模套用。由於軟體量大,因此需要擴展存儲器。擴展存儲器一般較大,外部設備接口一般仍然集成在處理器上。這類系統一般是一個大系統的局部組件,由它們的感測器收集數據並傳遞給系統。這種組件可同計算機一起操作,並可包括某種資料庫。
(4) 在製造或過程控制中使用的計算機系統:這類系統中,計算機與儀器、機械及設備相連來控制這些裝置工作。計算機用於總控制和監視,而不是對單個設備直接控制。在許多情況下,兩個功能獨立的子系統可在一個主系統操作下一同運行。
另外,嵌入式系統按照其表現形式可以大致分為以下三種:
(1) 晶片級嵌入:嵌入式系統作為含程式或算法的處理器嵌入到目標系統,為目標系統實現核心智慧型或某個輔助功能。
(2) 模組級嵌入:嵌入式系統作為目標系統的一個獨立模組嵌入目標系統之中,實現目標系統的某個局部功能。
(3) 系統級嵌入:嵌入式系統作獨立系統嵌入目標系統之中,與目標系統協作,共同完成整個系統的功能 。
嵌入式測控系統的特點
(1) 低功耗
由於嵌入式測控系統採用的是微處理器,實現相對單一的功能,所以往往不需要大量的外圍器件。因而在體積上,功耗上有其自身的優勢。
(2) 實時性
嵌入式測控系統的一大特點就是必須實時回響和處理事件。因為,在這樣的系統中,經常對事件的回響提出規定的時限,要求刻不容緩地進行處理。當嵌入式測控系統比較複雜,要求實時回響的事件比較多時,設計者就更應當考慮和處理有關實時性的問題。現實中的事件有非周期性隨即出現的,也有周期性發生的。對於前者,在系統設計時就必須考慮到最壞的情況一一即最大出現率的情況下,如何應付這種情況。對於後者,在設計時就必須保證有足夠的性能來回響它們。
(3) 高可靠性
由於嵌入式測控系統多工作在工業企業的現場(甚至用於軍事裝備中),一旦出現故障,有可能造成整個生產過程的混亂,甚至造成更為嚴重的後果。因此,可靠性是嵌入式測控系統最重要、最突出的基本要求。可以這樣說,可靠性是嵌入式測控系統的生命線。
(4) 軟硬體高度結合
由於空間和各種資源相對不足,嵌入式測控系統的硬體和軟體都必須高效率地設計,力爭在同徉的矽片面積上實現更高的性能。為了提高執行速度和系統可靠性,嵌入式系統中的軟體一般都固化在存儲器晶片或微控制器本身中,而不是存貯於磁碟等載體中。
(5) 適應環境要求
嵌入式測控系統的環境適應能力也是極為重要的。這是因為,絕大多數嵌入式測控系統工作環境都十分惡劣。軍用系統自不待說,就是工業系統,其工作場合的溫度、濕度、振動、粉塵、煙霧、各種電磁干擾等環境一般都很差、很惡劣。因此,要求嵌入式測控系統必須適套用戶環境的要求,才能保證系統長期穩定、可靠地工作。
(6) 通用性和可擴展性
嵌入式測控系統都是專用系統,但它們都是計算機系統。每個計算機都有自己強烈的個性,但又有共性。例如,用於雷達監測的DSP系統和超聲電機DSP測控系統,雖然在功能上有著很大的差異,但內部結構卻可能有許多相似之處。因此在系統設計時要充分注意到這種情況,在進行系統設計時儘量做到通用性好、便於擴展。當某一個系統設計投入使用後,若遇到後續的類似系統,則可在前面系統設計的基礎上通過增加和減少某些部件來構成新的嵌入式測控系統,甚至可以把軟體中的一些模組直接拷貝使用。通過這樣的工作,往往會收到事半功倍的效果 。

