介紹
適用於高校、研究所和食品醫藥化工企業實驗室生產微量顆粒粉末,對所有溶液如乳濁液、懸浮液具有廣泛適用性, 適用於對熱敏感性物的乾燥如生物製品、生物農藥、酶製劑等。因為所噴出的物料只是在噴成霧狀時才受到高溫且是瞬間受熱,故這些活性材料在乾燥後仍維持其活性成份不變。具體用於下列領域:飲料香料和色素牛奶和蛋製品植物和蔬菜提取液製藥合成熱敏物質塑膠聚合物和樹脂芳香劑血製品制陶和超導體生化製品染料肥皂和洗滌劑食品黏合劑氧化物骨粉和牙粉等等。
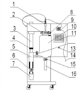
設備示意圖:

1、霧化器; 2、大卡箍; 3、尾氣管; 4、鎖緊螺母; 5、旋風分離器; 6、1 號卡箍;7、
收集瓶;8、大卡箍; 9、蠕動泵; 10、乾燥室; 11、觸控螢幕;12、2 號卡箍; 13、電源開關;
14、進料管; 15、3 號卡箍; 16、收集管
主要特徵
●原裝進口噴頭,效率高。●彩色大觸控螢幕操作,全自動控制和手動控制相結合,中英文面板,參數液晶顯示。
●實時調控PID恆溫控制技術,控溫準確,加熱控溫精度±1℃。
●噴霧、烘乾及收集裝置採用透明優質耐高溫高硼矽玻璃製造,整個噴霧乾燥實驗進程可視。
●二流體噴霧的霧化結構,高精度316不鏽鋼材料製造,噴粉的顆徑呈常態分配,流動性好。
●射流器自動疏通(通針)且頻率可調,在噴嘴被堵塞時,會自動清除以確保實驗的連續性。
●進料量可通過進料蠕動泵調節。
●特有保護功能,風機不啟動,加熱器不能啟動。
●內置進口全無油空壓機,噪音小於50db。
●配備進風口過濾器,以確保樣品純淨。
●乾燥後的產品,顆粒度均勻,95%以上的乾粉在同一顆粒度。
技術參數:
1 進風溫度控制:30~280℃2.出風溫度控制:30~150℃
3.蒸發水量:1500mL/H
4.最大進料量:2000mL/H
5.電加熱器功率:3KW AC220V 單相接地
6.風機:0.2KW最大風量 5.6m3/min最大風壓 1020Pa
7.空氣壓縮機:0.2KW最大產氣量 4.2 m3/h
8.壓縮空氣工作壓力:2~3Bar
9.設備外形尺寸:780 x 560 x 1300 ( mm )L x W x H
10.噴嘴口徑:1.00mm
11.設備重量:125KG
12.本機使用溫度:10~40℃
安裝說明
1. 乾燥室的安裝 用雙手將乾燥室托住然後斜插入乾燥室固定卡箍里,鎖緊乾燥室鎖緊螺母即可 (以 乾燥室可以在卡箍里轉動為準)。2. 旋風分離器的安裝 將旋風分離器鎖緊螺母、密封圈及不鏽鋼墊片套入旋風分離器的出風管上,然 後一起插入設備出風管中,調節乾燥室出風口與旋風分離器進風口的位置,使兩個口平直對齊,用 卡箍將兩個口連線起來,最後鎖緊旋風分離器鎖緊螺母。
3. 用卡箍將集料瓶和旋風分離器連線起來
4. 用卡箍將集料管和乾燥室連線起來
5. 將噴霧腔安裝到設備上,連線 4mm 氣管(通針用)和 6mm 氣管(噴霧用)
6. 安裝食品級矽膠管至蠕動泵上,並插入噴霧腔進料口
操作說明
蠕動泵
點擊”打開”,蠕動泵”啟動”,再點擊”停止則關閉..自動控制蠕動泵的運行,點擊蠕動泵自動按鈕藍色區(下面)(按鈕變為”關閉”),蠕動泵自動啟動,可根據出風溫度的設定值自動調節蠕動泵的轉速,從而蠕動泵的進料量,再點擊為手動操作,顯示”自動”。風機
控制風機的啟動和停止,點擊風機按鈕區(上面),風機啟動(按鈕移動到”啟動”),點擊下面,風機停止(按鈕移動到”停止”).。通針
控制通針的啟動和停止,點擊通過按鈕黑色區(上面),通過啟動(按鈕移動到”啟動”),點擊下面,通過停止(按鈕移動到”停止”),通針的運行速度在界面(三)中通過改變通針設定的設定值來改變運行速度。空氣壓縮機
控制空壓機的啟動和停止,點擊空氣壓縮機按鈕黑色區(上面),空壓機啟動(按鈕移動到”啟動”),點擊下面,空壓機停止(按鈕移動到”停止”)。加熱器
控制電加熱器的啟動和停止,點擊加熱器按鈕黑色區(上面),加熱器啟動(按鈕移動到”啟動”),點擊下面,加熱器停止(按鈕移動到”停止”)。註:在風機沒啟動之前加熱器是不會啟動的,關閉風機加熱器自動斷開。
風機設定 設定分機的轉動頻率 ,按動數值框,彈出數字鍵盤,按CLR鍵將數字清零,然後輸入所需的值,按ENTER鍵修改完畢。
蠕動泵手動 手動控制蠕動泵的運行,點擊蠕動泵自動按鈕黑色區(上面)(顯示ON),蠕動泵自動啟動,顯示下面,蠕動泵停止(顯示OFF)
通針設定 通過通針的運行頻率,數值代表幾秒鐘啟動一次,按動數值框,彈出數字鍵盤,按CLR鍵將數字清零,然後輸入所需的值,按ENTER鍵修改完畢。
蠕動泵設定 設定蠕動泵的進料量r/m),按動數值框,彈出數字鍵盤,按CLR鍵將數字清零,然後輸入所需的值,按ENTER鍵修改完畢。
說明:點擊控制臺進入界面(二),點擊主選單進入界面(一)
進風溫度自調
調整進風溫度的穩定性,若且唯若乾燥時發現進風溫度顯示值與進風溫度設定值之間有較大的波動時,需進行進風溫度自調,以確保進風溫度設定值與進風溫度顯示值保持一致,開啟自調前必須確保進風溫度設定值與進風溫度顯示值之間又50度以上的溫差,如進風溫度設定值在120度,進風溫度顯示在在70度以下,即設定值>顯示值50度以上。點擊進風溫度自調按鈕黑色區(上面)(顯示ON),進風溫度自調啟動。自討完成後會自動結束,如在自調未完成前項結束自調,需點擊進風溫度自調結束按鈕。
注:將風機和加熱器啟動後進行進風溫度自調功能,
進風溫度設定值
設定進風溫度,按動數值框,彈出數字鍵盤,按CLR鍵將數字清零,然後輸入所需的值,按ENTER鍵修改完畢。進風溫度顯示值
顯示進風溫度的實際值進風溫度自調結束擋在進風溫度自調進行的過程中,想中途中斷自調,按動此按鈕
出風溫度自調
若且唯若乾燥室發現出風溫度顯示值與出風溫度設定值之間有比較大波動時,需進行出風溫度自調,以確保出風溫度設定值與出風溫度顯示值保持一致,開啟字條錢必須確保出風溫度設定值與出風溫度顯示值之間有50度以上的溫差,如出風溫度設定在70度,出風溫度顯示值在120度以上,即顯示值>設定值50度以上。出風溫度設定值
設定出風溫度,按動數值框,彈出數字鍵盤,按CLR鍵將數字清零,然後輸入所需的值,按ENTER鍵修改完畢。出風溫度顯示值
顯示出風溫度的實際值出風溫度自調結束
當在出風溫度自調進行的過程中,想中途中斷自調,按動此按鈕常見問題排除
問題 | 可能原因 | 解決方法 |
1、風機不工作 | 變頻器損壞 風機損壞 | 聯繫我公司 |
2、電加熱器不工作 | 風機未啟動 固態繼電器損壞 電加熱器損壞 | 啟動風機 更換固態繼電器 與我公司聯繫 |
3、空氣壓縮機不工作 | 中間繼電器損壞 空壓機未啟動 空壓機損壞 | 更換中間繼電器 啟動空壓機 |
4、設備沒電 | 外接插座不可靠 空氣開關 1 在關閉位置 中間繼電器損壞 | 檢查外接電源是否有電 把空氣開關 1 打開 更換中間繼電器 |
5、觸控螢幕無顯示 | 面板啟動按鈕損壞 | 更換啟動按鈕 |
24V 開關電源損壞 觸控螢幕損壞 | 更換開關電源 與我公司聯繫 | |
6、PLC 不工作 | 空氣開關 2 在關閉位置 PLC 損壞 | 打開空氣開關 2 |
7、進風溫度無顯示 | PT-100 溫度探頭連線鬆動 PT-100 損壞 PT 溫度模組損壞 | 聯繫南京普森儀器設備有限公司 |
8、出風溫度無顯示 | PT-100 溫度探頭連線鬆動 PT-100 損壞 PT 溫度模組損壞 | 聯繫南京普森儀器設備有限公司 |
9、進風溫度無法達到設定值 | 風機風量太大 | 修改風機參數 |
10、乾燥室底端滴料 | 進風溫度太低 霧化空氣壓力太低 壓縮空氣漏氣 進料量太大 | 增加進風溫度 打 開 設 備 後 蓋 板 將 壓 力 調 至 2—3Bar(φ6 白色氣管) 檢查各連線處是否漏氣 修改蠕動泵參數 |
11、通針不工作 | 空氣閥門未開 壓力太小 通針參數設定太大 電磁閥損壞 | 打開閥門(φ4 白色氣管) 調大減壓閥壓力 修改通針參數 更換電磁閥 |
