簡介
噴霧塔(噴淋塔)塔是用於氣體吸收最簡單的設備,在噴淋塔內,液體呈分散相,氣體為連續相,一般氣液比較小,適用於極快或快速化學反應的吸收過程。
一個噴霧塔包括一個空塔和一套噴淋液體的噴嘴。其結構如圖5—7所示。一般情況下,氣體由塔底進入,經氣體分布系統均勻分布後向上穿過整個設備。而同時由一級或多級噴嘴噴淋液體,氣體與液滴逆流接觸,淨化後氣體除霧後從塔頂排出。
噴霧塔噴霧塔的優點是結構簡單、造價低廉、氣體壓降小,且不會堵塞。目前廣泛套用於濕法脫硫系統中。其主要特點是完全開放。除噴淋的噴嘴外,無其他內部設施。噴嘴是噴淋塔的主要附屬檔案,要求噴嘴能夠提供細小和尺寸均勻的液滴以使噴淋塔有效運轉。
工作原理
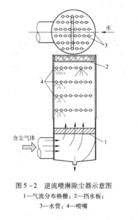
如圖5-2所示的逆流噴淋除塵器為例,含塵氣流向上運動,液滴由噴嘴噴出向下運動,粉塵顆粒與液滴之間通過慣性碰撞、接觸阻留、粉塵因加濕而凝聚等作用機制,使較大的塵粒被液滴捕集。當氣體流速較小時,夾帶了顆粒的液滴因重力作用而沉於塔底。淨化後的氣體通過淨水器去除夾帶的細小液滴從頂部排出。
噴霧塔基本構造
根據噴淋除塵器內截面的形狀,可分為圓形和方形兩種;按其內的氣液流動方向不同,可分為逆流、順流和錯流三種形式。
在逆流式噴霧塔中,含塵氣體從噴淋除塵器底部進入,通過氣流分布格柵而均勻地向上運動;液滴由噴嘴噴出從上向下噴淋,噴嘴可以設在一個截面上,也可以分幾層設在幾個截面上。因顆粒和液滴之間的慣性碰撞、攔截和凝聚等作用,使較大的粒子被液滴捕集。淨化後的氣體經過塔上部的防霧擋水板,除去攜帶的水霧排出。
順流形式的噴霧塔,液體和含塵氣流在塔內按同一方向流動,一般是從頂部淋下來,對於液滴從氣流中分離有利,缺點是慣性碰撞效果差,主要用於使氣體降溫和加濕等過程。
而錯流形式的噴霧塔,即液體由塔的頂部淋下來,而含塵氣流水平通過噴霧塔。
噴霧塔洗滌器下部一般設有集液管槽,並附設有沉澱池,使液體能循環利用。

