原理
在所有的燃料電池中,SOFC的工作溫度最高,屬於高溫燃料電池。近些年來,分散式電站由於其成本低、可維護性高等優點已經漸漸成為世界能源供應的重要組成部分。由於SOFC發電的排氣有很高的溫度,具有較高的利用價值,可以提供天然氣重整所需熱量,也可以用來生產蒸汽,更可以和燃氣輪機組成聯合循環,非常適用於分散式發電。燃料電池和燃氣輪機、蒸汽輪機等組成的聯合發電系統不但具有較高的發電效率,同時也具有低污染的環境效益。
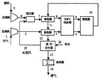
一般的SOFC發電系統包括燃料處理單元、燃料電池發電單元以及能量回收單元。圖一是一個以天然氣為燃料、常壓運行的發電系統。空氣經過壓縮器壓縮,克服系統阻力後進入預熱器預熱,然後通入電池的陰極。天然氣經過壓縮機壓縮後,克服系統阻力進入混合器,與蒸汽發生器中產生的過熱蒸汽混合,蒸汽和燃料的比例為,混合後的燃料氣體進入加熱器提升溫度後通入燃料電池陽極。陰陽極氣體在電池內發生電化學反應,電池發出電能的同時,電化學反應產生的熱量將未反應完全的陰陽極氣體加熱。陽極未反應完全的氣體和陰極剩餘氧化劑通入燃燒器進行燃燒,燃燒產生的高溫氣體除了用來預熱燃料和空氣之外,也提供蒸汽發生器所需的熱量。經過蒸汽發生器後的燃燒產物,其熱能仍有利用價值,可以通過餘熱回收裝置提供熱水或用來供暖而進一步加以利用。
SOFC簡單發電系統示意圖結構組成
固體氧化物燃料電池是一種新型發電裝置,其高效率、無污染、全固態結構和對多種燃料氣體的廣泛適應性等,是其廣泛套用的基礎。
固體氧化物燃料電池單體主要組成部分由電解質(electrolyte)、陽極或燃料極(anode,fuel electrode)、陰極或空氣極(cathode,air electrode)和連線體(interconnect)或雙極板(bipolar separator)組成。
固體氧化物燃料電池的工作原理與其他燃料電池相同,在原理上相當於水電解的“逆”裝置。其單電池由陽極、陰極和固體氧化物電解質組成,陽極為燃料發生氧化的場所,陰極為氧化劑還原的場所,兩極都含有加速電極電化學反應的催化劑。工作時相當於一直流電源,其陽極即電源負極,陰極為電源正極。
在固體氧化物燃料電池的陽極一側持續通入燃料氣,例如:氫氣(H)、甲烷(CH)、城市煤氣等,具有催化作用的陽極表面吸附燃料氣體,並通過陽極的多孔結構擴散到陽極與電解質的界面。在陰極一側持續通入氧氣或空氣,具有多孔結構的陰極表面吸附氧,由於陰極本身的催化作用,使得O得到電子變為O ,在化學勢的作用下,O 進入起電解質作用的固體氧離子導體,由於濃度梯度引起擴散,最終到達固體電解質與陽極的界面,與燃料氣體發生反應,失去的電子通過外電路回到陰極。
單體電池只能產生1V左右電壓,功率有限,為了使得SOFC具有實際套用可能,需要大大提高SOFC的功率。為此,可以將若干個單電池以各種方式(串聯、並聯、混聯)組裝成電池組。 SOFC組的結構主要為:管狀(tubular)、平板型(planar)和整體型(unique)三種,其中平板型因功率密度高和製作成本低而成為SOFC的發展趨勢 。
特點
SOFC與第一代燃料電池(磷酸型燃料電池,簡稱PAFC)、第二代燃料電池(熔融碳酸鹽燃料電池,簡稱MCFC)相比它有如下優點:(1)較高的電流密度和功率密度;(2)陽、陰極極化可忽略,彼化損失集中在電解質內阻降;(3)可直接使用氫氣、烴類(甲烷)、甲醇等作燃料,而不必使用貴金屬作催化劑;(4)避免了中、低溫燃料電池的酸鹼電解質或熔鹽電解質的腐蝕及封接問題;(5)能提供高質餘熱,實現熱電聯產,燃料利用率高,能量利用率高達80%左右,是一種清潔高效的能源系統;(6)廣泛採用陶瓷材料作電解質、陰極和陽極,具有全固態結構;(7)陶瓷電解質要求中、高溫運行(600~1000℃),加快了電池的反應進行,還可以實現多種碳氫燃料氣體的內部還原,簡化了設備。
除了燃料電池的一般優點外,SOFC還具有以下特點:對燃料的適應性強,能在多種燃料包括碳基燃料的情況下運行;不需要使用貴金屬催化劑;使用全固態組件,不存在對漏液、腐蝕的管理問題;積木性強,規模和安裝地點靈活等。
固體氧化物燃料電池具有燃料適應性廣、能量轉換效率高、全固態、模組化組裝、零污染等優點,可以直接使用氫氣、一氧化碳、天然氣、液化氣、煤氣及生物質氣等多種碳氫燃料。在大型集中供電、中型分電和小型家用熱電聯供等民用領域作為固定電站,以及作為船舶動力電源、交通車輛動力電源等移動電源,都有廣闊的套用前景 。
發展
固體氧化物燃料電池的開發始於20世紀40年代,但是在80年代以後其研究才得到蓬勃發展。早期開發出來的SOFC的工作溫度較高,一般在800~1000℃。科學家已經研發成功中溫固體氧化物燃料電池,其工作溫度一般在800℃左右。一些國家的科學家也正在努力開發低溫SOFC,其工作溫度更可以降低至650~700℃。工作溫度的進一步降低,使得SOFC的實際套用成為可能 。
存在問題
(1)啟動時間長。
因操作溫度在650~1000℃,為保護電池組件,升溫速率不能太快,5-10℃每分鐘升溫,啟動時間在65分鐘至200分鐘;
(2)成本高
常用電極材料含貴金屬、稀土元素,導致原料成本高;
(3)壽命
固體氧化物燃料電池的壽命仍需考證 。

