簡介
反應蒸鍍法就是把活性氣體導入真空室,使活性氣體的原子、分子和從蒸發源蒸發出來的原子、分子發生反應,然後沉積在基片上製備成化合物薄膜的一種方法。
粒子間的反應可以在空間(氣相狀態下),也可以在基片上進行。反應的進行與蒸發溫度、蒸發速率、反應氣體的分壓強和基片溫度等因素有關。待蒸發的材料可以是金屬、合金或低價化合物。反應蒸鍍不僅用於熱分解嚴重的材料,而且用於因飽和蒸氣壓較低而難以採用熱蒸發的材料。
反應蒸鍍法及工藝過程
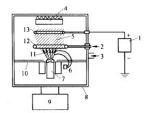
反應蒸鍍法是由加利福尼亞大學Banshah教授於1972年首先發明的,有人稱之為班薩法,這種方法具有廣泛的實用價值。下圖是典型的反應蒸鍍法的示意圖。
反應蒸鍍法的示意圖真空室分鍍膜室和電子槍工作室,其間以差壓板相隔。一般分別採用獨立的抽氣系統,保證在工作時,兩室有一定的壓差。離子鍍室的工作壓力為10 ~10 Pa,以便使放電、離子化、化學反應、沉積等得以順利進行;電子槍室的真空度為10 Pa以上,以便電子槍在較高的真空度下正常工作,各得其所。差壓板還能防止蒸發物飛濺落入電子槍工作室中。蒸發源採用e型電子槍。在蒸發源坩堝與工件之間裝有探極,它一般用Φ2mm~Φ5mm的鉬絲加工成環狀或網狀。探極上加25~40V的正偏壓,也可加150~250V。工件上方裝電阻加熱烘烤源,並以熱電偶測溫。
套用
反應蒸鍍法常用於製備高熔點的化合物薄膜,。例如在蒸發Ti時,加入CH氣體,可獲得硬質膜TiC;在蒸發Al時,加入NH氣,可製備AIN薄膜;又如蒸發SnO-InO混合物製備ITO透明導電膜時,通常 需要導入一定量的O
