列車自動保護系統
列車列車自動保護系統(Automatic Train Protection,簡稱:ATP),亦稱列車超速防護系統,其功能為列車超過規定速度時即自動制動,當車載設備接收地面限速信息,經信息處理後與實際速度比較,當列車實際速度超過限速後,由制動裝置控制列車制動系統制動。
概要
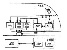
ATP系統示意圖ATP系統示意圖列車自動保護系統,(ATP) ,是用以防止列車超速,相撞及其他因列車行駛時可能出現的危險情況。系統會通過路軌把最高安全速度限制訊號傳送至列車;並持續將列車的實際速度與這最高安全速度作比較。如列車實際速度超過最高安全速度,系統便會指令列車作緊急制動,以避免列車超速,同時系統亦會確保列車在緊急制動時,前方有足夠未占用的路段讓列車停下而不致相撞。
防護系統
設備部分
1、地面設備通常情況下由自動閉塞設備構成。
2、車載設備由機車感測器、信息處理系統、顯示屏、測速系統、速度比較系統和制動控制部分組成。
3、有別於舊有的自動列車警報裝置(AWS)與自動列車停止裝置(ATS)B型和S型之單點警告及控制,通過警告及控制點後,該ATW/ATS-B或S系統無法限制或監視行車速度,而ATP系統即具有全程速度監控之功能。
功能部分
1、地面設備功能
2、檢測列車位置。
3、根據先行列車位置以及進路情況確定後續列車的限制速度。
4、向列車傳遞限速信息。
5、車載設備功能
6、接受限速信息並顯示。
7、列車超過規定速度時自動制動。
工作原理
列車自動保護系統列車自動保護系統
1、車載設備接收地面限速信息,經信息處理後與實際速度比較,當列車實際速度超過限速後,由制動裝置控制列車制動系統制動。
2、以達到列車在停車點前停車或在限速點前實際速度小於限速值的目的。
3、列車自動保護系統是列車自動保護裝置,是防止列車相撞的重要裝置,一般情況下前車若因故停車,後車的ATP系統就會接收到減速甚至在安全區間內停車的信號;所有的動車組都裝有這套ATP系統。
自主研發
1、由中國通號研製開發、基於數字軌道電路的ATP系統,是當前中國最先進、並代表國際先進水平的列車自動防護系統,基於數字軌道電路的ATP系統均由國外進口,價格昂貴,維修服務費高。為了適應中國大城市高運量、高密度城軌列車對高技術水平的國產信號系統的需求,中國通號於1999年向國家申報了城市軌道交通信號系統國產化項目,得到國家計委和鐵道部的大力支持,並被國家計委正式立項。經過同清華大學、北方交大共同開發,終於研製出了具有自主智慧財產權的國產化ATP系統,2002年10月通過鐵道部技術審查,現場試驗運行良好。
2、中國通號開發的ATP系統所採用的控制技術同廣州捷運運用的西門子的系統、上海捷運2 號線運用的USS公司的系統是相同的,屬國際先進水平,但同比價格低1/3以上,而且具有配件及時、維修快捷、大大降低維修和服務費用的優勢。
組成特點
1、ATP系統採用目前國際最先進的基於數位化軌道電路技術的一次制動曲線控制模式,即目標距離控制模式,能夠有效地提高列車運行效率,保證列車運行安全。該系統由ATP區域控制中心、數位化軌道電路和ATP車載設備三大部分組成。
2、系統主要特點是滿足城軌列車追蹤間隔2分鐘的系統要求,使同一線路上運行的列車能夠以最小追蹤間隔安全運行;適用於城軌交通系統的直流1500V牽引接觸網供電方式和直流750V三軌供電方式;按機車速度信息顯示人工駕駛運行,取消了區間地面信號機;採用開放式體系結構和模組化設計,並預留了擴展至ATC的接口,與ATS和ATO系統的接口,可適應將來的無線傳輸系統,實現移動閉塞的功能。
技術特徵
列車自動保護系統
列車自動保護系統1、在計算機聯鎖與地面ATP之間,將發碼電路與編碼邏輯控制電路合併,用硬體實現發碼,用軟體實現編碼邏輯控制。
2、採用ZFFT+GOERTEL算法高可靠識別處理ATP信號技術。
3、在安全模組之間運用1024HZ的健康鏈路檢控隨機系統故障技術。
4、安全模組內部以分散式A、B機方式的故障-安全門與迴繞健康鏈路檢控隨機系統故障技術。
5、軟體採用業務流程與質檢流程模式構成ATP信號邏輯與故障輸出控制技術。
6、採用標準脈衝注入分散式軟、硬體處理信號故障,利用 “安全與”的故障-安全測檢控技術處理隨機共模故障。
7、在通信套用層額外增加安全核方式,提高匯流排通信可靠性,容錯技術增強通信安全性技術。
8、在工程套用中建立了適合國內軌道道床施工條件的調諧區計算公式和測試方法。
典型案例
列車自動保護系統
列車自動保護系統1、7·23甬溫鐵路動車追尾事故可能與ATP系統故障有關。CRH1和CRH3系列的車在ATP系統里還裝有一個DSD系統,即有一個司機觸發器,司機必須隔30秒左右觸發一次,以確保司機沒有走神或睡著,否則就會自動停車,相對更安全;出事的D301是CRH2E動車,沒有這個系統。但只要後面的車ATP沒有壞,撞上去的可能性不大。應該懷疑是後方列車的ATP處於隔離模式,或者故障。”
2、早在2007年4月鐵路部門宣稱,其在膠濟線進行的最後一次高速動車組運行安全測試取得成功,此舉被視為全國鐵路第六次大提速的安全準備工作全部就緒的標誌。
3、這套車載監控系統,能使司機對列車運行狀態了如指掌,甚至連車門開關是否到位,都會自動顯示報警。不僅如此每列動車組在投入運營前都進行了反覆的模擬運行試驗。 原鐵道部副總工程師兼運輸局局長張曙光當時還聲稱鐵道部門先後進行了40000萬多公里的動車運行試驗,而運行試驗的結果證明,一套由我國自主研發的自動閉塞系統,可將高速運行的兩列動車組的間隔時間控制在5分鐘。
4.2018年10月21日下午4時50分許,中國台灣台鐵普悠瑪6432次列車在宜蘭新馬車站發生出軌事故,8節車廂全部出軌。事故目前已造成18人死亡、190人受傷,據悉事故原因是普悠瑪號列車出軌傾覆時,車輛“ATP”(列車自動保護系統)作業系統關閉。

