交叉圓錐滾子軸承
交叉圓錐滾子軸承圖片特點
交叉圓錐滾子軸承(XR,JXR系列)的設計能在較小的空間內提供較高的鏇轉精確度和剛度,大幅度節省材料
交叉圓錐滾子軸承
滾子交叉排布尺寸範圍
內徑 101.600 mm 至 2463.800 mm (4.000 in. 至97.000 in.)
交叉滾子軸承圖片套用場合
工具機用精密鏇轉分度台
立式和臥式鏜床
立式磨床
鏇轉表面磨床
大型滾齒機
槍炮和雷達迴轉台
大型無線電和光學望遠鏡
鏇轉攝像機
顯微鏡台
桿中心支軸
鏇轉轉向架
焊接支架
大型油輪系泊浮筒
迴轉裝配夾具
工業機器人
精密鏇轉工作檯
醫療器械
計量器具
IC製造裝置
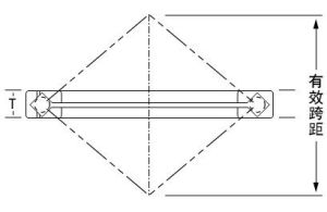
結構示意圖
該類軸承具有兩組滾道和滾子,相互呈直角組合,滾子交錯相對。軸承的橫截面高度與單列軸承相似,因此節省了空間和軸承座材料,大錐角和錐形幾何設計使軸承總體有效跨距是軸承自身寬度的幾倍。
交叉圓錐滾子能承受高傾覆力矩,適用於工具機,包括立式鏜床和磨床工作檯、工具機精密圓分度工作檯、大型滾齒機、轉塔、工業機器人等。
設計和結構特點
有效跨距大滾道和滾子構造上的線接觸提供了最大鏇轉精度、高穩定度和更大的傾斜剛度。
預負荷的可調節設計延長了軸承壽命,在最大限度內加大了剛度並提供了最小跳動。
尼龍隔圈慣性較低,運行扭矩較小。
高的鏇轉精確度和剛度,大幅度節省材料成本。
軸承的夾角和錐形幾何形狀使得軸承有效跨度要比軸承本身的實際寬度大好幾倍。




技術參數表
軸承型號 | 基本尺寸(mm) | 基本額定動載荷 | 極限轉速 油潤滑 | 重量 (Kg) | ||||
內圈 d | 外圈 D | 寬度 T | 倒角 r(min) | 徑向 KN | 軸向 KN | |||
XR496051 | 203.2 | 279.4 | 31.75 | 1.5 | 41 | 49.2 | 800 | 6.5 |
XR678052 | 330.2 | 457.2 | 63.5 | 3 | 80 | 98.4 | 620 | 35 |
XR766051 | 457.2 | 609.6 | 63.5 | 3 | 106 | 133 | 520 | 51 |
XR820060 | 580 | 760 | 80 | 5 | 106 | 209 | 300 | 100 |
XR855053 | 685.8 | 914.4 | 79.375 | 3 | 180 | 224 | 260 | 150 |
XR882055 | 901.7 | 1117.6 | 82.55 | 3 | 225 | 297 | 200 | 185 |
XR889058 | 1028.7 | 1327.15 | 114.3 | 3 | 283 | 374 | 160 | 400 |
XR897051 | 1549.4 | 1828.8 | 101.6 | 3 | 326 | 489 | 80 | 500 |
JXR637050 | 300 | 400 | 37 | 1.5 | 47.2 | 60 | 720 | 13 |
JXR652050 | 310 | 425 | 45 | 2.5 | 61.6 | 76.5 | 640 | 20 |
JXR699050 | 370 | 495 | 50 | 3 | 70.2 | 89.2 | 600 | 30 |
