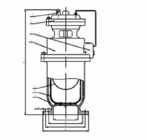
結構圖
QSP全壓高速排氣閥QSP型全壓高速雙口排氣閥是國內目前最先進的氣缸式排氣閥,在結構性能上完全超越了普通高速(雙口)排氣閥和複合式雙口排氣閥,對於管道中的氣體,無論是多段水柱,氣柱相間,有壓無壓均可連續高速排出管道,浮球不頂在排氣口上,不存在卡壞問題,少量氣體可通過微孔排出,管道出現負壓時可注氣,防氣染並緩衝水錘升壓,解除新建管路試車之險,排氣之難,減少城市管網爆管事故,減阻節能,減少壓力震盪,提高整個供水系統及各種設備的安全可靠性。
二、引用標準
設計與製造標準:CJ217-2005
主要安全性能標準:GB17219-92
試驗和檢驗標準:GB13927-92
壓力溫度等級標準:GB19131-92
三、主要用途及適用介質
本系列排氣閥採用法蘭連線,適用於壓力為1.0~1.6Mpa,工作溫度≤100℃的電廠循環水管道、水庫取水工程、電廠輸水管道化工、自來水公司輸水管等各種工礦的管路上,吸氣和排氣。
使用介質:清水類等
四、作用原理
本閥由下閥體,中閥體,浮筒,浮筒桿,閥芯,蓋板,活塞桿,膜片及閥蓋等組成的全壓高速排氣閥,其特徵是通過銷軸與浮筒鉸接的浮筒桿可繞主軸轉動,並由此實現通過浮筒升降控制閥芯的升降啟閉,即當浮筒下降(閥體裡充滿氣體)時,閥芯上升,打開小閥口,並關閉小排氣帽上的排氣口,使氣體通過導管進入液壓罐內,當浮筒在浮力作用下上升時候,閥芯下降,關閉小閥口,同時打開排氣帽上的排氣口,使液壓罐通過導管,直通大氣泄壓,且當浮筒下降,液壓缸內充滿氣體時,閥門上的大排氣口自動關閉。當水泵停止,管內水流空時或遇到管內產生負壓時,吸入空氣,確保管線安全。
五、主要技術參數
| 型號 | 公稱壓力PN | 殼體試驗壓力 | 密封試驗壓力 | 適用溫度 | 適用介質 |
| QSP | 1.0Mpa | 1.5Mpa | 1.1Mpa | 0-80℃ | 清水類 |
| 1.6Mpa | 2.4Mpa | 1.76Mpa |
六、主要零件材料說明
| 序號 | 1 | 2 | 3 | 4 | 5 | 6 | 7 |
| 零件名稱 | 閥體 | 導向護桶 | 浮筒 | 大排氣組件 | 小排氣組件 | 汽缸組件 | 破壞閥 |
| 材料牌號 | 鑄鋼 | 不鏽鋼 | 不鏽鋼 | 組合件 | 組合件 | 組合件 | 銅 |
七、結構圖
QSP全壓高速排氣閥結構圖八、法蘭連線外形尺寸圖
| 公稱通徑 | PN(Mpa) | H | D | D1 | D2 | Z-d |
| 50 | 1.6 | 620 | 165 | 125 | 99 | 4-18 |
| 80 | 1.6 | 620 | 200 | 160 | 132 | 8-18 |
| 150 | 1.6 | 740 | 285 | 240 | 211 | 8-22 |
| 200 | 1.6 | 780 | 340 | 295 | 266 | 8-22 |
| 250 | 1.6 | 820 | 405 | 355 | 319 | 12-22 |
| 300 | 1.6 | 850 | 460 | 400 | 370 | 12-26 |
九、安裝位置
1、水泵出口,逆止閥之前的橫管上,在水泵啟動時排氣,停車時呼氣。
2、管路下坡處的橫管上。
3、當水泵停止時,可能造成真空或負壓處。
4、長距離管線中,每隔1-1.5公里處的橫管處。
5、橫管的最高處,立管的頂端。
十、安裝注意事項
1、排氣閥應豎直安裝在橫管上。
2、為方便於維修,排氣閥的下方應安裝一隻隔離閥。
3、排氣閥不得安裝於強酸或強鹼的環境中。
4、通天排氣閥應該採取防凍措施,一般需砌窯井加以保護及防凍。
