簡介
電磁螺旋壓磚機(electromagnetie screw pr-ess)是指按照直線電動機的原理,依靠電磁力矩直接駁動飛輪轉動的成型設備。由兩台直線電動機的圓弧形定戶和用飛輪(平輪)作直線電動機的轉子,組成直線電動機,當接上電源後,電動機定於與轉子(飛輪)之間產生定向、定速、定幅的旋轉磁場,由於電磁感應作用,在轉子上產生電磁轉矩,驅動轉子作定向轉動,帶動絲桿和沖頭作定向垂直運動、改變定子上電源電壓的相序,就可改變磁場旋轉方向,從而使絲桿和沖頭的運動方向也改變。這樣,絲桿和沖頭進行上下運動,即可起到了壓磚和出磚的作用 。
設備結構
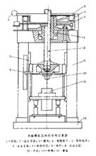
設備結構見圖1 。
圖1特點
電磁螺旋壓磚機採用無接觸式傳動及斷續通電方式工作,既可節省摩擦介質材料,又能減少耗電量,而且電磁螺旋壓磚機的絲桿不承受側壓力,所以主要部件磨損小,升降平穩。磚坯受壓均勻。但此類壓磚機為定速衝壓式壓磚機構,其能量及壓制力都較小,故只套用於要求成型壓力較低的壓磚機 。

