定義
對於一個被控變數釆用兩個操縱變數進行控制稱為雙重控制。
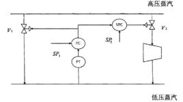
對於一個被控變數釆用兩個操縱變數進行控制的控制系統稱為雙重控制系統。這類控制系統釆用不止一個控制器,其中有一個控制器的輸出作為另一個稱為閥位控制器的測量信號。
此系統釆用兩個操作變數,其中一個操作變數滿足經濟性和工藝合理性,但對干擾的克服不夠及時有效;而另一個操作變數滿足有效性和快速性,但是經濟性和工藝合理性較差。雙重控制系統是綜合這些控制變數的各自優點,克服各自弱點進行最佳化控制的系統。
基本原理
雙重控制由於雙重控制迴路的存在,雙重控制系統先通過主控制器的調節作用,將主被控變數快速回復到設定值然後在偏差較小的同時,雙重控制系統又充分發揮副控制器的調節作用,從根本消除偏差,使副控制變景回復到理想設定值r。其結構相對於串級控制系統,雙重控制系統主控制器的輸出作為副控制器的測量,而串級控制系統則作為副控制器的設定。因此,串級控制系統的兩個控制迴路是串聯的,雙重控制系統的兩個控制迴路是並聯的。
優勢
1)由於雙迴路的存在增加了開環零點,改善了控制品質,提高了系統的穩定性。
2)雙重控制系統的的工作效率也能得到提高。
3)動靜結合,快慢結合,急則治標,緩則治本。這裡的”快”指動態性能好,慢指靜態性能好。由於雙重控制系統較好的解決了動靜的矛盾,達到了操作最佳化的目的。
問題
操縱變數選擇
雙重控制系統有兩個或者兩個以上的操縱變數,其中,一個操縱變數具有較好的靜態性能,工藝合理,而另一個操縱變數具有較快的動態回響。因此,主操縱變數應該選擇較快的動態回響的操縱變數,副操縱變數則選擇有較好靜態性能的操縱變數。
控制器選擇
雙重控制系統的主、副控制器均起定值控制作用,為了消除余差,主、副控制器均應選擇具有積分控制作用的控制器,通常不加入微分控制作用,當快被控對象的時間常數較大時,為加速主對象的回響,可適當加入微分。對於副控制器,由於起緩慢的調節作用,因此,也可選用純積分的控制器。
控制器正反
雙重控制系統的主、副控制器迴路是並聯單迴路,主、副控制器正、反作用的選擇與單迴路控制系統中控制器正、反作用選擇方法相同。一般先確定控制調的氣開、氣關形式,然後根據快回響被控對象的特徵確定主控制器的正、反作用方式,最後根據慢回響被控對象的特徵確定副控制器的正、反作用方式。
參數整定
雙重控制系統的投運與簡單控制系統投運相同。在手自動切換時應該無擾動切換;投運方式是先主後副,即先使快回響對象切入自動,然後再切入慢回響控制迴路。
主控制器參數整定與快回響控制系統的參數整定相似,要求具有快的動態回響;副控制器參數整定以緩慢變化,不造成對系統的擾動為目標,因此,可採用寬比例度和大積分時間,甚至可採用純積分作用。整定步驟:先將閥位控制器處於手動情況下,按單迴路系統整定方法整定主控制器的參數;然後將整定好的主控制器參數放好,使主控制器處於自動狀態,最後按同樣的方式整定閥位控制器的參數。
研究進展
現階段,雙重控制系統作為一種成熟的控制方案,已被大量的仿真和套用於工業實際生產之中,如噴霧乾燥系統、蒸汽減壓系統、換熱器出口溫度控制系統、原油出口溫度系統等,都取得了不錯的生產效益。

