基本結構
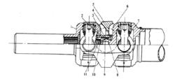
圖2 結構圖 2為雙聯式萬向節的結構實例。在萬向節叉6 的內端有球頭,與球碗9 的內圓面配合,球碗座2則鑲嵌在萬向節叉1內端。球頭與球碗的中心與十字軸中心的連線中點重合。
工作原理及性能特點
當萬向節叉6相對萬向節叉1在一定角度範圍內擺動時,雙聯叉5也被帶動偏轉相應角度,使兩十字軸中心連線與兩萬向節叉1和6的軸線的交角(即圖1中的α1 和α2)差值很小,從而保證兩軸角速度接近相等,其差值在容許範圍內,故雙聯式萬向節具有準等速性。
雙聯式萬向節用於轉向驅動橋時,可以沒有分度機構,但必須在結構上保證雙聯式萬向節中心位於主銷軸線與半軸軸線的交點,以保證準等速傳動。
雙聯式萬向節允許有較大的軸間夾角,具有結構簡單、製造方便、工作可靠等優點。

