簡介
圖1 轉子繞組電樞繞組由一定數目的電樞線圈按一定的規律連線組成,他是直流電機的電路部分,也是感生電動勢,產生電磁轉矩進行機電能量轉換的部分。線圈用絕緣的圓形或矩形截面的導線繞成,分上下兩層嵌放在電樞鐵心槽內,上下層以及線圈與電樞鐵心之間都要妥善地絕緣,並用槽楔壓緊。大型電機電樞繞組的端部通常緊扎在繞組支架上。電樞繞組分直流電樞繞組和交流電樞繞組兩大類。它們分別用於直流電機和交流電機。 通常採用雙層繞組。線圈的有效部分包含左、右兩個有效邊。放在槽內且靠近槽口的有效邊叫上層邊,靠近槽底的有效邊叫下層邊。同一槽中上下層間用絕緣紙隔開。同一線圈上下兩有效邊沿圓周方向的距離即為線圈的跨距,通常用槽距(兩相鄰槽間距離)的倍數表示。跨距約等於一個極距(相鄰兩磁極的距離,也常用槽距的倍數表示)。
主要分類
直流電樞繞組分疊繞組、波繞組和蛙繞組3種。每個線圈的兩個出線端連線到換向器的兩個換向片上,兩者在換向器圓周表面上相隔的距離稱為換向器節距,用Y表示。不同形式的繞組具有不同的換向器節距。
疊繞組
圖2 轉子繞組有單疊繞組和復疊繞組之分。單疊繞組是將同一磁極下相鄰的線圈依次串聯起來,構成一條並聯支路,所以對應一個磁極就有一條並聯支路。單疊繞組的基本特徵是並聯支路數等於磁極數。各條支路間通過電刷並聯。單疊繞組線圈的換向器節距Y=1。Y>1者稱復疊繞組。比較常用的是Y=2的復疊繞組,又稱雙疊繞組。雙疊繞組在一個磁極下有兩條並聯支路。例如一台四極直流電機,採用雙疊繞組時,共有8條並聯支路。各條支路間也是通過電刷並聯。電刷組數等於電機的極數。其中一半為正電刷組,另一半為負電刷組。疊繞組的並聯支路數較多,它等於極數或為極數的整倍數,所以又叫並聯繞組。
波繞組
有單波繞組和復波繞組。單波繞組的特點是將同極性下的所有線圈按一定規律全部串聯起來,形成一條並聯支路。所以整個電樞繞組只有兩條並聯支路。波繞組線圈的換向器節距式中P為磁極對數;k為換向片數;a為使Y等於整數的正整數,它等於波繞組的並聯支路對數。單波繞組的a=1,而a=2的復波繞組稱雙波繞組,它可以看成是由兩個單波繞組並聯而成的復波繞組,故有4條並聯支路;a>2者可類推,但用得很少。波繞組從並聯電路連線原理上說,只需兩組電刷,即一組正電刷和一組負電刷。然而,通常直流電機中波繞組的電刷組數仍然等於其極數,這是為了減輕電刷和換向片接觸面上的電流負荷,從而可以縮短換向器的長度。此外,對線圈電流的換向也有好處。直流電樞繞組常由於某種原因造成各並聯支路的電流不均勻分配,使銅耗增加,電樞繞組過熱;有時也會使電刷下發生有害的火花,給電機運行帶來不利影響。將電樞繞組內部理論上的等電位點用導線直接連線,就可以改善電機的運行條件。專門為此而設定的連線導線稱為均壓線。
蛙繞組
由適當配合的疊繞組和波繞組混合而成的一種直流電樞繞組。疊繞組和波繞組的線圈接在同一換向器上並聯工作。由於其線圈組合的外形很像青蛙而得名。這種繞組因波繞組線圈和疊繞組線圈之間互相起著均壓線作用,故無需另外加接均壓線。採用蛙繞組的直流電機有良好的運行性能,故其套用日益廣泛。電樞繞組是直流電機的核心部分。當電樞在磁場中鏇轉時,電樞繞組中會感應電動勢,當電樞繞組中有電流流過時,會產生電樞磁動勢,它與氣隙磁場相互作用,又產生電磁轉矩,電動勢與電流相互作用,吸收或放出電磁功率,電磁轉矩與轉子轉速相互作用,吸收或放出機械功率。二者同時存在,構成電磁能量與機械能量的相互轉換,完成直流電機的基本功能。因此,電樞繞組在直流電機中起著重要的作用。
常見故障及處理方法
接地故障
轉子繞組接地是發電機運行中較易發生的故障,又是嚴重影響發電機安全運行的故障。正常運行狀態下,發電機轉子繞組對地之間有一定的絕緣電阻與分布電容。其絕緣電阻一般大於1Ω,水冷繞組轉子因有絕緣引水管,在通水狀態下的絕緣電阻僅為數千歐。因某種原因絕緣電阻嚴重下降或對地絕緣損壞時,最常見的即是一點接地故障。此時,因未形成電流迴路,對電機運行尚無直接影響。但是,一點接地故障存在後,如切合勵磁開關及發電機出口斷路器,或發生其他運行事故,轉子迴路產生過電壓時,將有可能導致另外的接地點出現形成,嚴重威脅發電機安全運行的兩點或多點接地事故。此時,發電機將出現不同程度地振動加劇、機組大軸磁化、局部燒損轉子繞組絕緣及轉軸的嚴重後果。
處理方法:
對接地故障的處理方法是,更換有關部位的絕緣材料。具體做法是:將汽側護環下25、26槽線包間的絕緣碳化物以及25、26槽第1匝至第4匝間的絕緣碳化物清除乾淨,並用吸塵器反覆吸3~5遍,然後用清洗劑清洗2~3遍後換上新的絕緣層和絕緣墊塊。將原先鬆動的6塊絕緣墊塊進行更換和位置調整,並使鬆緊程度恰當。
匝間短路故障
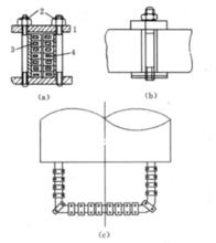
圖3發電機轉子繞組匝間短路故障是其運行中的一種常見故障。嚴重時將會影響發電機的無功出力,如是不對稱的匝間短路會導致發電機組振動加劇,也可能進一步導致轉子繞組對地絕緣損壞,進而發展成為接地故障,對發電機組本身的安全穩定運行構成很大的威脅。
處理方法:
1.確定短路匝數與位置
當轉子繞組發生匝間短路時,必須進行有關的檢驗,確定短路匝數及位置。根據現場經驗,轉子繞組常存在不穩定的匝間短路。當轉子靜止或拉出護環後,由於線匝彈起,匝間短路消失,但裝上護環或轉子運行時,匝間短路仍然存在。為消除此隱患,必須尋找出不穩定的匝間短路點。這時可用幾十對專用壓板夾在繞組端部及拐角處,如圖3所示,對繞組逐個逐點加壓,模擬護環的熱套緊力和繞組運行中產生的離心力,然後通過電壓降法逐個試驗,就可找出故障點。
2.對故障點處理
圖4匝間短路點找出之後,可用圓鋼做的L形工具將短路匝略微撬開一點,如圖4所示,將損壞的絕緣清理乾淨,線上匝之間墊以刷有矽有機漆作黏合劑的雲母板,然後壓平撬開的線匝即可。
3.檢查與裝復
匝間絕緣全部處理完好後,應再次檢查絕緣情況,合格後,清理、檢查端部各處無遺物,按原記號裝好端部墊塊,在繞組表面噴一層防油絕緣漆。最後裝復護環、中心環和風扇等。

