簡介
輻射騷擾主要是指能量以電磁波的形式由源發射到空間,或能量以電磁波形式在空間傳播的現象。輻射騷擾是電磁兼容的重要內容,也是測試最不容易通過且最難整改的項目。
輻射騷擾超標的產品可能引起周圍裝置、設備或系統性能降低,干擾信息技術設備或其他電子產品的正常工作,並對人體造成一定危害。
原理
輻射騷擾專項抽檢輻射騷擾是電腦、GPS導航等工作時向空間發射的一種電磁波干擾,這種干擾會影響其他電器特別是高靈敏度電器的正常工作,組成整機系統的主機板、顯示卡、開關電源、顯示器、鍵盤、滑鼠等,若選購不好都會引起輻射騷擾超標。
不合格原因
造成輻射騷擾不合格的主要原因是生產廠家為了降低成本,沒有採取干擾抑制措施,偷工減料。也有一部分是技術能力達不到要求的小公司不懂該項指標,或者沒有能力解決輻射騷擾問題。
部分企業重視輻射騷擾檢測,開發出來的產品能夠一次通過測試;但多見的情況是樣品經過艱辛整改才勉強合格;有很多IT數碼產品本來就容易發生輻射騷擾超標,要依靠EMC設計才能有效解決問題,但企業在產品開發階段根本沒有考慮EMC設計,也沒有進行相應EMC測試以驗證設計方案就投入量產,致使大量產品最終檢驗不合格而需要整改。
危害
輻射騷擾超標往往會干擾其他電子設備運行,影響人體健康。
電腦輻射騷擾
這種騷擾可能幹擾其他電器,特別是高靈敏度電器的正常工作,嚴重時會影響電壓的穩定,還會影響同一電網內其他電器正常使用。
GPS導航輻射騷擾
不合格的GPS導航產品在使用時,不僅會影響其他車載電子產品的正常使用,也會干擾駕車人或乘車人攜帶的手機、藍牙耳機等電子設備,尤其是會對一些病人的生命維持電子設備造成干擾,比如心臟病人安裝的起搏器等。同時,GPS導航的輻射也與手機類似,使用輻射騷擾不合格的汽車GPS導航產品,其輻射強度相當於一部通話中的手機,長久使用也會對人體健康造成不良影響。
測試方法
實驗室測試
測試依據
分級
表1 ITE分級註:生活環境是指“那種有可能在離相關設備10m遠的範圍內使用廣播和電視接受機的環境”。
在以下場所使用的ITE屬於B級,如: 住宅區,如四合院、公寓等;商業區,如商場、超市等;商務區,如寫字樓、銀行等;公共娛樂場所,如電影院、餐廳、舞廳等;公用戶外場所,如加油站、停車場、體育中心等;輕工業區,如車間、實驗室等。
限值
表2 A級和B級ITE輻射騷擾場強的限值(10m)式中:L1——距離d1處規定的限值;L2——距離d2處規定的限值。
如場強單位使用dbμV/m,則公式變為:L2dB=L1dB+20lg(d1/d2)。 )(見表2)
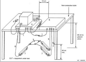
試驗程式
圖2 輻射騷擾測量中台式EUT布置示意圖(1)如果懸垂電纜的末端與水平接地平板之間的距離不足40cm,又不能縮短至適宜的長度,那么電纜的超長部分應來回摺疊成長30~40cm的線束。
(2)不與外設相連的I/O信號電纜的末端,如果由於操作的需要,可以使用適當的終端阻抗與電纜的末端相連。
(3)多插座的電源盒應與金屬接地平板等高,並直接接到接地平板上。(注:如果使用人工電源網路(AMN),該AMN應安裝在水平接地平板的下面。)
(4)手動操作的裝置(如鍵盤、滑鼠等)的電纜應按正常使用時的位置放置。
(5)除了顯示器,外設相互之間及外設與控制器之間的距離應為10cm;如果條件允許,顯示器應直接放在控制器的上面。
(6)電源電纜應垂落至地面,然後與插座相連。電源插座與電源線之間不應增加額外的電源線。
測試人員要嚴格按照圖2進行試驗布置和連線,針對不同的EUT,選擇相應的限值(A級或B級),選擇EUT的工作狀態,並使EUT投入運行。
家庭測試
當開關電腦時,收錄機發出不正常雜音、電視螢幕出現短暫的圖像失真,說明家裡的電腦電磁輻射超標。
部分輻射騷擾事件
部分汽車導航輻射超標2011年2月15日晚11時許,在海雲庵青島民俗館的三樓發生持刀傷人事件,一名雕刻藝人自稱受到輻射騷擾,在打碎三樓通道的玻璃之後,與隨後趕來的保全發生爭執,用刀將三名保全捅傷,其中一名保全於16日6時許因失血過多搶救無效身亡。
2011年5月9日,上海市工商行政管理局發布通告稱,對上海市部分超市、商場、專賣店銷售的電子詞典、數碼播放器等手持式個人信息處理設備進行了質量監測。監測結果顯示,多種產品輻射騷擾超標,好記星的V1+全能王升級版英語掌上電腦也在超標之列。
2013年4月8日,國家質檢總局公布了汽車GPS導航產品質量國家監督抽查結果,12批次不合格產品中,高達11批次產品輻射騷擾/輻射干擾場強這一項不合格。
