原理
老鼠、蝙蝠這類動物都是以超音波進行溝通的,鼠類的聽覺系統非常發達,對超音波非常敏感,能在黑暗中判斷聲音的來源,幼鼠在受到威脅時可發出30-50kHz的超音波,在沒睜眼時就能靠發出的超音波和回聲回巢(國外參考文獻:Allin and anks1971:Carden and Hofer 1992),成年鼠在遇到危機時可發出一種超音波呼救,在交配時也可發出超音波表示快樂,可以說超音波是鼠類的語言。鼠類的聽覺系統是在200Hz-90000Hz(國外參考文獻:Fay 1988,Warfield 1973,and The Nature of Sound),如果能利用一種強大的高功率超音波脈衝對鼠類聽覺系統進行有效的干擾和刺激,使其無法忍受,並感到恐慌及不安,表現出食欲不振、逃離、甚至抽搐等症狀,從而就能達到將該鼠類驅除出他們活動範圍的目的。
作用
超音波驅鼠器是一種利用專業的電子技術設計和經過科學界對鼠類的多年研究,研製出能夠產生20kHz-55kHz超音波的一種裝置,該裝置所產生出的超音波能夠有效刺激並能夠導致鼠類感覺到威脅及不安。這種技術來自於歐美先進的害蟲防治觀念,使用目的是為了創造一個“無鼠、無害蟲的優質空間”,創造害蟲、老鼠等無法生存的環境,迫使他們自動遷移,無法在防治區範圍內繁殖生長,達到根除老鼠、害蟲的目的。
產品特點
我公司的電子驅鼠器採用當今最新超音波和壓電陶瓷蜂鳴器等先進技術和材料,通過先進的電子電路產生周期性連續頻率的震撼性超音波。攻擊老鼠的聽覺和神經系統,迫使老鼠逃離現場,並不會使其產生“適應性”,對人體無毒害。套用超音波技術的驅鼠已經由來已久,但對老鼠逐漸習慣其固定超音波而失敗的缺陷,我們深入研究老鼠的生態和習性,開發設計出多重掃描變頻超音波(Multiplex Modulated Sweeping Ultrasonic Sonds),直接密集的強烈刺激和攻擊老鼠的知覺神經和腦中樞神經系統,使其十分痛苦,恐懼和不舒服,食欲不振,全身痙攣,繁殖能力降低,無法在此環境下生存而逃離該超音波放射區域。
製作方法
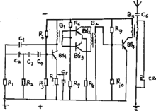
超音波驅鼠器製作方法一
超音波驅鼠器製作方法一超音波驅鼠器由超音波發生器、信號放大器、功率放大器和發射裝置組成,超音波發生器採用RC振盪電路,產生頻率為20KHz-35KHz的超音波信號,信號放大器採用推挽式放大電路,把信號放大到100-200毫瓦,再經過功率放大器將信號放大到3瓦左右,並通過發射裝置將鋸齒形超音波發射出去。
電路工作原理:見右圖
整個電路採取電磁耦合方式,以提高其效率,電路由220伏整流供給,採用9伏直流電源。
由電容C↓、C↓、C↓電阻R↓、R↓、R↓和三極體BG↓組成RC振盪電路,產生超音波信號,在三極體BG↓的基極上連線有偏流電阻R↓、耦合電容C↓、BG↓的發射極上連線有作為電路反饋的電容C↓、電阻R↓;由三極體BG↓、BG↓和電阻R↓、R↓、R↓組成推挽式放大電路,把超音波信號放大,其中R↓、R↓為偏置電路,R↓為電路反饋;由三極體BG↓和電阻R↓、R↓組成功率放大電路,其中R↓和R↓為偏置電路,信號經功率放大後通過變壓器B↓、電容C↓發射出去;上述振盪信號通過變壓器B↓和信號放大電路耦合,信號放大電路通過變壓器B↓和功率放大電路耦合。
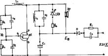
超音波驅鼠器製作方法二
超音波驅鼠器:由超音波發聲器件發出頻率為45KHz的超音波,使老鼠心臟跳動加快,形成恐慌,立足不住,從它的巢穴搬走,達到驅鼠的目的。
超音波驅鼠器由供電聯合取樣電路、頻率較正電路、施張振盪器、指示電路和超音波發聲器件組成。
超音波驅鼠器電路工作原理圖220V交流電壓經電阻R↓、電器C↓並聯降壓取樣,二極體D整流及電容C↓濾波後,得到直流電壓E↓[B],直流電壓E↓[B]由電感L↓、L↓和電阻R↓加到三極體BT的G極,電阻R↓和R↓為三極體BT的G極偏置提供電壓,同時,並聯在電感L↓上的電容C↓、並聯在電阻R↓上的電容C↓及並聯在電阻R↓上的電容C↓構成頻率補償較正電路,由頻率補償較正電路和三極體BT組合成施張振盪器,電阻R↓和發光二極體LED串聯構成指示電路,指示電路和超音波發聲器件SP並聯後一端接在E↓[B]上,另一端連線三極體BT的D極。
電源剛接通時,三極體BT處於截止狀態,接通電源後,220V交流電壓經電阻R1、電容C2並聯降壓取樣,二極體D整流及電容C1濾波後,得到直流電壓Eb,Eb通過電l1、l2和電阻R3對電容C3充電,V1按指數規律逐漸上升,當電容C3充電至峰點電壓時,三極體BT導通,電容C3經過三極體BT的G、S極放電,V1下降,放電電流流通產生輸出脈衝,三極體BT導通時,G、S間內阻很小,所以電容C3放電時間很短,當V1下降至谷點電壓時,管子又搬弄是非新截止,放電過程結束,完成一個工作周期,然後,電容C3被再次充電,周而復始,形成振盪,振盪頻率為45KHZ,振盪脈衝電流使指示燈LED發光指示,使壓電喇叭SP發出超音波。
超音波驅鼠器製作方法三
超音波驅鼠器,利用鼠類對於超音波的敏感程度比人類強200倍的特點,用電子線路產生高頻振盪,經超音波換能器產生超音波,用這種超音波對鼠類形成刺激,使之產出生理上的不良反應,破壞其正常的生活習性,而達到驅鼠的目的。
超音波驅鼠器由外殼,及殼內的產生低頻鋸齒波電壓的控制波發生器、產生高頻振盪的掃描波發生器和把電信號轉換成聲信號的電聲換能器組成。
超音波驅鼠器製作方法三控制波發生器的時基積體電路555的7腳經電阻和電源正極相連,7腳經電阻、電容串聯電路和電源負極相連,7腳經電容和5腳相連後又經一個電容和電源負極相連;掃描波發生器的時基積體電路555的5腳和電晶體的發射極相接,7腳經電阻和電源正極連線,7腳經電阻、電容串聯電路和電源負極連線、該串聯電路的公共端和2腳、6腳連線,3腳經電阻和電聲換能器串聯電路和電源負極連線。
控制波發生器的時基積體電路555的7腳與電源正極之間的電阻是個可變電位器,用於調節控制波的頻率。從而改變掃描方式,避免老鼠產生免疫力,保持超音波驅鼠器長期有效驅趕老鼠。
控制波發生器由IC1時基積體電路555及外圍元件的R1、R2、V1、C2、C3、C4組成,電位器V可以調節控制波發生器輸出的低頻鋸齒波的頻率,在C4上獲得的低頻鋸齒波電壓經電晶體BG的射極送給掃描波發生器。
掃描波發生器和功率放大器由IC2時基積體電路555及外圍元件R5、R6、C5、C6組成,電晶體BG的射極輸出的低頻鋸齒波電壓送給IC2的5腳,IC2的3腳輸出經過積體電路的內部進行功率放大的高頻振盪,這個高頻振盪的控制波電壓變化周期內,其振盪頻率在30KHZ到65KHZ範圍內自動變化。
電聲換能器由壓電陶瓷片HTD組成,HTD壓電陶瓷片將IC2的3腳輸出的高頻振盪轉換成聲信號輸出。
整個電路所需的電壓為直流電壓通過導線頭引入驅鼠器,C1為濾波電容。
超音波驅鼠器沒有效果原因的常見問題
首先要搞清楚你使用的是什麼驅鼠器,如果是所謂電磁波或紅外線的驅鼠器的話效果肯定沒有。如果是超音波驅鼠器的話,這有幾種可能性可能會影響使用效果,第一種是與使用環境有很大關係,比如說與貨物布局、房間間隔等,或物品(障礙物)的分布都有關係,如果防治區內物品密度太高,或者是貨物直接堆放在地上,或者有太多的死角等(即超音波無法通過反射或折射到達的地方),第二種可能性是和驅鼠器的擺放位置也有很大關係,如果說,驅鼠器的位置擺放的不好,形成的反射面較少時也會減弱驅鼠器的功效。第三種可能性是所購買的超音波驅鼠器的功率不夠,超音波在經過數次的反射或折射後,能量已經大大降低,甚至衰減至無法達到驅除老鼠目的,所以如果購買的驅鼠器功率太小,超音波就不可能發揮作用,請用戶在購買同類產品時必須注意相關指標。除此之外,如果防護空間太大,使用的驅鼠器數量不夠,而超音波不能將防治範圍完全復蓋的話,效果自然不會理想,在這種情況下應該考慮適當增加驅鼠器的數量或放置的密度。

