調速方法
變極對數調速
這種調速方法是用改變定子繞組的接線方式來改變籠型電動機定子極對數達到調速目的,特點如下:
1、具有較硬的機械特性,穩定性良好;
2、無轉差損耗,效率高;
3、接線簡單、控制方便、價格低;
4、有級調速,級差較大,不能獲得平滑調速;
5、可以與調壓調速、電磁轉差離合器配合使用,獲得較高效率的平滑調速特性。
本方法適用於不需要無級調速的生產機械,如金屬切削工具機、升降機、起重設備、風機、水泵等。
變頻調速
變頻調速是改變電動機定子電源的頻率,從而改變其同步轉速的調速方法。變頻調速系統主要設備是提供變頻電源的變頻器,變頻器可分成交流-直流-交流變頻器和交流-交流變頻器兩大類,目前國內大都使用交-直-交變頻器。其特點:
1、效率高,調速過程中沒有附加損耗;
2、套用範圍廣,可用於籠型異步電動機;
3、調速範圍大,特性硬,精度高;
4、技術複雜,造價高,維護檢修困難。
5、本方法適用於要求精度高、調速性能較好場合。
串級調速
串級調速是指繞線式電動機轉子迴路中串入可調節的附加電勢來改變電動機的轉差,達到調速的目的。大部分轉差功率被串入的附加電勢所吸收,再利用產生附加的裝置,把吸收的轉差功率返回電網或轉換能量加以利用。根據轉差功率吸收利用方式,串級調速可分為電機串級調速、機械串級調速及晶閘管串級調速形式,多採用晶閘管串級調速,其特點為:
1、可將調速過程中的轉差損耗回饋到電網或生產機械上,效率較高;
2、裝置容量與調速範圍成正比,投資省,適用於調速範圍在額定轉速70%-90%的生產機械上;
3、調速裝置故障時可以切換至全速運行,避免停產;
4、晶閘管串級調速功率因數偏低,諧波影響較大。
5、本方法適合於風機、水泵及軋鋼機、礦井提升機、擠壓機上使用。
繞線式調速
繞線式異步電動機轉子串入附加電阻,使電動機的轉差率加大,電動機在較低的轉速下運行。串入的電阻越大,電動機的轉速越低。此方法設備簡單,控制方便,但轉差功率以發熱的形式消耗在電阻上。屬有級調速,機械特性較軟。
調壓調速
當改變電動機的定子電壓時,可以得到一組不同的機械特性曲線,從而獲得不同轉速。由於電動機的轉矩與電壓平方成正比,因此最大轉矩下降很多,其調速範圍較小,使一般籠型電動機難以套用。為了擴大調速範圍,調壓調速應採用轉子電阻值大的籠型電動機,如專供調壓調速用的力矩電動機,或者在繞線式電動機上串聯頻敏電阻。為了擴大穩定運行範圍,當調速在2:1以上的場合應採用反饋控制以達到自動調節轉速目的。
調壓調速的主要裝置是一個能提供電壓變化的電源,常用的調壓方式有串聯飽和電抗器、自耦變壓器以及晶閘管調壓等幾種。晶閘管調壓方式為最佳。調壓調速的特點:
1、調壓調速線路簡單,易實現自動控制;
2、調壓過程中轉差功率以發熱形式消耗在轉子電阻中,效率較低。
3、調壓調速一般適用於100KW以下的生產機械。
電磁調速
電磁調速電動機由籠型電動機、電磁轉差離合器和直流勵磁電源(控制器)三部分組成。直流勵磁電源功率較小,通常由單相半波或全波晶閘管整流器組成,改變晶閘管的導通角,可以改變勵磁電流的大小。 電磁轉差離合器由電樞、磁極和勵磁繞組三部分組成。電樞和後者沒有機械聯繫,都能自由轉動。電樞與電動機轉子同軸聯接稱主動部分,由電動機帶動;磁極用聯軸節與負載軸對接稱從動部分。當電樞與磁極均為靜止時,如勵磁繞組通以直流,則沿氣隙圓周表面將形成若干對N、S極**替的磁極,其磁通經過電樞。當電樞隨拖動電動機鏇轉時,由於電樞與磁極間相對運動,因而使電樞感應產生渦流,此渦流與磁通相互作用產生轉矩,帶動有磁極的轉子按同一方向鏇轉,但其轉速恆低於電樞的轉速N1,這是一種轉差調速方式,變動轉差離合器的直流勵磁電流,便可改變離合器的輸出轉矩和轉速。電磁調速電動機的調速特點:
1、裝置結構及控制線路簡單、運行可靠、維修方便;
2、調速平滑、無級調速;
3、對電網無諧影響;
4、速度失大、效率低。
5、本方法適用於中、小功率,要求平滑動、短時低速運行的生產機械。
耦合器調速
液力耦合器是一種液力傳動裝置,一般由泵輪和渦輪組成,它們統稱工作輪,放在密封殼體中。殼中充入一定量的工作液體,當泵輪在原動機帶動下鏇轉時,處於其中的液體受葉片推動而鏇轉,在離心力作用下沿著泵輪外環進入渦輪時,就在同一轉向上給渦輪葉片以推力,使其帶動生產機械運轉。液力耦合器的動力轉輸能力與殼內相對充液量的大小是一致的。在工作過程中,改變充液率就可以改變耦合器的渦輪轉速,作到無級調速,其特點為:
1、功率適應範圍大,可滿足從幾十千瓦至數千千瓦不同功率的需要;
2、結構簡單,工作可靠,使用及維修方便,且造價低;
3、尺寸小,能容大;
4、控制調節方便,容易實現自動控制。
5、本方法適用於風機、水泵的調速。
ABB調速電機
變頻調速範圍:5-100赫茲無級調速。50赫茲(60赫茲)以下為恆轉矩調速;50赫茲(60赫茲)以上為恆功率調速。
*能通過變頻裝置的電壓提升,保證電機在5赫茲時輸出額定轉矩而
不致使電機因發熱而燒毀。
*低轉速時轉矩平滑,無爬行現象。
*電機能承受額定轉矩的160%過載,歷時1分鐘
裝有傳動比可變的齒輪傳動電機(摩擦輪)
電路指標
調速的直流電機驅動電路,主要考慮以下性能指標:
1、輸出電流和電壓範圍。它決定著電路能驅動多大功率的電機;
2、效率。高的效率不僅意味著節省電源,也會減少驅動電路的發熱。要提高電路的效率,可以從保證功率器件的開關工作狀態和防止共態導通(H橋電路可能出現的一個問題,即兩個功率器件同時導通使電源短路)入手;
3、對控制輸入端的影響。功率電路對其輸入端應有良好的信號隔離,防止有高電壓大電流進入主控電路,這可以用高的輸入阻抗或者光電耦合器實現隔離;
4、對電源的影響。共態導通可以引起電源電壓的瞬間下降造成高頻電源污染,大電流可能導致地線電位浮動;
5、可靠性。電機驅動電路應該儘可能做到:無論加上何種控制信號,何種無源負載,電路都是安全的。
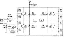
筆者經過長期實驗,得到一種可調速的雙向直流電機驅動電路,電路如附圖所示。
調速電機輸入與電平轉換部分
輸入信號線由Port引入,Port1腳是電機方向信號輸入端,Port2腳是PWM信號輸入端,Port3腳是地線。注意Port3腳對地連線了一個2kΩ的電阻。當驅動板與單片機分別供電時,這個電阻可以提供信號電流回流的通路。當驅動板與單片機共用一組電源時,這個電阻可以防止大電流沿著連線流入單片機主機板的地線造成干擾。或者說,相當於把驅動板的地線與單片機的地線隔開,實現“一點接地”。電容C1防止電機突然啟動造成電壓的突降。
與非門U1A實現PWM信號與電機方向信號的調製,轉換成接近功率電源電壓幅度的方波信號。
三極體驅動部分
三極體和電阻、二極體組成的電路驅動,實現對直流電機可調速正反轉驅動。四個二極體起保護三極體的作用,防止感性元件(電機)產生的負感應電動勢對三極體的衝擊。
當74LS00輸出端為低電平時,Q2、Q4截止,Q1、Q3導通,輸出為高電平。當74LS00輸出端為高電平時,Q2、Q4導通,Q1、Q3截止,輸出為低電平。
性能指標
電源電壓15—30v,最大持續輸出電流500mA/每個電機,短時間(10秒)可以達到700mA,PWM頻率最高可以用到30kHz(一般用1—10kHz)。
布線
大電流線路要儘量的短粗,並且儘量避免經過過孔,一定要經過過孔的話要把過孔做大一些(>1mm),並且在焊盤上做一圈小的過孔,在焊接時用焊錫填滿,否則可能會燒斷。另外,如果使用了穩壓管,三極體射極、集電極對電源和地的導線要儘可能的短粗,否則在大電流時,這段導線上的壓降可能會經過二極體和導通的三極體將其燒毀。
PWM調速的實現
產生PWM信號可以由定時器來完成,但是由於51內部只提供了兩個定時器,因此,如果要向三個或更多的直流電機輸出不同占空比的信號,要反覆設定定時器,實現較為複雜,我們採用一種比較簡單的方法不僅可以實現對更多的直流電機提供不同的占空比輸入信號,而且只占用一個定時器資源。這種方法可以簡單表述如下:
在記憶體的某段空間記憶體放各個直流電機所需的輸入信號占空比信息,如果占空比為1則保存0FFH(11111111B);占空比為0.5則保存0F0H(11110000B)或任何二進制數中包括4個0和4個1。即占空比=1的個數/8。
具體選取什麼樣的二進制數要看輸出頻率的要求。若要對此直流電機輸出PWM信號。只要每個時間片移位一次取出其中固定的一位(可以用位定址或進位標誌C實現)送到電機連線埠上即可。另外,移位算法是一種對以前結果依賴的算法,所以最好定期檢查或重置被移位的數,防止移錯導致一直錯下去。這種算法的優點是獨立進程,可以實現對多個電機的控制,缺點是占用資源較大,PWM頻率較低。
特點
1、具有較硬的機械特性,穩定性良好;
2、無轉差損耗,效率高;
3、接線簡單、控制方便、價格低;
4、有級調速,級差較大,不能獲得平滑調速;
優點
結構簡單,運行穩定,使用可靠,維護方便;
直接使用三相交流電源,設備投資少;
起動性能好,起動力矩大,起動平滑;
控制功率小,便於自控、遙控和群控;
調速精度高,與本廠普通系列控制器配合後,轉速變化率不大於2.5℅, 與本廠精密型 控制配合後,轉速變化率小於1℅;
調速範圍廣,無失控區。
常見故障
1.主傳動電機運轉不正常,軸承發熱
主傳動電機運轉不正常滑差電機在運轉過程中會劇烈振動,引起軸承發熱。拆開離合器電樞與磁極轉子,檢查電機的軸承是否嚴重缺乏潤滑油脂,而造成軸承嚴重磨損,電動機的運轉性能下降。此時需要更換已損壞的軸承,並加注好潤滑油脂。正常情況下,應對這部分機構的所有部件進行一次清洗、加油,以保證主傳動電機的正常運行。
2.主機轉速周期性下降
出現這種情況,大多數是因機械部分發生了故障所引起,調速電機的膠輥比較多,每根膠輥靠軸承來支撐動彈。如果某根膠輥的任何一端軸承發生了故障,都可能使主機的轉速周期性地下峰,嚴重時,主機動彈會更加挫折,應當即更換軸承才行。另外,應該注意主機各滾筒(包括印版,橡皮、壓印滾筒)的軸承及其潤滑部位的工作情況是否正常,如果發生故障同樣會影響印刷速度。
3.調速電機升速後機速又逐漸下降以至停機
出現這種情況,需要觀察調速電機電氣櫃裡的電流表指針的變化。如果其指示電流急劇增大,則主電機的熱繼電器等過載保護裝置必然會產生保護動作,使主電機斷開三相電源而住手運轉。這時需要認真檢查主電機迴路的有關接線元件及主電機的交流接觸器,調速電機電氣櫃裡的所有熱繼電器等過載保護裝置的接線部位是否鬆動,接觸是否不良而發熱。如果這些部位有標題題目,則會在主電機增速後,由於電路中的導線和元件接觸不良使電流迅速增大,而引起保護性的停機。當調速電機運轉速度較低時,由於主電機的工作電流較小而不會發生氣希望速逐漸下降以至停機的情況,但是,當調速電機升速時,用電負荷大,電氣元件的故障就會顯露出來。在實際工作中,有時可以看到調速電機電氣櫃內的接線端子由於導線接觸不良而發熱,甚至在連線處出現氧化物層,導線的絕緣外反燒焦變色,這些標題題目都會嚴重影響主傳動電機的正常運轉。這時需要操作人員當即採取相應措施,如清理接線端子和導線的接觸面,緊固接線螺釘,去除燒壞了的導線氧化物層,更換損壞嚴重的接線端子等。
4.主傳動電機運轉時噪聲較大
為了調整滑差電機動平衡,其電樞和磁極轉子的兩端分別裝有配重裝置。如果這部分裝置稍有鬆動,那么滑差電機在高速動彈時就會偏離原釆的位置。故障如果發生在主傳動電機的外瑞面,就會造成電樞和磁極轉子的局部摩擦,使噪聲加大。這時就需要停機修理,恢復電樞和磁極轉子的動平衡,並重新找好原動平衡配重的位置並將其固定好,使主傳動電機正常運轉。

