組成及基本原理
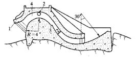
虹吸溢洪道通常包括下列幾部分:①斷面變化的進口段;②虹吸管;③具有自動加速發生虹吸作用和停止虹吸作用的輔助設備;④泄槽及下游消能設備。
虹吸溢洪道進口前端設有遮檐,位於正常蓄水位以下,其淹沒深度應保證進水時,不致挾入空氣和漂浮物。溢流堰頂與正常蓄水位在同一高程,在遮檐上或在虹吸管間的分水牆上,高於正常蓄水位處設定通氣孔人口,通氣孔與堰頂部位的虹吸管(即喉道)相連通。通氣孔斷面面積約為虹吸管頂部橫斷面面積的2%~10%。當上游水位下降到通氣孔入口後,空氣由人口通到喉道,虹吸管虹吸作用被破壞,泄流自動停止。
當上游水位超過溢流堰頂後,為了自動提前形成虹吸作用,可在管內設挑流坎或彎曲段等輔助設備。挑流坎的作用是使小流量時的水簾封閉虹吸管的上部並將其中的空氣帶走,管內很快減壓使虹吸作用自動發生。虹吸管喉道的真空值不允許超過7.5~8m水柱高,否則可能破壞水流的連續性。虹吸管在沒有形成虹吸作用前,泄流量按堰流計算,一旦虹吸作用形成,即應按管流計算。
為了有利於下游消能,常將虹吸管進口布置在不同高程上,高差為5~10cm,以使各虹吸管依次投入工作。虹吸溢洪道的缺點是:①結構較複雜;②管內不便檢修;③進口易被污物或冰塊堵塞;④真空度較大時,易引起混凝土空蝕;⑤超泄能力較小等。一般洪吸溢洪道多用於水位變化不大和需要隨時進行調節的水庫、發電和灌溉的渠道上,作為泄水和放水之用 。
優缺點及適用
虹吸式溢洪道進口(遮檐)、由曲形虹吸管、具有自動加速發生虹吸作用和停止虹吸作的輔助設備、泄槽及下游消能設備組成,曲管最頂部設通氣孔,通氣孔的出口在水庫的正常高水位處,當水庫的水位超過正常高水位,淹沒了通氣孔,曲管內沒有空氣,泄水時有虹吸作用,可增加泄水能力。
優點是可在較小的堰頂水頭下得到較大的泄流量,不用閘門而可自動泄洪、自動停泄,管理簡便;缺點是封閉式虹吸管流態的超泄能力小,真空度較大時易引起空蝕破壞和振動,構造也較複雜,進口易被冰塊或污物堵塞,故大型工程很少採用。
缺點是其結構複雜,不便檢修,易空蝕,超泄水能力小。
適用:用於水位變化不大和需隨時進行調節的中小型水庫,以及發電和灌溉的渠道上 。

