艙壁結構
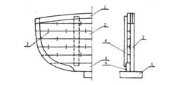
艙壁座有框架艙壁通常又分為普通艙壁與水密艙壁,我國一些木質漁船的首尖艙以及各魚艙之間的艙壁一般均採用水密艙壁,故其結構的要求與外板的要求相仿,且要進行捻縫以保持水密。所謂有框架艙壁即是艙壁板是連線在肋骨與橫樑所組成的框架上,艙壁的下列板則連線在艙壁座上,如圖所示為有框架艙壁。由圖可以看出,艙壁板之間用棗核釘(或用扁釘)連線定位(所謂棗核釘即類似核,兩頭尖中間呈圓形),防止艙壁板前後擺動。艙壁板左右與肋骨連線,上端與橫樑連線,下與艙壁座連線。在艙壁上還設有扶強材,目的在於增強艙壁的強度,對於型深不大的木質漁船,艙壁上一般不設扶強材。
艙壁座對於尺度不大的木質漁船,其艙壁不連線於助骨與橫樑上,故稱無框架艙壁如,右圖所示為無框架艙壁。由圖可見,艙壁板除用棗核釘連線定位外,尚用釘鉅連線。所謂釘鉅,即為工字形鐵板,以嵌入艙壁板方式來連線艙壁板,除工字形釘外,還有釘鉅螺栓,如圖所示,這種釘鉅螺栓,一頭嵌入艙壁板,一頭為螺栓並穿出外板用螺帽固緊,以使艙壁板直接與外板固緊,除此之外,艙璧板下端連線於艙壁座,艙壁座用螺栓與龍骨相連線 。
特點
艙壁由多塊板拼合而成,各列板應水平布置。最下列板稱為艙壁座,其高度宜大於250mm。最上列板厚度宜不小於橫樑厚度,以便於與甲板連線。艙壁板套用垂直扶強材加強,扶強材的間距應適當,艙口縱梁或甲板縱通材下方應設定垂直扶強材。艙壁應緊密固定在骨側面上,艙壁座嵌接在龍骨上。

