縮徑卡鑽的原因
縮徑卡鑽1.砂礫岩的縮徑:砂岩、礫岩、砂礫混層、如果膠結不好或甚至沒有膠結物,在井眼形成之後,由於其濾失量大,在井壁上形成一層厚的濾餅,而縮小了原已形成的井眼,如圖所示。
2.泥頁岩縮徑:泥頁岩井段一般表現為井徑擴大,但有些泥頁岩吸水後膨脹,也可使井徑縮小。如
(1)表層泥頁岩,主要成分為鈉蒙脫石,具有較高的含水量,在鑽進中易出現塑性變形。
(2)未固結的粘土,內摩擦角為零,一旦剪下應力大於膠結強度,便發生塑性變形。
(3)在壓力異常帶的泥頁岩,因其含水量和孔隙壓都遠遠超過正常值,也就容易發生塑性變形。
縮徑卡鑽特別是一些含水軟泥岩,就像揉成的麵團一樣,表現出很強的塑性。這種軟泥岩由於在其上部覆蓋著緻密的鹽岩層、石膏層和膏泥岩,下部也存在著同樣性質的特殊岩層,在非滲透性的岩層之間,形成了良好的“圈閉”條件,在長期地質沉積過程中,泥岩孔隙中的自由水與周圍地層不連通,不能發生運移,被保存下來。隨著上覆岩層壓力的不斷增加,泥岩孔隙中的自由水承受了一部分上覆岩層壓力,使岩石骨架顆粒間的距離不隨上覆壓力的增加而減少,形成了“欠壓實”狀態。這種存在於鹽、膏、膏泥岩間的泥岩層段具有泥質含量高、地層水含量大、孔隙壓力高、礦化度高、塑性大、強度低、可鑽性好、初始蠕變速率和穩態蠕變速率高的特點。一旦打開一個孔道,在上復地層壓力作用下,急速向孔道蠕動,把井眼縮小,甚至會把鑽頭包住,而失去循環通道。如右圖所示。這種地層的蠕動和鹽岩層不一樣,不受溫度的影響,只和上復地層壓力有關係,和其本身所含的水量有關係。因為這種地層多是在氧化環境中生成的,所以全國各地所遇到的多是紫紅或棕紅色軟泥岩,但中原地區則發現有灰綠色軟泥岩。軟泥岩的礦物組分主要有:伊泥石64~71%、綠泥石16~29%、鹽2~10%、石膏8~19%、不含蒙脫石。鹽、膏含量愈大,表現出的分散性和吸水膨脹性愈強。美國安秋子牧場油田曾測得這種軟泥岩的初始蠕變速率約為2.54cm/h.
我國塔里木油田東秋5井在井深2452m和2514m就鑽遇這種軟泥岩,連續發生兩次惡性卡鑽,鑽井液密度提高到2.20g/cm,才得以過關。這可能是遇到這種地層的井深最淺的地區之一。柴達木盆小梁山地區,鑽表層時鑽井液密度就要加到2.0以上,否則就要卡鑽,可能和這種軟泥岩有關.
3.鹽膏層縮徑
所謂鹽膏層是指主要由鹽岩(NaCl)和石膏(CaSO或CaSO·2HO)組成的岩層。在鹽膏層中,鹽岩和石膏的含量不等,而且還含有大量的其它礦物。除常見的石英(SiO)、長石、碳酸鹽岩等礦物外,還常會有各種不同的粘土礦物。根據純鹽層厚度、鹽膏層特點及夾層情況,可將鹽膏層分為兩大類,即純鹽岩層和鹽、膏、泥複合層。純鹽岩層又可分為原生沉積鹽、次生岩脈鹽和殘存混合鹽三種,原生沉積鹽為大段結晶狀無機鹽(大部分為氯化鈉和硫酸鈣,也可含有其他複合鹽類,如氯化鉀、氯化鈣和芒硝等),單層厚度較大,岩性比較穩定,夾層常為不易坍的白雲岩、石灰岩及層理裂隙不發育的硬泥岩等;次生岩脈鹽均在次生縫洞內壁呈垂直或斜交鹽晶粒生長,並為同生角礫岩的膠結物;殘存混合鹽是由原生沉積鹽蠕動消失後的殘存鹽角礫和其他角礫混雜膠結組成;它給鑽井造成的主要困難是上部地層的鹽溶擴徑和下部地層的蠕變縮徑。鹽、膏、泥複合鹽層往往是鹽、膏、泥相間,互層多且薄,岩性變化大,並含鹽膏軟泥岩、碎泥與鹽結合物及以鹽為膠結物的角礫岩等,往往由鹽岩、鹽膏、石膏、芒硝、泥岩、含膏泥岩、灰質泥岩、泥頁岩等多種岩性組成。其岩性複雜多變,泥岩層理髮育,軟泥岩含水量高,含鹽量7~60%不等。而且,由於沉積環境的不同,產生了富含碳酸鹽、硫酸鹽的鹽岩再加上周期性互動沉積分選差的砂泥岩,形成形形色色的複合鹽岩,構成的鹽膏岩性質千差萬別,蠕變特性差異很大。他給鑽井造成的主要困難不僅有鹽溶擴徑和蠕變縮徑,而且還容易造成井壁坍塌。以鹽為胎體或膠結物的泥頁岩、粉砂岩或硬石膏團塊,遇礦化度低的水會溶解,鹽溶的結果導致泥頁岩、粉砂岩、硬石膏團塊失去支撐而坍塌。夾在鹽岩層間的薄層泥頁岩、粉砂岩,鹽溶後上下失去承托,在機械碰撞作用下掉塊、坍塌。
多數沉積岩的密度是隨埋藏深度的增加而增加,而鹽岩層的密度卻不隨埋藏深度的增加而增加。多數沉積岩的三軸應力是不相等的,水平應力小於垂直應力,而且不同方向的水平應力也不相等,而鹽岩層的三軸應力是相等的,就等於它的上覆岩層壓力。多數沉積岩的極限強度隨約束力的增加而增加,鹽岩層則不然,其極限強度隨約束力的增加而有少量的增加,但隨溫度的上升而顯著下降。多數沉積岩沒有延展性,而鹽岩在一定的溫度條件下,表現出延展性,而且隨著溫度的上升而迅速增加。大於三千米的深度,約束力的影響幾乎被溫度的影響所抵消,實際上,鹽岩層的強度隨深度的增加而減小。鹽岩層在一定的溫度和壓力下會發生明顯地變形,稱之謂蠕變,它是時間、載入條件和其本身的物理特性的函式。
縮徑卡鑽鹽岩在100℃以前,蠕變數很小,由於鑽井液中水的溶解作用,井徑不會縮小,反而擴大。從100℃到200℃,蠕變速率急劇增加。200℃以上,鹽岩層幾乎完全變成塑性體,在一定的壓力下,很容易產生塑性流動。溫度對鹽岩層蠕變的影響如圖所示。
壓力也是影響鹽岩蠕變的主要因素。在鑽井時,如果鑽井液液柱壓力小於鹽層壓力,鹽層將向井內蠕動,其閉合速率取決於溫度和壓差的大小。
有人做過如下的實驗:某井用Φ215.9mm鑽頭鑽穿5352~5446m鹽層之後,在不同鑽井液密度下進行了三次井徑對比測量,結果如下:
第一次測量:井漿密度1.73g/cm,計算壓差26MPa,起鑽後8小時和12小時各測一次井徑,在12小時內井徑縮小58mm。
第二次測量:井漿密度調整為1.83g/cm,計算壓差21MPa,起鑽後8小時和12小時各測一次井徑,12小時內井徑縮小12mm。
第三次測量:井漿密度調整為2.07g/cm,計算壓差7MPa,起鑽後8小時和12小時各測一次井徑,12小時內井徑擴大1.52mm。30小時後再測一次井徑,井徑增大0.51mm。這種擴徑可能是由於鑽井液中水的溶蝕而成。
縮徑卡鑽壓差與蠕變速率的關係如圖所示
鹽岩層蠕變和其本身的物理特性有關,即與鹽的成因、純度、雜質種類(如Ca、Mg、Na、K、Cl、SO等)和數量、顆粒尺寸、壓實程度、自由水和氣泡等有關,鈉鹽層強度低於鉀鹽層,複合鹽層強度低於單純鹽層,如果複合鹽層中含有光鹵石(KCl.MgCl.6HO)對井壁的穩定影響非常嚴重。埋藏深度愈大,強度下降愈嚴重。在相同的溫度、壓差條件下,不同的鹽層其蠕變速率不一樣。如勝利油田郝科一井,從井深3416.5m~4150m共鑽穿鹽層60層229m,在井漿密度1.92g/cm 的情況下,只有一層(3563~3567m)在鑽進時發現有蠕變縮徑現象,因思想上早有準備,當扭矩增大時,立即提起鑽頭劃眼,來回劃眼三個多小時,才得以通過此層,其餘各層都順利通過。
在鹽層中鑽進,井眼縮徑速率還和井徑大小有關係,即縮徑速率和井眼直徑成反比,也就是說,10in井眼的縮徑速率是5in井眼的兩倍。
隨著埋藏深度的增加,溫度、壓力也相應地增加,鹽岩層逐漸失去了自持能力,如沒有一定的鑽井液液柱壓力與之相抗衡,一旦鑽孔形成,它就向鑽孔蠕動,而使井眼縮小,如發現不及時,就會立刻造成卡鑽。
4.深部沉積的石膏層:一般認為在上覆岩層壓力下把結晶水擠掉,成為無水石膏。當鑽開時,石膏又吸水膨脹,減弱強度,縮小井徑。無水石膏密度為2.9g/cm,含水石膏密度為2.3g/cm,即無水石膏變為含水石膏時體積要膨脹26%。其他鹽類如芒硝、氯化鎂、氯化鈣等也具有類似性質。
5.原已存在的小井眼:鑽頭使用後期,外徑磨小,形成一段小井眼,刮刀鑽頭尤為顯著。有些取心鑽頭,其外徑小於正常鑽進的鑽頭,或者在使用後期外徑磨小,也會形成一段小井眼。如下鑽不注意,或擴、劃眼過程中發生溜鑽,也會造成卡鑽。其性質和縮徑卡鑽一樣。
6.彎曲井眼:有些井由於下部鑽具結構剛性不夠,形成彎曲井眼。當下部鑽具結構改變,剛性增強,或者下入外徑較大長度較長的套銑工具或打撈工具時,在彎曲井眼處容易卡住。
縮徑卡鑽7.地層錯動,造成井眼橫向位移。如圖,由於所鑽地層有斷層和節理存在,當鑽井液濾液浸入斷層面或節理面後,引起孔隙壓力的升高,產生了沿斷層面或節理面的滑動,導致了井眼的橫向錯動。如這一現象發生在下鑽之前,則下鑽時將會在錯動處遇阻;如這一現象發生在下鑽之後,則在起鑽至錯動位置時會發生遇阻遇卡,其情形就和縮徑差不多,但卻不是縮徑,嚴重的錯動將會立即把鑽具卡住。如1986年孤東油田七區某井,固完井,射完孔,下好油管,準備替噴投產,井下情況正常。八小時後,發現油管被卡,用作業機硬拔,起出的下部油管彎曲達600mm以上,證明是地層錯動所造成。
8.將大一級的鑽頭下入小一級的井眼中。這本來是不應該發生的事,但由於工作人員的疏忽,不仔細檢查,如將215.9mm鑽頭下入212.7mm的井眼中,將247.65mm鑽頭下入244.5mm的井眼中。這些事聽起來是笑話,但確是實實在在發生過的事。
9.鑽井液性能發生了較大的變化:如鑽遇石膏層、鹽岩層、高壓鹽水層,濾失量增加,粘度、切力增加,濾餅增厚。或者為了堵漏,大幅度地調整鑽井液性能,都很容易形成假濾餅,使某些井段的井徑縮小。
縮徑卡鑽的表征
1.阻卡點固定在井深某幾點:因為小井徑總是個別井段,所以下鑽遇阻時,提離該點,則無遇阻現象,起鑽遇阻時,則下放不會遇阻,而且遇阻點相對固定在某一井深。有時會有若干個遇阻點,但每個遇阻點的井深相對固定。
2.多數卡鑽是在鑽具運行中造成,而不是在鑽具靜止時造成。只有少數卡鑽是在鑽進時造成,如鑽遇蠕動的鹽岩、含水軟泥岩、瀝青層就很容易在鑽進過程中縮徑卡鑽。
3.開泵循環鑽井液時,泵壓正常,進出口流量平衡,鑽井液性能不會發生大的變化。但鑽遇蠕動速率較大甚至是塑流狀態的鹽岩、瀝青層、含水軟泥岩時,泵壓要逐漸升高,甚至會堵塞環空失去循環。
4.離開遇阻點則上下活動、轉動正常,阻力稍大則轉動困難。
5.下鑽距井底不遠遇阻,可能有兩種情況,一種是沉砂引起遇阻,一種是上一隻鑽頭在使用後期直徑磨小,形成了小井眼。
6.如鑽遇蠕變性的鹽岩層、瀝青層、含水軟泥岩層,往往是機械鑽速加快,轉盤扭矩增大,並有別鑽現象,提起鑽頭後,放不到原來井深,劃眼比鑽進還困難。若蠕變速率較小,泵壓沒有多大變化。若蠕變速率較大,可以發現泵壓逐漸上升,直至憋泵。
7.縮徑卡鑽的卡點是鑽頭或大直徑工具,而不可能是鑽桿和鑽鋌。
縮徑卡鑽的預防
1.下入鑽頭、扶正器或其它直徑較大的工具時,應仔細丈量其外徑,不能把大於正常井眼的鑽頭或工具下入井內。使用打撈工具時,其外徑應比井眼小10~25mm。
2.起出的舊鑽頭和扶正器,應檢查其磨損程度,如發現外徑磨小,肯定已鑽成了一段欠尺寸井眼。下入新鑽頭時應提前若干米劃眼,不能一次下鑽到底。劃眼井段的多少依據實際情況來定,一般為1-3個單根。總的原則是下放鑽具時不允許有30kN以上的遇阻。既使是毫無遇阻顯示,最後一個單根也必須劃眼下放。
3.在用牙輪鑽頭鑽進的井段,下入金剛石、PDC及足尺寸的取心鑽頭時要特別小心,遇阻不許超過50kN。
4.取心井段必須用常規鑽頭擴眼或劃眼。特別是連續取心的井段,軟地層每100m硬地層每50m左右套用.常規鑽頭擴、劃眼一次。
5.改變下部鑽具結構,增加了鑽具的剛性,如增加扶正器數量或加大鑽鋌外徑以及下入外徑較大的套銑工具和打撈工具時應控制速度慢下。絕不允許在阻力超過50kN的情況下強行下入。
6.下鑽遇阻絕不可強壓。一般的規律是遇阻後上提的力量要比下壓的力量大,所以下壓力量越小,上提解卡越主動。當然也可以用漸進法進行試驗,如果上提時的阻卡力不超過下壓遇阻的力量或者超過的不多(在一倍以內),還可以逐步增加下壓的力量,有些井段,增加一點力量或者多活動幾次就可以過去了。但如果發現上提時阻卡力增加很多,就不能盲目下壓了,應立即循環鑽井液,向下劃眼,消除阻力。
7.起鑽遇阻絕不能硬提。因為下壓解卡的力量往往比上提時的阻力大得多。如果上提遇阻而下放很鬆快,也可以採取漸進法進行試驗,逐步加大上提力量,有些井段,上下活動幾次就可以起出來了。如果發現下壓解卡力大於上提阻卡力很多,就不能再加大力量上提了,應循環鑽井液,採取倒劃眼的辦法起出。
這裡所說的漸進法就是每次增加的力量不可過多,以30-50kN為宜。一般的要求,起、下鑽遇阻不許超過50-100kN,採取漸進法增加力量的最大限度也不許超過200kN。當鑽具懸重較輕時,上提力量不能超過鑽具重量的三分之一。
縮徑卡鑽8.控制鑽井液濾失量及固相含量。使滲透層井段結成薄而韌的濾餅,減少濾餅縮徑現象。尤其不能使鑽井液性能發生大幅度的變化,如急劇地增加粘度、切力及濾失量,會形成更多的假泥餅。
9.鑽遇特殊岩層如鹽岩層、瀝青層及含水軟泥岩層,必須提高鑽井液密度,增大鑽井液的液柱壓力,以抗衡圍岩的蠕動或塑流。確定控制鹽層蠕變需要的鑽井液密度所廣泛採用的規則如圖所示,這些曲線是根據靜態塑性原理套用有限元法得出的。
鑽開鹽岩層,可以使油包水乳化鑽井液、NaCl超飽和鹽水鑽井液、混合鹽超飽和鹽水鑽井液,其化學組分有NaCl、KCl、MgCl、MgSO等。各種鹽類在不同溫度下在水中的溶解度如下表所示。
| 溶解度(g/100ml) | |||||
| 20℃ | 40℃ | 60℃ | 80℃ | 100℃ | |
| CaCl | 74.5 | 115.0 | 136.8 | 147.0 | 159.0 |
| NaCl | 36.0 | 36.6 | 37.3 | 38.4 | 39.8 |
| KCl | 34.0 | 40.0 | 45.5 | 51.1 | 56.7 |
| MgCl | 54.25 | 57.5 | 60.7 | 69.87 | 72.7 |
由表可知,溫度愈高,溶解度愈大。鑽井時,井下溫度高於地面溫度,在地面呈飽和狀態時,在井下則為欠飽和;在井下呈飽和狀態時,到地面則為過飽和,就要析出多餘的鹽份。為了保持鑽井液性能的穩定,就需要加一種鹽抑制劑,防止鑽井液中過飽和的鹽份在地面結塊。比較好的鹽抑制劑有次氮基乙酸醯胺[N(CHCONH)]、亞鐵氰化鈉、亞鐵氰化鉀[KFe(CN)]、氯化鎘和NTA等。其中NTA是一種合成的氮氚三乙酸胺的衍生物,加入到過飽和鹽水裡,能夠把氯化鈉晶體析出速度減到最小程度或制止氯化鈉晶體的析出。加在欠飽和鹽水裡,也能阻止氯化鈉晶體的溶解。當這些化學藥品出現在氯化鈉晶體的表面時,表面重結晶被阻止,這些重結晶往往是結塊的主要原因。一般加量為0.2~0.4%。另外可以加SMP、SPC等以提高抗溫、搞污染能力。如果褐煤類產品與磺化酚醛樹脂聯合使用,能很好的控制體系的濾失性和流變性。加入磺化瀝青、超細碳酸鈣,可以增強體系的造壁性。加入SP-80、DH-1、RH-3或原油等可以提高鑽井液的潤滑性,降低濾餅摩阻係數。加入7~8%的氯化鉀對泥頁岩的膨脹和坍塌能起到很好的抑制作用。加入NaSiO、KSiO等能夠抑制石膏的溶解和膨脹,具有很強的抗鈣侵能力。
對於鹽岩層,地質設計上可能有預告,可以提前採取轉化鑽井液體系增加鑽井液密度的措施,但是對於瀝青層.含水軟泥岩層,其分布情況無規律可循,因此也無法預告,往往會打遭遇戰。遇到這種地層(包括鹽岩層),有幾個明顯地變化,可資參考:
(1)鑽速加快;
(2)扭矩增大;
(3)上提鑽頭有阻卡力;
(4)提起鑽頭後放不到井底;
(5)劃眼困難,有別鑽現象,其速度比鑽進還慢,經反覆劃眼仍不能恢復正常鑽進。
因此在鹽層中鑽進,如遇快鑽時,進尺不可超過0.5m,應當機立斷,立即上提。如上提有阻力,在安全的條件下,盡最大可能上提,絕不可消極等待,此時等待就等於死亡。關鍵的問題是及早發現,及早處理,不能等到轉盤扭矩很大甚至不能轉動時再想提也提不起來了,這種教訓在勝利油田和中原油田曾發生過多次。鑽完一個方鑽桿,應提起平穩劃眼,修整井壁。
縮徑卡鑽10.如上提遇阻,倒劃眼無效,如此時起出的鑽具超過井深的一半,可以接如圖所示的擴孔器於鑽柱中間,下鑽至遇阻位置擴眼,消除阻卡後再起鑽。擴孔器類似於一般的螺旋扶正器,只是著重於在翼片上、下兩個斜肩面上加焊硬質合金,使其具有破壞地層的能力。
11.如果井下情況比較複雜,可在鑽鋌頂部接一擴孔器,這樣倒劃眼的效果會更好一些,因為牙輪鑽頭很難發揮倒劃眼作用。
12.在鑽柱中接隨鑽震擊器,無論上提遇卡還是下放遇卡,都可以立即啟動震擊器,震擊解卡。
13.在複雜井段鑽進,要簡化鑽具結構。如不接扶正器,縮小鑽鋌外徑,減少鑽鋌數量等。
14.在鑽進過程中,要有計畫的進行通井,即定深進行短程起下鑽。
15.在起下鑽過程中,要詳細記錄阻卡點,對於較複雜的井段,要主動地進行劃眼,以消除阻卡現象。
16.對於易產生蠕變地層,可使用偏心PDC鑽頭,鑽出較大的井眼,給地層蠕變留下一定的餘地,如圖1-30所示.其偏心度C-O越大,鑽出的井眼也越大,這樣在蠕變速率不太大的的下,可以允許你有時間起出鑽頭.
17.可以在鑽頭以上的適當部位接擴眼器,距離以近鑽頭一點為好。這種擴眼器既能正劃眼又能倒劃眼,在地層發生蠕變時,可以利用它起出危險井段,這些措施只能在鑽井液液柱壓力與地層蠕變應力基本平衡的情況下即井眼縮小率每小時不大於2%時才可使用。
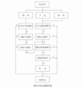
縮徑卡鑽的處理
1.遇卡初期,應大力活動鑽具,爭取解卡。在下鑽過程中遇卡,應在鑽具和設備的安全負荷限度以內大力上提,但絕不能多壓。在起鑽過程中遇卡,應大力下壓,甚至將全部鑽具的重量壓上去,但絕不能多提。在鑽進過程中遇卡,只能多提或強扭,下壓是沒有意義的。在這種時候,捕捉戰機是非常重要的,要敢於用大力,可能三下五除二就解決問題了。如果大力活動數次(一般不要超過10次),不能解卡,就不要強幹了。此時應循環鑽井液,在適當的拉力壓力範圍內定期活動鑽柱,最好每10~15分鐘活動二、三次,保持鑽柱不被粘卡,再進行第二步的工作。
2.用震擊器震擊解卡:如鑽柱上帶有隨鑽震擊器,在起鑽過程遇卡的時候,應啟動下擊器下擊。在下鑽過程遇卡或鑽頭在井底遇卡的時候,應啟動上擊器上擊。
如果鑽柱上未帶隨鑽震擊器,要設法接入震擊器,因為震擊是縮徑卡鑽中最有效最經濟的解卡辦法。如果是起鑽遇卡,而且有足夠的鑽柱重量,可以在井口接地面下擊器下擊。如果是下鑽遇卡或在井底遇卡,最好是把鑽柱從卡點以上倒開,把上擊器接到距卡點較近的位置,然後連續上擊。
在活動鑽具及震擊的過程中,要隨時注意鑽具的活動範圍,在鑽柱的某一部位打一個記號,如果該記號隨鑽柱的下擊而下移,或隨鑽柱的上擊而上移,說明震擊活動有效,解卡有望。如果在同樣的拉壓範圍內,發現鑽柱的活動範圍越來越小,說明已有粘卡發生,此時繼續震擊的效用就不大了。
縮徑卡鑽3.如果發現是縮徑與粘吸的複合式卡鑽,那就應先浸泡解卡劑,然後再進行震擊。
4.如果縮徑是鹽層蠕動造成的,而且還能維持循環的話,可以泵入淡水或淡水鑽井液至鹽層縮徑井段以溶化鹽層,同時配合震擊器震擊。
5.如果是泥頁岩縮徑造成的卡鑽,可以泵入油類和清洗劑或潤滑劑,並配合震擊器進行震擊。
6.如果大力活動鑽具與震擊均無效,那就只好走爆松倒扣和套銑、倒扣的道路。最好是從鑽頭附近或鑽鋌頂部倒開,井下留的落魚越少越好。因為縮徑卡鑽的卡點在鑽頭或扶正器位置,如落魚較少時,可爭取一次套銑到卡點位置,即可解卡。如果落魚較長,一次套銑不到卡點位置,那就只好分段套銑、倒扣了。
7.如果經測算,套銑、倒扣在時間上經濟上不合算;或者在套銑、倒扣過程中發生了其它問題,使套銑、倒扣工作無法繼續進行,那就只有側鑽一條路可走了。縮徑卡鑽的處理程式如圖所示。

