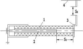
,原理結構見下圖 :
管型避雷器的主要優缺點為:
(1)伏秒特性較陡且放電分散性較大,而一般變壓器和其他設備絕緣的衝擊放電伏秒特性較平,二者不能很好配合;
(2)管型避雷器動作後工作母線直接接地形成截波,對變壓器縱絕緣不利。
此外,其放電特性受大氣條件影響較大,因此管型避雷器目前只用於線路保護(如大跨越和交叉檔距以及發、變電所的進線保護)。

管型避雷器實際是一種具有較高熄弧能力的保護間隙,它由兩個串聯間隙組成,一個間隙在大氣中,稱為外間隙,其工作就是隔離工作電壓,避免產氣管被流經管子的工頻泄露電流所燒壞;另一個裝設在氣管內,稱為內間隙或者滅弧間隙,管型避雷器的滅弧能力與工頻續流的大小有關。
,原理結構見下圖 :
管型避雷器的主要優缺點為:
(1)伏秒特性較陡且放電分散性較大,而一般變壓器和其他設備絕緣的衝擊放電伏秒特性較平,二者不能很好配合;
(2)管型避雷器動作後工作母線直接接地形成截波,對變壓器縱絕緣不利。
此外,其放電特性受大氣條件影響較大,因此管型避雷器目前只用於線路保護(如大跨越和交叉檔距以及發、變電所的進線保護)。
閥型避雷器是由空氣間隙和一個非線性電阻串聯並裝在密封的瓷瓶中構成的。
概述 結構及原理 特性參數 故障及處理 巡視與檢查避雷器,surge arrester。1)用於保護電氣設備免受高瞬態過電壓危害並限制續流時間也常限制續流賦值的一種電器。本術語包含運行安裝時對於該電器正...
避雷器 正文 避雷器分類 適用範圍 特點與原理電源避雷器,又稱電源防雷器。包括電源防雷模組、電源防雷箱、電源防雷插座等。防止雷電和其他內部過電壓侵入設備造成損壞。
管式避雷器主要用於變電所、發電廠的進線保護和線路絕緣弱點的保護。 碳化矽避雷器廣泛套用於交、直流系統,保護髮電、變電設備的絕緣。 碳化矽避雷器保護性能好...
。避雷器有管式和閥式兩大類。閥式避雷器分為碳化矽避雷器和金屬氧化物避雷器(又稱氧化鋅避雷器)。管式避雷器主要用於變電所、發電廠的進線保護和線路...。30年代出現了管式避雷器。50年代出現了碳化矽避雷器。70年代又出現了金屬...
管式避雷器主要用於變電所、發電廠的進線保護和線路絕緣弱點的保護。 碳化矽避雷器廣泛套用於交、直流系統,保護髮電、變電設備的絕緣。 碳化矽避雷器保護性能好...
管式避雷器主要用於變電所、發電廠的進線保護和線路絕緣弱點的保護。 碳化矽避雷器廣泛套用於交、直流系統,保護髮電、變電設備的絕緣。 碳化矽避雷器保護性能好...
。避雷器有管式和閥式兩大類。閥式避雷器分為碳化矽避雷器和金屬氧化物避雷器(又稱氧化鋅避雷器)。管式避雷器主要用於變電所、發電廠的進線保護和線路...。30年代出現了管式避雷器。50年代出現了碳化矽避雷器。70年代又出現了金屬...
跌落式避雷器,是將配電型氧化鋅避雷器改裝後巧妙地安裝在跌落式熔斷器的跌落式機構上,達到在不斷電的情況下,可以藉助絕緣拉閘操縱桿方便地對避雷器進行檢測、維修與更換。
