定義
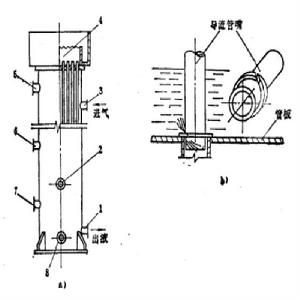
立式殼管式冷凝器的筒體直立地安裝在儲水池上。冷卻水從頂部的分水箱進入管道後,沿壁面呈膜狀向下流動,流下的水集中在下面的水池中。製冷劑蒸氣從筒體上部進入,放出熱量後在管外凝結成液體,由底部排出。冷卻水都是走管程(傳熱管束內),製冷劑都是走殼程的(殼體內、傳熱管束外的空間),即高溫、高壓製冷劑蒸氣在傳熱管外表面冷卻、凝結並匯聚到殼體(見圖1),其中a)冷凝器外形 b)導流管嘴,(1— 出液管接頭 2—壓力表接頭 3—進氣管接頭 4—配水箱 5—安全閥接頭6—均壓管接頭 7—放空氣管接頭 8—放油管接頭)。
圖1立式殼管式冷凝器簡介
為了使冷卻水均勻地分配到每根鋼管中,冷凝器頂部裝有配水箱,水從水箱中通過分配器或多孔篩板分配到每根鋼管。水分配器的結構型式有多種,使用較多的一種是導流管嘴(圖1 b)。在每根鋼管的頂端裝一個導流管嘴,冷卻水通過三個斜槽流入管中,並以螺旋線狀沿管內壁向下流動,這樣在管內壁形成一層水膜,使冷卻水充分利用,提高冷凝器的冷卻效果,節省水量。
立式殼管式冷凝器管一般使用無縫鋼管。這種冷凝器可以露天安裝,節省機房面積;也可裝在冷卻水塔的下面,以簡化冷卻水系統。它對冷卻水水質要求不高,可以在運行中清洗水管。立管式冷凝器的傳熱係數比臥式冷凝器的小,冷卻水用量大,體積大,比較笨重;冷凝器管內水流速度低,易結水垢,且灰砂易落入,需要經常清洗。
特點
(1)由於冷卻流量大流速高,故傳熱係數高。
(2)垂直安裝占地面積小,且可以安裝在室外。
(3)冷卻水直通流動且流速大,故對水質要求不高,一般水源都可以作為冷卻水。
(4)管內水垢易清除,且不必停止製冷系統工作。
(5)因立式冷凝器中的冷卻水溫升一般只有2~4℃,對數平均溫差一般在5~6℃左右,故耗水量較大。由於設備置於空氣中,管子易被腐蝕,泄漏時容易被發現。
與臥式殼管式冷凝器的區別
除所處空間方位不同外,立式和臥式殼管冷凝器還有一個重要區別,這就是臥式殼管冷凝器兩端有水蓋,水蓋與殼體(或管板)常以法蘭形式相連,因而冷卻水處於一個密閉的空間。所以臥式殼管冷凝器又叫封閉式殼管冷凝器。立式殼管冷凝器常坐落於一個集水池上,上下兩端無水蓋,但上端設有分水箱。冷卻水經分水箱內的許多分水器分配後,進入每個傳熱關內,從管壁上吸熱後從下端流出,落於集水池內,因此立式殼管冷凝器又稱敞開式殼管冷凝器。
