定義
用水作為冷卻介質,使高溫高壓的氣態製冷劑冷凝的設備,稱為水冷式冷凝器。常用的水冷式冷凝器有臥式殼管式冷凝器、立式殼管式冷凝器、套管式冷凝器等型式。
臥式殼管式冷凝器
圖1 殼管式冷凝器主體部分的結構臥式殼管式冷凝器是殼管式的一種,各種型式的製冷裝置都可使用。殼管式的主體部分如圖1(其中1—管子 2—殼體 3—管板)所示。它是一個由鋼板卷制焊接成的圓柱形簡體,筒體的兩端焊有兩塊圓形的管板,兩個管板鑽有許多位置對應的小孔,在每對相對應的小孔中裝入一根管子,管子的兩端用脹接法或焊接法緊固在管板的管孔內,這樣便組成了一組直管管束。
立式殼管式冷凝器
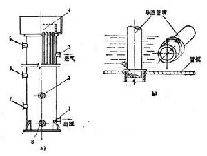
這種冷凝器直立安裝,只用於中型及大型的氨製冷裝置中。其結構如圖2(1— 出液管接頭 2—壓力表接頭 3—進氣管接頭 4—配水箱 5—安全閥接頭6—均壓管接頭 7—放空氣管接頭 8—放油管接頭)所示,其中a)冷凝器外形 b)導流管嘴。同臥式殼管式冷凝器相比,立式殼管式冷凝器不但是直立裝置,而且兩端沒有端蓋,水及製冷劑的流動方式也有所不同。冷卻水從上部進入冷凝器管內,但水並不充滿整個鋼管斷面,而是呈膜狀沿管內壁自上流下,排入水池中,一般再用水泵壓送入冷卻塔中循環使用。氣態製冷劑從冷凝器外殼的中部偏上處進入筒殼的管外空間中,凝結的液體沿管外壁從上流下,積在冷凝器底部,從出液管流出。此外,冷凝器的外殼上還設有放油閥、放空氣閥和安全閥等管接頭。
圖2立式殼管式冷凝器套管式冷凝器
圖3套管式冷凝器它由兩種不同直徑的管子套在一起組成,主要用於小型氟利昂空調機組中,一般用在單機製冷量小於25kW的製冷裝置。圖3所示為一套管式冷凝器,它的外管為內徑50mm的無縫鋼管,管內套有幾根紫銅管或軋有低肋片的紫銅管(稱內管),裝好後在彎管機上彎曲成螺旋形狀。製冷劑蒸氣從上方進入套管的空腔,在內管外表面上冷凝,液體在外管底部依次下流,從下端流入貯液器中。冷卻水從冷凝器的下方流入,其流動方向是自下而上,與氟利昂的流動方向相反,這樣能夠實現比較理想的逆流換熱,因此傳熱係數較高。
螺旋板式冷凝器
圖4螺旋板式冷凝器這種冷凝器的結構型式如圖4所示,由本體和接管組成。本體部分由兩張平行的鋼板,在專用卷板機上卷制而成為具有兩個螺旋通道的螺旋體。中心部分用隔板將兩個通道隔開。螺旋通道的上下端分別加上頂蓋,最外一圈通道端部焊上漸擴形冷卻水進水管,冷卻水出口由中央引出。中央隔板隔開的另一鍘焊上製冷劑蒸氣進口管。凝結的液體由底端幾根出液支管匯集於出液總管。與殼管式冷凝器比較,螺旋板式冷凝器不但體積小、重量輕,而且傳熱係數高。它的主要缺點是不適用於高壓,而且其內部不易清洗和檢修,因此只能用軟水或中等硬度的冷卻水。
