石英電子鐘錶結構
正文
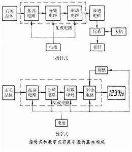
石英電子鐘錶中,以電池為能源,以石英振盪器為時間基準,以積體電路為核心通過指針或數字來顯示時間的結構。石英電子鐘錶可簡稱為石英鐘錶,它包括石英手錶和石英鐘。石英鐘錶均有指針式、數字式和雙顯式 3種。從構成上看,指針式石英手錶與指針式石英鐘,數字式石英手錶與數字式石英鐘是相同的,但指針式石英鐘錶與數字式石英鐘錶卻不盡相同。①指針式和數字式石英手錶的基本構成(見圖)。指針式石英手錶又稱模擬式石英手錶。具有傳統機械手錶的指針式錶盤面。根據需要,可以製成三針或兩針,可以附加單歷或雙歷。是一種受歡迎的石英手錶。數字式石英手錶不用指針而是用數字顯示時間。顯示方式有兩種。一種是發光二極體顯示(簡稱LED),因耗電大,現已不再使用;另一種是液晶顯示(簡稱LCD),為現在的大多數數字式石英手錶採用。它耗電小,結構簡單,成本低。但液晶顯示屬於被動發光,在黑暗中要有表內照明才能看見數字,同時液晶視角較小。雙顯石英手錶綜合了以上兩種石英手錶的優點。它既有指針式石英手錶的指針,又有數字顯示,功能齊全。指針式和數字式石英手錶的共同特點是:能源都是採用電池,常用氧化銀電池或汞電池;時間基準都是採用石英振盪器,頻率一般為 32768Hz。為了從這個頻率獲得時間的基本單位──秒、分和小時,採用中大規模互補型金屬氧化物半導體積體電路,即CMOS積體電路。這兩種手錶的最大差異在於:指針式石英手錶中,為了把電信號轉變為指針的轉動來指示時間,採用了作為換能器的微型步進電機以及齒輪傳動系統;數字式石英手錶中則採用數字液晶顯示器件,並在電路中設有相應的控制電路和升壓電路等。
石英電子鐘錶結構石英鐘錶主要由石英諧振器、積體電路、步進電機(用於指針式)、液晶顯示屏(用於數字式)、手錶電池或交流電源組成,此外還包括導電橡膠、微調電容、照明燈泡、蜂鳴器等元件。
石英諧振器 又稱石英振子。由化學成分為SiO2的人造石英晶體,按照一定的切割形式並經特殊加工製成的。利用它的正負壓電效應並與電子線路連線,即可形成作為時間基準的石英振盪器。一般石英手錶使用的是X+5°切型、彎曲振動模式、頻率為32768Hz的音叉形石英諧振器。它的體積小,溫度拐點(在拐點附近頻率隨溫度的變化最小)選在常溫,適宜戴在手腕上。石英鐘常用的是AT切型、厚度切變振動模式、頻率為4.194304MHz的雙凸透鏡形石英諧振器。它的溫度特性好,能適應室內外溫度變化較大的環境。
石英諧振器具有很高的品質因數,因而由它組成的石英振盪器有很高的穩定度,能大大提高鐘錶的走時精度。一般石英鐘錶的日差(見鐘錶日差)小於0.5秒/日,這個精度是一般機械鐘錶無法達到的。為了進一步提高走時穩定性,還可以採用雙振子溫度補償電路或雙振盪器溫度補償電路,它們可分別使走時誤差縮小到5秒/月和5秒/年。
CMOS積體電路 石英鐘錶內最關鍵的部件之一。石英手錶要求微功耗(1µA)、小體積和低電壓(1.5V),為此須採用特製的中大規模CMOS積體電路。在指針式和數字式石英手錶中,CMOS所完成的功能不完全相同。在指針式石英手錶中,需要完成振盪、分頻、驅動步進電機等項工作,一般採用中等規模CMOS積體電路;而在數字式石英手錶中,除要完成振盪、分頻、升壓、驅動液晶顯示等功能外,往往還要完成鬧時、秒表等多種功能,所以採用大規模CMOS積體電路。石英鐘內的積體電路基本上與石英手錶內的相似,但因為石英鐘要求輸出較大功率,電路的功耗(由幾十微安至幾百微安)也遠大於石英手錶,故積體電路的功耗也較大。
步進電機 在指針式石英鐘錶內,步進電機作為換能器,把秒脈衝信號變成機械輪系的轉動,帶動指針指示時間。步進電機的特點是低功耗、小體積、轉換效率高、結構簡單。常用鐘錶步進電機有雙偏心式、單偏心式、雙凹坑式和單凹坑式等徑向充磁的單相永磁步進電機,另外還有軸向充磁的雙定子式步進電機。其中雙凹坑式的定子做成一體,結構簡單,耗電量小,套用較廣。石英鐘用步進電機比石英手錶的體積稍大,耗電較多,有較大輸出力矩。步進電機的轉子磁鋼採用矯頑力大、剩磁密度大的合金材料如釤鈷合金等,定子常用坡莫合金,線圈多採用小線徑高強度漆包線。
液晶顯示屏 數字式石英手錶和一些數字式石英鐘中用來顯示時間的部件。液晶即某些有機化合物(如芳香族化合物)在液體狀態下的晶體,兼具液體和晶體的雙重性質。液晶屏上數字的顯示是利用了液晶的扭曲效應與偏振光相配合而產生的效果。液晶屏上的每一位數字元號均由7段字劃組成,由電路控制顯示不同的數字。
手錶電池 又稱扣式電池。是石英手錶的能源,所起的作用相當於機械手錶發條的作用。它的特點是體積小、容量高、使用期限長、放電特性好。各種扣式電池都是由正極、負極、電解質、隔離層和外殼 5部分組成。
常用的手錶電池有:①氧化銀電池,又稱銀鋅電池,電壓為1.55V,是石英手錶中套用最普遍的電池,具有較高的體能密度和穩定性,沒有環境公害。②氧化汞電池,又稱汞電池,電壓為 1.35V。是最早研製成的手錶電池。由於有環境公害,已較少使用。③過氧化銀電池,又稱二價銀電池,電壓1.55V。它的容量高,但電壓穩定性差。④鋰電池。用金屬鋰作負極,具有電壓高(一般為3V)、自放電率低、保存壽命長的特點。有較廣泛的套用前途。⑤太陽能電池。能把光能轉換成電能。一般均有二次電池(鎳鎘電池),每天只要短時間受太陽光或燈光照射就可以使手錶正常走時。石英鐘也常用太陽能電池。

