沿革 煤低溫乾餾技術的套用始於19世紀,當時主要用於製取燈油(或稱煤油)和蠟。19世紀末,因電燈的發明而趨於衰落。第二次世界大戰前夕及大戰期間,納粹德國基於戰爭的目的,建立了大型低溫乾餾工廠,生產低溫乾餾煤焦油,再經高壓加氫製取汽油、柴油。戰後,大量廉價石油的開採,使煤低溫乾餾工業再次陷於停滯狀態,各種新型低溫乾餾的方法多處於試驗階段。
歷史上曾出現過很多低溫乾餾方法,但工業上成功的只有幾種。這些方法按爐的加熱方式可分為外熱式、內熱式及內熱外熱混合式。外熱式爐的加熱介質與原料不直接接觸,熱量由爐壁傳入;內熱式爐的加熱介質與原料直接接觸,因加熱介質的不同而有固體熱載體法和氣體熱載體法兩種。
內熱式氣體熱載體法 魯奇-斯皮爾蓋斯低溫乾餾法是工業上已採用的典型方法。此法採用氣體熱載體內熱式垂直連續爐,在中國俗稱三段爐,即從上而下包括乾燥段、乾餾段和冷卻段三部分(圖1)。
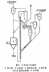
褐煤或由褐煤壓製成的型塊(約25~60mm)由上而下移動,與燃燒氣逆流直接接觸受熱。爐頂原料的含水量約15%時,在乾燥段脫除水分至 1.0%以下,逆流而上的約250℃熱氣體冷至80~100℃。乾燥後原料在乾餾段被600~700℃不含氧的燃燒氣加熱至約500℃,發生熱分解;熱氣體冷至約250℃,生成的半焦進入冷卻段被冷氣體冷卻。半焦排出後進一步用水和空氣冷卻。從乾餾段逸出的揮發物經過冷凝、冷卻等步驟,得到焦油和熱解水。德國、美國、蘇聯、捷克斯洛伐克、紐西蘭和日本都曾建有此類爐型。中國東北也曾建此種爐。60年代初,在中國曾採用的氣燃式爐也屬此類型,後因大量廉價天然石油的開採而停產。 內熱式固體熱載體法 魯奇-魯爾蓋斯低溫乾餾法(簡稱L-R法)是固體熱載體內熱式的典型方法。原料為褐煤、非粘結性煤、弱粘結性煤以及油頁岩。20世紀50年代,在聯邦德國多爾斯滕建有一套處理能力為10t/h煤的中間試驗裝置,使用的熱載體是固體顆粒(小瓷球、砂子或半焦)。由於過程產品氣體不含廢氣,因此後處理系統的設備尺寸較小,煤氣熱值較高,可達20.5~40.6MJ/m3。此法由於溫差大,顆粒小,傳熱極快,因此具有很大的處理能力。所得液體產品較多、加工高揮發分煤時,產率可達30%。 L-R法工藝流程(圖2)
是首先將初步預熱的小塊原料煤,同來自分離器的熱半焦在混合器內混合,發生熱分解作用。然後落入緩衝器內,停留一定時間,完成熱分解。從緩衝器出來的半焦進入提升管底部,由熱空氣提送,同時在提升管中燒去其中的殘碳,使溫度升高,然後進入分離器內進行氣固分離。半焦再返回混合器,如此循環。從混合器逸出的揮發物,經除塵、冷凝和冷卻、回收油類,得到熱值較高的煤氣。 參考書目
天津大學燃料化學工業教研室編:《低溫乾餾工程》,上冊,石油工業出版社,北京,1959 。
M.A.Elliott ed.,Chemistry of Coal Utilization,2nd Sup.vol., John Wiley & Sons, New York,1981.
