外觀及結構
無線PLC在外觀上除與傳統PLC相同的部分如接線端子、指示燈和串口接口(擴展接口)的外觀基礎外,還增加了無線通信有關的SIM卡座和天線接口等部件。外觀說明如下圖所示:
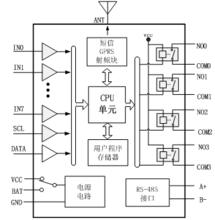
無線PLC無線PLC在內部結構上除與傳統PLC相同的部分如電源電路、串口通信、IO輸入監測、IO輸出控制、用戶程式存儲器和CPU單元外,還增加了無線通信有關的射頻塊等結構。還以“DTD”系列無線PLC為例,內部增加了簡訊與GPRS通信的射頻電路。內部邏輯等效圖如下圖所示。
無線PLC(遠程通)的內部邏輯等效圖工作原理
CPU連續執行用戶程式、任務的循環序列稱為掃描 。CPU的掃描周期包括讀輸入、執行程式、處理通信請求、執行CPU自診斷測試、寫輸出和採集管理。
“遠程通”系列無線PLC循環掃描周期無線PLC可被看成是在系統軟體支持下的一種掃描設備。它一直周而復始地循環掃描並執行由系統軟體規定好的任務,用戶程式只是掃描周期的一個組成部分,即時沒有編寫用戶程式,無線PLC也在執行循環掃描,只不過在一個周期中用戶程式執行這個部分內容很快就執行完成了。無線PLC在一個周期中完成了6個掃描過程。
執行CPU自診斷測試
為保證設備的可靠性,及時反映所出現的故障,無線PLC具備自監視功能 。自監視功能主要由時間監視器(WDT,看門狗)完成。看門狗是一個硬體定時器,每一個掃描周期開始前都被復位(重裝)。看門狗的定時值是固定的為3000ms,當掃描周期中某一個任務執行的時間超過這個定時值,無線PLC就會認為設備出現故障,進行相應的故障處理(重啟無線PLC,故障記錄等)。
處理通訊請求
在掃描周期的通信處理階段,CPU將處理有關信道的任務,這一過程用於PLC之間及PLC與上位機計算機或終端設備之間的通信。
處理採集管理
無線PLC與傳統的PLC最大的區別就是可以直接構建遠程測控(報警)系統,一套完整穩定的遠程測控系統,至少具備與PLC或分站終端設備之間的採集功能,具備與上位機主站通信互動功能,具備數據逾時重發和校驗的功能,具備當某通信信道傳送故障自動切換到其他通信信道上的功能。
無線PLC在正常運行狀態下,每一個掃描周期內都包含處理採集管理這個過程。即使用戶程式中沒有編寫任何內容,也不影響無線PLC成為一個遠程測控系統中的DTU設備。
讀輸入、寫輸出
CPU在處理用戶程式時,使用的輸入值不是直接從物理輸入點讀取的,運算的結果也不直接送至實際物理輸出點,而是在記憶體中設定了兩個映射暫存器(系統變數):一個為輸入映射暫存器,另外一個為輸出映射暫存器。用戶程式中所用的輸入值是輸入暫存器的值,運算結果也放在輸出暫存器中。在輸入掃描過程中,CPU把實際輸入點的狀態鎖入到輸入映射暫存器;在輸出掃描過程中,CPU把輸出映射暫存器的值鎖定到實際物理輸出點。
下圖 描述了信號從輸入端子到輸出端子的傳遞過程。
無線PLC信號傳遞過程在讀輸入階段,CPU對各個輸入端子進行掃描,通過輸入電路將各輸入點的狀態進行鎖入輸入映射暫存器中,轉入用戶程式執行階段後,CPU按照先上後下的順序對每條語句(指令)進行掃描,根據輸入映射暫存器和輸出映射暫存器的狀態執行用戶程式,同時將執行結果寫入輸出映射暫存器中。在用戶程式執行期間,即使輸入端子的狀態發生變化,輸入狀態暫存器的內容也不會改變(輸入狀態變化只能在下一個工作周期的輸入階段才能被集中輸入)。在寫輸出階段,將輸出隱射暫存器的狀態通過輸出電路傳遞到輸出端子。
執行用戶程式
用戶的程式為了三個部分,分別為主程式、事件程式和子程式。在掃描周期的執行用戶程式階段,CPU從頭至尾執行用戶的主程式。事件程式並不作為正常掃描周期的一部分來執行,而是事件發生時才執行。子程式是被調用時才執行的。
通信方式
串口信道通信
簡訊信道通信
GPRS信道通信
無線數傳電台通信
TCP/IP網口通信
WIFI
藍牙
ZigBee
通信協定
MODBUS
MODBUS是使用非常廣泛的工業現場的匯流排協定,由帶智慧型終端的可程式序控制器和計算機通過公用線路或局部專用線路連線而成。其系統結構既包括硬體、亦包括軟體。它可套用於各種數據採集和過程監控。
自定義協定
無線PLC支持自定義協定,當通信協定不是標準的工業協定時,用戶可以根據需要自己編寫所需要的通信協定。
例如當用戶需要的輸入一個專用儀器儀表設備,而協定是特殊或不公開的,此專用設備的特殊協定就可以由用戶自編程完成。
系統組網
系統組網示意圖遠程測控系統中分布著許多數據採集和控制的站點。採集和控制數據要不斷的在相關的站點間傳送。數據的發起站點稱為源站點或主站,數據終止站點稱為目的站點或分站。通信的目的是在主站和分站間傳送採集數據和控制命令。
分站
傳統的PLC作為分站時,要想實現無線通訊需要外接一個無線通信擴展模組,比如電台、GPRS模組等,通常這個無線通信模組會占用PLC的一個串口。以西門子的S7-200型PLC作為分站為例,想要與主站以GPRS方式通信時,需要外接一個GPRS擴展模組,用戶需要分別對PLC和無線通信模組兩個設備的各項參數(包括協定、格式、波特率、地址等)進行設定,並且要保證兩個設備的各項參數保持一致才能正常工作,部分參數,比如格式和波特率等參數的設定需要寫入PLC的程式里,所以還要掌握PLC的代碼編寫方法。除此之外用戶還需掌握兩個設備間的連線方法和收發數據等操作。
無線PLC在內部集成了信道管理、採集管理、協定驅動和無線通信等功能,因此在無需外接GPRS擴展模組的情況下就可以做分站與主站實現無線通信。通信協定、格式、波特率、地址等參數只需設定一次,無需分別設定,格式和波特率等參數設定採取圖形化設計,無需在代碼中設定。
【主站】
主站可以是無線PLC、計算機,還可以是智慧型手機,也可以多種類型主站混合。
無線PLC做主站
無線PLC做主站的組網效果圖傳統PLC內部程式做主站時要寫驅動和通信協定。
無線PLC內部集成了協定解析、逾時重發功能的採集管理模組,做主站時無需寫驅動和通信協定,只需將無線PLC設定成“主站模式”,即使無線PLC不編寫用戶程式也能正常工作在主站模式下。當用戶把無線PLC運行在“主站模式”時,無線PLC會主動按照用戶設定的採集管理的參數採集各分站現場設備狀態的數據,然後將這些分站的數據映射在與之對應的系統變數區中,用戶程式直接訪問這些系統變數,就可以獲得各分站當前現場設備的狀態信息;當需要改變現場某一分站設備的狀態時,只需要在用戶程式中改變與該分站對應的系統變數,然後調用遠程控制的系統函式,剩下的事就由無線PLC全部完成。用戶不用關心它們是怎么組網的、是何時通過何種方式通信採集的等一系列有關採集管理有關的問題。
計算機做主站
下圖為計算機做主站,無線PLC與連線的感測器或設備組成的遠程測控系統效果圖:
計算機做主站的組網效果圖智慧型手機做主站
下圖為智慧型手機做主站是,無線PLC與連線的感測器或設備組成的遠程測控系統效果圖:
智慧型手機做主站的系統效果圖下圖為智慧型手機做主站是,遠程測控系統運行時的效果圖:
能手機做主站的運行效果圖多主站混合(多點對多點測控)
下圖為計算機、無線PLC和手機組合的方式做主站時,構成的多主站多點多多點的測控系統效果圖:
多主站混合組網示意圖無線下載
在遠程測控系統中,分站PLC通常布局分散甚至地處偏僻惡劣環境。傳統的PLC在寫入用戶程式時需要通過編程連線線與計算機相連,把寫好的用戶程式下載到PLC設備中,當PLC已經安裝到了現場,在後續的工作中發現用戶程式有BUG,或者想要修改程式代碼以更改功能,再或者要更改諸如波特率等硬體配置參數時,由於沒有無線下載功能,需要派人從分站取回PLC連線計算機做修改。無線PLC的“無線下載”功能可以讓用戶可以直接在計算機上修改好配置參數和程式,通過無線信道傳送給遠處的無線PLC。
除此之外,當無線PLC使用GPRS信道和簡訊信道時,由於在遠程測控系統中的分站PLC通常布局分散,這給查詢SIM卡的的餘額信息帶來很多不便。無線PLC解決了這一難題,用戶可以直接傳送資費查詢指令就能掌握分站無線PLC的餘額情況。
適用場景
無線PLC集成的的採集管理模組適用於採集數量大,特性相似的監控對象的管理與組網,比如路燈控制系統,滴灌控制系統,氣象監測系統等。無線PLC的多種通信方式增加了數據傳輸的可靠性,適用於通信實時性和安全性要求較高的工業領域和交通業,比如簡訊報警系統,油井監測系統,鐵路來車報警系統等。
簡訊報警系統(工業安全)
簡訊是基於GSM的網路監控,監控範圍可覆蓋全國,管理員無論身處何地都可實現遠程監控。
無線PLC傳送簡訊只需調用指令(函式)即可。當滿足傳送報警簡訊條件時,無線PLC將要傳送的數據快取到對應信道的傳送緩衝區中,等到通信掃描周期再將數據傳送出去。
簡訊報警系統圖油井監測系統(石油生產)
無線PLC可用於監測石油液壓,油位等參數,保障安全生產。
油井監測系統圖路燈控制系統(市政工程)
無線PLC可以與光感測器相連控制路燈系統。
路燈控制系統鐵路來車報警系統(鐵道服務)
無線PLC可以用於鐵路服務,來車控制警示燈和報警鈴聲。
鐵路來車報警系統圖滴灌控制系統(現代農業)
無線PLC可以與濕度感測器相連,控制澆水噴頭。
滴灌控制系統圖泵站監測系統(水利氣象)
無線PLC可以與水位感測器相連,控制水泵起停。
泵站測控系統
