潤滑油過濾器類型及特點
潤滑過程中所使用的潤滑油必須純淨,不含雜質,否則會嚴重危害機器,如摩擦面拉毛、卡死和堵塞潤滑孔道等,因此,必須採用過濾裝置將懸在油中的雜質過濾掉。一般過濾裝置是利用各種多孔的物體、隔膜,或套用油與雜質的密度不同而採用離心力等辦法來分離的。所用過濾材料有棉布、毛氈、金屬網及帶孔金屬薄片等多種材料。過濾器的種類很多,現介紹常用的幾種。
網狀過濾器
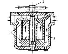
下圖所示為網狀過濾器。它是由殼體3、網管心子2(過濾筒)及銅絲網1組成。潤滑油從進口通過絲網過濾後,進入濾心經出口流出。
網狀過濾器片狀過濾器
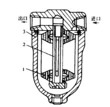
下圖所示為片狀過濾器。其蓋子上有個進油孔,油經過金屬之間的間隙得到過濾。為防止過濾器金屬片之間的間隙被堵塞,應經常轉動手柄,讓相隔金屬片間相互轉動,把它們之間的髒物刮掉,濾油器每季度應清洗一次。
片狀過濾器線隙式過濾器
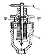
下圖所示為線隙式過濾器。其過濾純度取決於相鄰金屬線圈之間的間隙,按順時針方向迴轉過濾筒2時,利用刮刀3將過濾筒外表面上的污物清除下來。
線隙式過濾器磁鐵過濾器
下圖所示是帶有兩個磁鐵的過濾器。這種過濾器主要是收集油中的金屬粉末。
磁鐵過濾器必須注意,金屬微粒不僅會加速摩擦表面的磨損,而且具有能促使油氧化的觸進口媒作用。因此,在最重要的機械上,最好依次安裝磁鐵過濾器與線隙式過濾器。通過濾油器的雜質的最大顆粒度d一般分為四級:
粗的過濾精度d>0.1mm。
普通的過濾精度d=0.01~0.1mm。
精的過濾精度d=0.001~0.005mm。
特精的過濾精度d=0.005~0.0001mm。
套用範圍
產品已被廣泛套用於以下領域:
1、汽車工業:塗裝、塗料和油漆過濾;
2、電子工業:工藝用水前處理、磁帶塗劑,空氣預過濾;
3、食品、飲料工業:果汁、礦泉水、牛奶、釀酒、制醋、食用油、糖漿等澄清過濾;
4、石化醫藥化工工業:潤滑油、化學藥品、油劑、熱溶劑、磷酸鹽塗劑等除顆粒過濾;
5、生物製藥工業:生物及發酵,醫藥用水、沖洗用水、高粘液、化妝品等過濾;
6、環境保護:工業及生活用水、紡織和造紙廢水、金屬切削液、清潔清洗劑過濾;
7、印刷、家具工業:油墨、油漆、樹脂、蠟過濾。
潤滑油過濾器主要性能指標
潤滑油過濾器的主要性能指標有:額定壓力、過濾精度、濾芯尺寸(實際流量)、納污容量、濾芯更換壓差、旁通閥開啟壓差等。
其中實際流量是指在用戶使用系統的特定油液粘度下,過濾器所允許通過的流量。實際流量與納污容量一般很難標明,用戶可以向過濾器(濾芯)生產廠商諮詢。
注意事項
正確使用過濾器,可以有效控制潤滑油的清潔度,降低機械潤滑部位的磨損,大幅度降低設備的故障率,從而提高設備的使用壽命。而其中維護過濾器是關鍵的環節。
由於潤滑油系統大多為不間斷工作系統,故潤滑油過濾器多數是雙筒過濾器。使用者應仔細閱讀使用說明書,嚴格按操作規程進行維護。
在工作過程中,當污物堵塞濾芯,壓差升至調定值時,壓差發訊器發出訊號報警,此時需更換濾芯。
操作時,操作者要先擰松備用腔的放氣螺塞並打開壓力平衡閥,待液體充滿備用腔後,擰緊放氣螺塞。轉動換向閥手柄,使其處於另一工位。這時,備用腔即開始工作,原工作腔同時被關閉。待關閉壓力平衡閥後,即可擰開原工作腔的放氣螺塞及下部的放油螺塞放掉髒油,之後,打開濾蓋,取出髒濾芯。將濾殼和濾蓋清洗乾淨,檢查更換濾殼上已老化或損傷的密封圈,換上新濾芯並安裝好濾蓋、擰上放油螺塞,以備用。
儘管多數產品設有旁通閥,以備壓差發訊器發出訊號,而現場無人或此時不便停機時,旁通閥在壓差繼續升至允許的最大值時才打開,保證系統繼續工作。但應注意,此時油液未經過濾,清潔度不能得到保證。因此,發訊器報警後,要及時更換濾芯。
更換濾芯時,一定要注意防止污物掉進淨油腔,防止二次污染。因潤滑用的濾芯多數是金屬網濾芯,故可以把髒濾芯清洗乾淨重複使用。

