傳統旋坯機
該機傳動部分為電機經三角皮帶傳動至過橋軸上的皮帶輪,再經三角皮帶傳至空套在主軸上的皮帶輪,皮帶輪靠摩擦力帶動摩擦盤轉動,從而帶動主軸轉動,摩擦輪可在主軸上的滑鍵上作上下滑動,腳踏控制皮帶輪與摩擦盤離合,踏下腳踏,撥叉帶動摩擦盤向下,使其與皮帶輪離開,主軸停止轉動,鬆開腳踏,摩擦盤靠彈簧力復位,與皮帶輪緊密接觸,主軸重新轉動。這種傳動機構,更換皮帶輪時很不方便,需拆裝整個傳動機構,調整主軸速度,則要依靠調換皮帶輪尺寸來達到。裝刀用直升刀桿軸為方形軸,製造及維修都難以保證其形位精度要求。
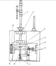
變速摩擦輪傳動旋坯機
傳動系統為電機經三角皮帶傳至過橋軸上的皮帶輪,從而帶動過橋軸及過橋軸上的摩擦輪轉動,摩擦輪可在過橋軸上的滑鍵上左右移動,摩擦輪靠彈簧與主軸上的摩擦輪緊密接合,以摩擦力帶動主軸轉動,腳踏控制過橋軸上的摩擦輪與主軸上的摩擦輪離合,踏下腳踏,撥叉撥動摩擦輪向右移動,使摩擦輪離開接合位置,同時剎車桿向上貼緊摩擦輪,從而使主軸立即停止轉動,鬆開腳踏,摩擦輪靠彈簧力復位,剎車桿向下回復至原位置,主軸重新轉動。當加工不同直徑的各種坯件時,因坯體直徑變化,要求旋坯機的轉速相應改變,這時可以改變水平摩擦輪的位置,使主軸轉速在一定範圍獲得無極變速。
該機可方便地調整過橋軸上下的位置,從而改變水平摩擦輪的位置,獲得適宜於加工直徑大小不同的各種坯件的主軸轉速。裝刀用直升刀桿軸為圓形軸,直升刀桿軸靠鍵槽與圓柱銷軸配合防止轉動,製造及維修都容易保證其形位精度要求。該機經實際套用,效果較好。
變速摩擦輪傳動旋坯機
