基本概念
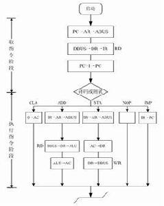
指令周期, 讀取-執行周期(fetch-and-execute cycle)是指CPU要執行指令經過的步驟。
計算機之所以能自動地工作,是因為CPU能從存放程式的記憶體里取出一條指令並執行這條指令;緊接著又是取指令,執行指令,如此周而復始,構成了一個封閉的循環。除非遇到停機指令,否則這個循環將一直繼續下去。
指令周期 :CPU從記憶體取出一條指令並執行這條指令的時間總和。
CPU周期 :又稱機器周期,CPU訪問一次記憶體所花的時間較長,因此用從記憶體讀取一條指令字的最短時間來定義。
時鐘周期: 通常稱為節拍脈衝或T周期。一個CPU周期包含若干個時鐘周期。
類別
非訪內指令
CLA是一條非訪內指令,它需要兩個CPU 周期,其中取指令階段需要一個CPU周期,執行指令階段需要一個CPU周期。
1、取指令階段
(1)程式計數器PC的內容20(八進制)被裝入地址暫存器AR;
(2)程式計數器內容加1,變成21,為取下一條指令做好準備;
(3)地址暫存器的內容被放到地址匯流排上;
(4)所選存儲器單元20的內容經過數據匯流排,傳送到數據緩衝暫存器DR;
(5)緩衝暫存器的內容傳送到指令暫存器IR;
(6)指令暫存器中的操作碼被解碼或測試;
(7)CPU識別出是指令CLA,至此,取指令階段即告結束。
2、執行指令階段
(1)操作控制器送一控制信號給算術邏輯運算單元ALU;
(2)ALU回響該控制信號,將累加暫存器AC的內容全部清零,從而執行了CLA指令。
取數指令
1.送運算元地址
第二個CPU周期主要完成送運算元地址。在此階段,CPU的動作只有一個,那就是把指令暫存器中的地址碼部分(30)裝入地址暫存器,其中30為記憶體中存放運算元的地址。
2.兩運算元相加
第三個CPU周期主要完成取運算元並執行加法操作中。在此階段,CPU完成如下動作:
(1)把地址暫存器中的運算元的地址傳送到地址匯流排上。
(2)由存儲器單元30中讀出運算元,並經過數據匯流排傳送到緩衝暫存器。
(3)執行加操作:由數據緩衝暫存器來的運算元可送往ALU 的一個輸入端,已等候在累加器內的另 一個運算元(因為CLA指令執行結束後累加器內容為零)送往ALU的另一輸入端,於是ALU將兩數相加,產生運算結果為0+6=6。這個結果放回累加器,替換了累加器中原先的數0 。
存數指令
STA指令的指令周期由三個CPU周期組成。
1.送運算元地址
在執行階段的第一個CPU周期中,CPU完成的動作是把指令暫存器中地址碼部分的形式地址40裝到地址暫存器。其中數字40是運算元地址。
2.存儲和數
執行階段的第二個CPU周期中,累加暫存器的內容傳送到緩衝暫存器,然後再存入到所選定的存儲單元(40)中。CPU完成如下動作:
(1)累加器的內容被傳送到數據緩衝暫存器DR;
(2)把地址暫存器的內容傳送到地址匯流排上,即為將要存入的數據6的記憶體單元號;
(3)把緩衝暫存器的內容傳送到數據匯流排上;
(4)數據匯流排上的數寫入到所選中的存儲器單元中,即將數6寫入到存儲器40號單元中。 注意 在這個操作之後,累加器中仍然保留和數6,而存儲器40號單元中原先的內容被衝掉 。
空操作指令
第四條指令即“NOP”指令,這是一條空操作指令。其中第一個CPU周期中取指令,CPU把23號單元的“NOP”指令取出放到指令暫存器,第二個CPU周期中執行該指令。因解碼器譯出是“NOP”指令,第二個CPU周期中操作控制器不發出任何控制信號。NOP指令可用來調機之用。
1.第一個CPU周期(取指令階段)
CPU把24號單元的“JMP 21”指令取出放至指令暫存器,同時程式計數器內容加1,變為25,從而取下一條指令做好準備。
2.第二個CPU周期(執行階段)
CPU把指令暫存器中地址碼部分21送到程式計數器,從而用新內容21代替PC原先的內容25。這樣,下一條指令將不從25單元讀出,而是從記憶體21單元開始讀出並執行,從而改變了程式原先的執行順序。
注意 執行“JMP 21”指令時,我們此處所給的四條指令組成的程式進入了死循環,除非人為停機,否則這個程式將無休止地運行下去,因而記憶體單元40中的和數將一直不斷地發生變化。當然,我們此處所舉的轉移地址21是隨意的,僅僅用來說明轉移指令能夠改變程式的執行順序而已。
特點
指令不同,所需的機器周期數也不同。對於一些簡單的的單位元組指令,在取指令周期中,指令取出到指令暫存器後,立即解碼執行,不再需要其它的機器周期。對於一些比較複雜的指令,例如轉移指令、乘法指令,則需要兩個或者兩個以上的機器周期。
從指令的執行速度看,單位元組和雙位元組指令一般為單機器周期和雙機器周期,三位元組指令都是雙機器周期,只有乘、除指令占用4個機器周期。
因此在進行編程時,在完成相同工作的情況下,選用占用機器周期少的命令會提高程式的執行速率,尤其是在編寫大型程式程式的時候,其效果更加明顯。

