基本結構
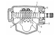
圖2 基本結構循環球式轉向器的基本結構如圖2所示。
它由兩級傳動副、殼體、鋼球和間隙調整裝置等組成。第一級傳動副是螺桿—螺母傳動副,第二級是齒條—齒扇傳動副。
一級傳動副是轉向螺桿(steering screw)和轉向螺母(steering nut),轉向螺桿與轉向軸連線;另一級傳動副是齒條(rack)和齒扇(sector),在轉向螺母下平面上加工成齒條,齒扇與齒扇軸形成一體。轉向螺母既是第一級傳動副的從動件,又是第二級傳動副的主動件。為了減少轉向螺桿與轉向螺母之間的摩擦與磨損,二者的螺紋不直接接觸,而是做成內外滾道,滾道中間裝有許多鋼球,以實現滾動摩擦。轉向螺母上裝有兩個鋼球導管,鋼球導管內裝滿了鋼球,鋼球導管與滾道連通,形成兩條獨立的供鋼球循環滾動的封閉通道。

