簡介
飛機燃油的注加方式有重力加油和壓力加油兩種。重力加油由於參與人員多,加油時間很長,易造成不安全因素,在現代飛機的設計中只是作為加油的一種備用方式。而壓力加油一是可以減少機務人員工作強度,縮短再次出動準備時間;二是可以利用機場加油管道進行加油,不需要加油車;三是保證了加油質量,風、雨、雪天時不必要採取防護措施;四是有利於地面安全,在現代飛機設計中得到了廣泛的採用。
飛機地面壓力加油系統由加油控制系統和加油管路系統組成,能夠克服傳統的手工重力加油的許多缺陷,具有自動化程度高、加油時間短、防止油液污染、保證加油人員安全等優點,因此,先進飛機都採用這種加油方式。
飛機燃油系統簡介
飛機燃油系統基本功能便是儲存燃油,並在飛機允許的一切飛行狀態和工作條件下,按一定的順序向發動機不間斷地供給規定壓力和流量的燃油。
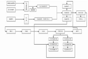
飛機燃油系統功能及組成飛機燃油系統主要由燃油箱、受油、放油、抑爆、通氣與增壓和控制等子系統組成。如圖為燃油系統功能及 組成示意。其中,燃油箱系統、加油系統、放油系統、抑爆系統、通氣和增壓系統承擔了燃油系統的儲存功能;而燃油箱通氣和增壓系統、供油系統、輸油系統、油量測量和信號指示系統、燃油管理系統則負責為發動機提供燃油;燃油傳輸系統、燃油冷卻系統則為整個飛機的平衡性和溫度調節提供了保障。
加油系統是飛機燃油系統的重要子系統,它用於向飛機燃油箱加注燃油。典型的飛機加油系統應至少包括重力加油系統和壓力加油系統。
重力加油系統通過油箱上部的加油口,利用燃油的位能,給飛機各油箱加注所需燃油。重力加油系統一般由飛機蒙皮上的加油口蓋、漏斗形橡膠套管、油箱加油口組件(包括加油口蓋、加油口殼體、過濾網等)、加油槍電搭接插座及油箱連通管、單向閥等組成。
由於重力加油系統效率低下,所需人力較多,因此僅作為壓力加油系統的備用系統而存在。
壓力加油是從飛機上的一個或多個加油接頭,以密閉的方式和規定的壓力,通過燃油管路及控制附屬檔案,給機內油箱及機外懸掛油箱加注燃油。與重力加油系統相比較,壓力加油系統則要複雜得多。
地面壓力加油系統組成
基本組成
飛機地面壓力加油系統一般由壓力加油接頭、受油總管及支管、單向閥、加油通氣閥、加油選擇及控制裝置、預檢裝置、熱釋壓裝置,以及信號指示、操縱控制板等組成。地面壓力加油的系統功能圖如下:
地面壓力加油系統功能框圖控制附屬檔案
1、加油關斷閥
用於當燃油加到正常滿油油麵或應急滿油油麵時,由油麵控制器控制其關閉,切斷加油油路,停止向油箱加油。通往飛機每個油箱或油箱組的入口處,均設定了加油關斷閥。
2、油麵控制器
與加油關斷閥聯合工作,控制油箱正常滿油油麵和應急滿油油麵。在每個油箱或油箱組的上部,均設定有油麵控制器。
3、加油控制閥
用於實現油箱或油箱組的選擇加油或多點加油系統的單點加油。在通往每個油箱或油箱組的加油支管及多點加油的連通管路上,均設定加油控制閥。
4、預檢控制閥
用於實現對各油箱或油箱組加油控制系統的預檢。通常在每個油箱或每組油箱油麵控制器上設定預檢管路,預檢管路上設定預檢控制閥。
5、熱釋壓閥
用於防止當燃油受熱膨脹時系統超壓損壞。在控制附屬檔案及管路中,凡存有燃油封閉腔的部位,均設定有熱釋壓閥,其開啟壓力不大於系統的檢驗壓力值。
6、加輸油關斷閥
加油時,該閥在加油壓力作用下打開,油箱滿油後,由油麵控制器發出信號,控制其關閉;輸油時,該閥在輸油壓力作用下打開,給供油箱輸油或向其他油箱轉輸燃油。當系統中某油箱(主要為機外懸掛油箱)的加油和輸油為同一條管路時,應在該管路中設定加輸油關斷閥。
7、加油通氣閥
保證在壓力加油過程中油箱內的空氣能順利地排出機外,提高加油速度和防止油箱超壓。加油通氣閥設定在各油箱的通氣支管或並聯的通氣總管上,閥的打開和關閉與加油同步,使油箱具有規定的增壓值。
指示信號、控制開關及照明
在靠近地面壓力加油接頭部位,設定信號顯示及操作控制盒。控制盒上裝有信號指示燈,加油控制、選擇開關及相應的照明設施。對於要求具有任選加油量的飛機,還應設定油量指示器。
信號燈的功能、種類及顏色按如下要求設定:
1、表示加油系統通電的白色信號燈;
2、表示油路及氣路暢通、開關處於開啟位置,以及正在加油、加油正常的綠色信號燈;
3、表示正常加滿燃油的黃色信號燈;
4、表示系統超壓及應急加滿燃油的紅色信號燈。
控制及選擇開關的功能、種類,按如下要求設定:
1、控制壓力加油系統通電及斷電的總電門;
2、控制各油箱或油箱組選擇加油的電門;
3、控制單點或多點加油連通及斷開的電門;
4、信號控制盒口蓋關閉後,自動切斷壓力加油系統電源開關;
5、加油量選擇開關;
6、正常和應急滿油控制裝置的預檢電門。
技術要求
依據國標、國軍標,飛機設計手冊及相關研究院所的技術資料,可以對地面壓力加油系統歸納出如下的設計技術要求。
1、加油系統相容性與設備要求
為便於在國內外任何機場,使用任何加油設備給飛機加油,飛機壓力加油接頭應符合國軍標GJB60和GJB61的規定。
加油系統應具備通過飛機1個或多個加油接頭,向全機油箱(包括機外懸掛油箱)或單個(組)、多個(組)油箱進行加油的能力;在不具備機外電源的情況下,利用機上電源亦能實施對飛機的加油。
加油接頭數量依飛機的總儲油量決定,一般飛機總儲油量在30000L以下的設定一個,在30000L以上的設定2個,超過200000L的設定4個。
加油接頭位置安排應考慮,使得地面管線或加油車易於接近;且不妨礙同時所進行的其他地勤工作。
目前,地面壓力加油接頭通常設定在機身左側,機翼前緣部位;且接頭端面向下與垂直面成10度~20度角。
2、系統壓力要求
系統設計的工作壓力為0.621 MPa,檢驗壓力為1.242MPa,極限壓力為1.863MPa;在加油關斷閥任何關閉組合下,系統的最大衝擊壓力不應超過系統的檢驗壓力。系統和附屬檔案在檢驗壓力作用下,不應有損壞、失靈、永久變形和外部泄漏;在極限壓力作用下,應無外部泄漏,但不要求附屬檔案能工作,當恢復到檢驗壓力後,附屬檔案應能正常工作。
在壓力加油過程中,壓力加油設備應保證在飛機壓力加油接頭入口處,具有(0.345士0.035MPa)的穩定壓力。
3、受油時間與流量匹配要求
飛機總儲油量與允許的最長受油時間關係曲線壓力加油時,允許的最長受油時間依飛機的總儲油量(包括機外懸掛油箱)而定。其關係曲線如圖所示。曲線 中查出的最長受油時間是以加注飛機總儲油量的90%為依據的。飛機的起始受油狀態為:除了供油箱外,所有油箱都是空的,供油箱的余油量為全機總儲油量的10%。
為了保證和儘量縮短受油時間,設計時應考慮全機所有油箱或油箱組在理論上同時達到滿油位置。為此,必須對通往各油箱或油箱組的支管進行流量匹配。
4、其他要求
飛機地面壓力加油接頭應具有抽油功能,其抽油率應不小於500L/min。接頭處的負壓值應不超過0.021MPa。
在飛機正常停機狀態下,系統應能夠按規定的加油量給各油箱加滿燃油,且正常滿油油麵控制在不超過油箱3%膨脹空間的位置。
加油時,使油箱中的空氣能及時排出機外,保證加油順利;當加油控制裝置發生故障,油箱滿油後不能及時切斷時,可將繼續加入的燃油排出機外,且不使油箱承受結構強度不允許的壓力。
為了保證在加油過程中飛機的穩定性,應控制飛機重心變化不超出地面停機狀態所允許的最大範圍(包括加油過程中有地勤人員上下飛機和進出座艙,以及當任一油箱或油箱組出現加油故障不能加油)。

