簡介
FULLER單級迴轉滑片壓縮機具有結構簡單、排氣平穩、經濟高效等優點。因此,不少90年代前後投產的新型乾法水泥生產線均選用該機作為生料和水泥輸送的動力源。我廠經澳大利亞BHP公司配套引進了4台FULLER滑片壓縮機,先後於1988年和1990年投產,其中2台C225型用於水泥輸送,2台C200型用作生料輸送。1991年又購買了南京壓縮機廠按FULLER公司許可證製造的壓縮機(C300型),作為生料輸送的備用機。在十多年的運行過程中,曾出現過缸體及缸蓋磨損開裂、滑片碎裂、軸承燒壞等故障,本文就這些常見故障產生的原因、預防與維修以及機器的裝配方法和裝配要求作一介紹,供同行們參考。
結構及工作原理
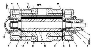
壓縮機裝配結構如圖1所示。
單級滑片壓縮機結構圖
單級滑片壓縮機1.壓蓋;2.螺母;3.墊圈;4.止動墊圈;5.軸承蓋;6.固定端軸承;7.缸蓋;8.缸蓋墊圈;9.定位銷;10.滑片;11.缸體;12.冷卻水腔;13.軸承蓋;14.膨脹端軸承;15.轉子;16.調隙墊片;C1:轉子固定端間隙;C2:轉子膨脹端間隙。
常見故障與維修
缸體及缸蓋產生裂紋的主要原因
單級滑片壓縮機滑片過度磨損後脫落。由於滑片緊貼缸壁在轉子凹槽內往復滑動,即使壓縮機正常運行,滑片也將產生磨損。磨損後其寬度變窄。當滑片寬度磨損至一極限值後,滑片便容易從轉子槽中脫落,卡在缸體底部。儘管壓縮機與電動機之間的聯軸器用木銷傳遞扭矩,木銷能起一定的安全保護作用,但轉子高速旋轉產生的巨大慣性在剪斷木銷的同時仍可能將缸體或缸蓋擠裂。缸體的裂紋通常出現在底部,而缸蓋裂紋則出現在軸承腔台肩處。由於兩者材質均為鑄鐵,若裂紋嚴重有明顯的滲水現象就得報廢;如果看上去裂紋不是太嚴重,且經過0.4MPa以上的水壓試驗(2h以上),裂紋處無滲漏,那么用油石將裂紋處毛刺磨光,這種輕度裂紋的缸體或缸蓋仍可繼續使用。為避免這類事故的發生,每隔半年左右就要打開膨脹端缸蓋,檢測滑片的磨損情況。圖2列出了壓縮機滑片的允許磨損量,當滑片任何一頭的磨損量大於圖2中的數值時,便要更換滑片。
滑片的磨損及磨損極限
注油器斷油或供油不足造成滑片碎裂。當注油器供油不足特別是出現斷油時,就會導致壓縮機潤滑不良,使轉子、滑片及軸承產生異常溫升。如果這種缺油現象持續時間過長,原起保護作用的雙金屬溫度計又損壞的話,缸體內部的溫度很快就會超過163℃這一安全極限,滑片強度便會受到嚴重影響,導致滑片過度磨損和破裂,釀成缸體或缸蓋開裂事故。FULLER壓縮機的故障絕大多數都與注油器有關,因此,確保注油器正常工作尤為重要。
缸體磨損產生波紋
如果壓縮機的工作環境較差,空氣中粉塵含量較高,過濾網未經常清理或更換,缸體內壁就會產生異常磨損,特別是缸底底腔中部因與進排氣口相對,磨損最為嚴重。這種磨損並不均勻,用手觸摸可以感覺到明顯的波紋,嚴重時波紋深度可達0.5mm甚至1mm以上。波紋的出現反過來加劇了滑片的磨損,影響滑片的使用壽命。壓縮機投運的頭幾年,滑片壽命可達兩年左右,而一旦缸體內壁磨出明顯的波紋,滑片壽命僅一年左右。因此,必須保證壓縮機在涼爽、清潔的環境中工作,並經常清洗或更換空氣過濾網。如果發現缸體磨損嚴重,波紋深度大於0.5mm,便要進行鏜缸處理,以去除波紋,延長缸體及滑片的使用壽命。鏜孔量最大可達到1.5mm,鏜孔最好是由專業製造廠進行,以免破壞進、排氣腔之間起密封作用的底部密封弧。若鏜孔量超過0.75mm,則缸體上的定位銷孔要重新加工以調整轉子的底部間隙。
缸蓋磨損
缸蓋磨損的主要原因是轉子端部與缸蓋間的間隙調整不正確,間隙太小,無法滿足轉子和滑片正常的熱膨脹要求,一旦工作溫度偏高,轉子或滑片就與缸蓋產生非正常接觸,從而導致缸蓋的異常磨損。缸蓋磨損後,表面很粗糙,且伴有結瘤現象。對於粗糙面的處理,可上車床光刀或用角向砂輪機磨光。安裝時用壓鉛絲法重新確定所要增加的缸蓋墊圈厚度,以保證正常的膨脹空間。另外,注油器供油不足或滑片碎裂也會造成缸蓋異常磨損,這些情況應儘量避免。
注油器注油速度不正常
注油速度可以從注油器頂部的視油罩內觀測,有關說明書提供的注油速度及注油量見表1。注油量的大小可由注油泵上的調節螺套來調節。從表1可以看出,容量稍大的機型推薦的注油量在7~11滴/min,在實際操作中很難把注油速度控制在該範圍內,因為活塞行程小,注油泵很容易由於活塞泄漏和過濾網堵塞造成不注油現象。因此,寧可將注油量調得稍大一些,控制在12~15滴/min,以確保壓縮機得到良好的潤滑。但注油量也不宜過大,過大既浪費油又污染環境。
FULLER滑片壓縮機注油器注油量
| 型號 | 轉速/ | 注油量 | 總注油量/(L/d) | ||||
| (r/min) | 缸蓋/(滴/min) | 缸壁注油點數 | 缸壁/(滴/min) | 總滴數 | 總注油點數 | ||
| C135,C150 | 740 | 7 | 3 | 7 | 35 | 5 | 1.7 |
| C175,C200 | 590 | 7 | 3 | 7 | 35 | 5 | 1.7 |
| C225 | 590 | 8 | 3 | 8 | 40 | 5 | 1.95 |
| C250,C300 | 590 | 7 | 5 | 7 | 49 | 7 | 2.4 |
| C350 | 500 | 9 | 5 | 9 | 63 | 7 | 3.1 |
| C508,C608 | 500 | 11 | 7 | 11 | 99 | 9 | 4.8 |
常見故障及處理方法
| 故障 | 可能原因 | 處理方法 | |
| 主機 | 軸承高溫 | 1 相應的注油泵不注油 | 1 修理或更換該組注油泵 |
| 2 油管接頭滲漏 | 2 檢查旋緊管接頭 | ||
| 排氣溫度過高 | 1 進氣溫度過高 | 1 進氣過濾器應裝在陰涼無陽光處 | |
| 2 水腔中水垢及沉澱物太厚 | 2 清除沉澱物,有條件的淨化冷卻水 | ||
| 3 冷卻水不足或進水溫度高 | 3 增加進水量或降低冷卻水溫 | ||
| 4 進氣過濾網積灰太厚 | 4 清洗或更換過濾網 | ||
| 5 潤滑不良 | 5 檢查注油器的工作情況 | ||
| 6 滑片損壞 | 6 更換滑片並重調膨脹端間隙 | ||
| 排氣壓力不足 | 1 出口法蘭或管路嚴重泄漏 | 1 檢查並堵漏 | |
| 2 滑片損壞 | 2 更換滑片 | ||
| 3 安全閥開路 | 3 修理或更換安全閥 | ||
| 排氣量不足 | 1 出口法蘭或管路嚴重泄漏 | 1 檢查並堵漏 | |
| 2 滑片磨損嚴重 | 2 更換滑片 | ||
| 振動大,聲音不正常 | 1 滑片過度磨損或損壞 | 1 更換滑片 | |
| 2 缸體內壁波紋較大 | 2 鏜缸並重新安裝定位銷 | ||
| 3 轉子與缸體或缸蓋接觸 | 3 重調轉子各部間隙 | ||
| 4 潤滑不良 | 4 檢查注油器工作情況 | ||
| 5 軸承損壞 | 5 更換軸承 | ||
| 6 地腳螺栓鬆動 | 6 緊固地腳螺栓 | ||
| 7 聯軸節同心度誤差大 | 7 重調同心度 | ||
| 注油器 | 凸輪軸不轉 | 1 調緊或更換三角帶 | |
| 2 旋緊螺釘 | |||
| 3 更換飛輪 | |||
| 4 更換齒輪或減速器 | |||
| 5 更換平鍵 | |||
| 不吸油 | 1 吸油過濾網被髒物堵塞 | 1 清洗過濾網 | |
| 2 吸油閥卡死 | 2 清洗或更換吸油閥 | ||
| 3 活塞行程太小 | 3 調整調節螺套 | ||
| 不注油 | 1 注油閥不密封 | 1 清洗修復注油閥 | |
| 2 柱塞磨損後間隙大 | 2 更換柱塞或注油泵 | ||
| 視油罩積油 | 1 吸油閥積垢、不密封 | 1 清洗或更換吸油閥 | |
| 2 注油泵泄漏 | 2 更換注油泵 |
裝配
對壓縮機作一般性的檢查維護,包括更換滑片和膨脹端軸承等工作,還是較容易的。維修人員打開膨脹端缸蓋後,若情況正常,只要留意原缸蓋墊圈的數量和厚度,按原厚度裝回即可,倘若出現滑片脫落或固定端軸承損壞,就要抽出轉子,將轉子全部解體。裝配質量的好壞,各部間隙調整是否合理,直接影響壓縮機的正常運行及使用壽命。有些製造廠家未在說明書中向用戶提供壓縮機各部間隙,使用戶無法正確安裝。現將多年來積累的裝配經驗提供給大家參考。
清洗、檢查、準備
首先將缸體及轉子槽中的油垢和積炭清理乾淨,清除缸體和缸蓋冷卻水道中的沉澱物,並將轉子及缸蓋端面的粗糙面和毛刺磨光。仔細檢查軸承內圈和滾柱的完好狀況以及軸承間隙的大小,以確定軸承是否需要更換。
安裝軸承內圈
裝配間隙如果滾道及滾柱上有麻點、裂紋等缺陷,或間隙太大,就需要更換軸承,用油浴的方式把新軸承內圈加熱至100±10℃,安裝在軸頸上。3調整轉子固定端間隙 轉子固定端裝配間隙見表3。 將轉子用枕木和楔形塊墊穩,把固定端缸蓋套在軸頸上,注意不要夾壞聚四氟乙烯密封環。在軸承腔內墊入若干個專用的調隙墊片,其厚度先參照拆卸時墊片厚度,再將軸承外圈裝入軸承腔,套上軸承定位環,擰緊螺母,裝上並鎖緊軸承蓋。用手將缸蓋從轉子端面向外搬開,在等分圓周的三個點上用塞尺測量端面間隙C1,適當調整缸蓋的傾斜角度,儘量使三點間隙相等,這時三點間隙的平均值即為固定端最大間隙C1max;相反,將缸蓋靠近轉子,用同樣的方法可測出端面最小間隙C1min。如果測得的最小間隙大於表3中的數值,就要在軸承腔內增加相應厚度的墊圈;反之,則要從軸承腔內拿掉相應厚度的墊圈,這一步驟可能要反覆多次。最大間隙與最小間隙的差值即為固定端軸承的軸向游隙,該數值也應與表3相符。否則,要么是軸承安裝不當,如螺母未擰緊或有髒物夾在內圈的錐形配合面上,要么是軸承外圈與膨脹端調錯了;要么就是軸承質量有問題,定位環要上車床處理。
安裝固定端缸頭墊圈、定位銷及缸蓋 當重新組裝壓縮機時,能知道固定端原缸頭墊圈的厚度最好,如果不知道只要選兩個厚度為0.4mm的石棉墊圈墊上就行了。不過墊圈的邊緣不得伸入缸體內,其內孔也應比氣缸腔稍大,多餘的部分用快刀切掉,以免影響轉子和滑片的運動。為便於轉子和缸蓋的安裝,在缸體端面和石棉墊上塗上一層潤滑脂,以便將石棉墊粘住。 檢查定位銷,如果原定位銷有彎曲或變形,一定要更換。否則,影響轉子底部間隙。定位銷每端兩個,180°對稱布置。與普通定位銷不同的是,該機的定位銷是空心的,除了便於拆卸之外,還起一定的安全保護作用。當發生滑片脫落等事故時,易於剪下,保護缸體不被擠裂。因此,更換定位銷時,一定要將銷子加工成空心的。裝好定位銷後,將轉子推入缸體,對好銷孔和墊圈,均勻地鎖緊所有的缸蓋螺母。 5)膨脹端最小間隙C2min的確定 確定膨脹最小間隙C2min的方法有兩種,一是從銘牌上查找或要求製造廠提供。表3列出了C200及C225型的間隙值,由機器銘牌提供。若該數據無從查找,也可自行計算,具體方法是根據線膨脹原理,取一定長度的舊滑片作為試樣,利用烘乾箱,測定其線膨脹係數,轉子的材質為45鋼,其膨脹係數是已知的,兩者比較取大值,計算出臨界溫度(163℃)下轉子或滑片的膨脹量。筆者經多年的實踐推算,得出一經驗公式,膨脹端的最小間隙等於上述膨脹量加上固定端最大間隙。而固定端最大間隙可從表3查找,這些數據由FULLER公司提供。 經有關資料介紹,滑片為一種石棉層壓板經機械加工而成。筆者在1997年對進口滑片的膨脹係數進行過一次測定,取舊滑片製成兩塊試件,其中Ⅰ號試件的尺寸為399.94×93.5×8,Ⅱ號試件的尺寸為402.6×74.6×8,室溫為26℃,測定結果見表圖
進口滑片線膨脹係數測定結果圖
| 試件長度/mm | 膨脹係數α/(×10-6/℃) | ||||||
| 26℃ | 100℃ | 163℃ | 200℃ | 100℃ | 163℃ | 200℃ | |
| Ⅰ | 399.94 | 400.23 | 400.55 | 400.74 | 9.8 | 11.13 | 11.5 |
| Ⅱ | 402.6 | 402.88 | 403.22 | 403.4 | 9.4 | 11.24 | 11.4 |
公式1註:表中膨脹係數α的數值系根據公式(1)計算所得。
從表圖可以看出,在正常工作溫度範圍(121~163℃)內,滑片與轉子的線膨脹係數幾乎相同。因此,只要量出轉子長度,算出轉子在163℃時的線膨脹量,根據公式即可得出膨脹端的最小間隙C2min。如C300壓縮機,轉子長度l0=1301.5mm,假設室溫t0=26℃,根據上述公式求其膨脹端最小間隙C2min。
C2min=l0×α×△t×C1max=1301.5×11.2×10-6×(163-26)+0.559=2.556mm
膨脹端墊圈厚度的確定
取一根直徑2mm以上的鉛絲,利用轉子槽懸掛纏繞在轉子端面上,暫時不墊缸頭墊圈,裝上缸蓋及軸承,間隔鎖緊一半螺母。然後,打開缸蓋,用千分尺測量鉛絲在各個區域內的壓痕厚度,取最小值與該端允許最小值C2min比較,其差值即為缸蓋墊圈的最小厚度。值得注意的是,安裝墊圈時,還要考慮墊圈的壓縮量,通常石棉墊圈的壓縮量為0.05mm,紙墊的壓縮量為0.025mm。另外,為防止拆卸時破壞墊圈,延長使用壽命,應將石棉墊圈靠近缸體。
滑片裝配
由於結構設計上的需要,滑片的長度通常都比轉子長1mm左右。但我們裝配過程中經常發現,滑片長度不一定都很標準,即使同一盒也有長短不一現象,有的滑片甚至比轉子長2~3mm,滑片太長將導致缸蓋的異常磨損和自身的彎曲損壞。因此,在裝配前,要對滑片進行逐片檢測,對那些長度不符合要求的滑片要上銑床處理,使之與轉子的長度差小於1.2m。在滑片裝入前,應在其表面塗抹上一層本機所用的潤滑油,使滑片在槽中運動自如。
安裝膨脹端定位銷及缸蓋
按前述方法裝好缸頭墊圈及定位銷,裝上缸蓋,擰緊軸承定位螺母,再裝好軸承蓋,並將所有螺母均勻地緊固。
安裝木銷、調整同心度
裝好木銷、調整同心度。聯軸節間距為3~5mm,徑向與端面跳動均應控制在0.15mm以內。
安裝注油器、檢查潤滑情況
裝完注油器,將油箱加滿油,再鬆開壓縮機各進油口的單向閥管螺母,用手搖動注油器,直至每根銅管中的空氣排淨,單向閥終端出油,再擰緊螺母。同時,擰開軸承壓蓋上的螺塞,給兩端軸承腔內加入適量(約0.3L)本機用油。
在正常排氣溫度範圍內本機所用的潤滑油性能必須達到下列標準,等級:SAE40;粘度:99℃時70~90SSU;閃點最低為232℃。FULLER公司推薦牌號為:Mobil oil-Delvac1140或1240;Shell oil-Ratella oil150或Carnea oil 150;Sunoil-Sunvis 790等。我廠過去曾用Carnea oil 150,後因購買不便和價格問題改用Delvac1240。
只有當注油器能正常工作,所有潤滑點均預先加油後,才可進行試機。
問題及措施
排氣溫控開關易損壞
在排氣側法蘭上,安裝了雙金屬溫度計,其作用是測溫、報警和聯鎖壓縮機。由於溫度計直接安裝在機器法蘭上,壓縮機運行時振動較大,容易將錶針、錶盤振壞,使之無法起到有效的安全保護作用。我廠前幾年出現的幾次事故均因該溫度計損壞,使最後一道保護失效。針對這種情況,我們已先後對該溫控裝置進行改型,選用錶盤與探頭分離,錶盤與探頭為軟管聯接的雙金屬溫度計。這種溫度計由於錶盤裝在牆壁上,僅探頭裝在機器上,有效地隔離了振源,因此,不容易損壞。
靶式流量計不可靠
FULLER壓縮機採用安裝在機器頂部冷卻水出口處的靶式流量計來控制冷卻水的最低流量,在使用中發現,流量計的調節範圍太小,調節不靈敏,加上機器的振動,容易損壞,有時還會漏水,可靠性差。現我們在冷卻水進口處安裝一水壓開關取代原靶式流量計來控制水流,可靠性較以往明顯提高。
注油器無報警裝置
有關說明書雖提到,與FULLER壓縮機配套的注油器設計了報警裝置,其中包括低油位開關和凸輪軸失速報警開關。但我廠的幾台壓縮機無論是進口的,還是國產的,都未配備這兩種保護裝置,直接影響到壓縮機的安全運行。特別是當凸輪軸失速時,必然造成斷油,燒壞機器。因此,在注油器凸輪軸的非驅動端加裝一個測速開關,使之與主電機聯鎖,就可避免許多重大事故。至於油位開關,若因線路問題不便安裝,則可通過加強巡檢以及增加輔助油箱的辦法加以解決。另外,隨著壓縮機使用年限的增加,缸體內壁出現波紋,滑片的壽命越來越短,消耗量增大,目前國內還沒有生產滑片的廠家,而進口滑片價格很貴。因此,國內廠家在引進主機製造技術的同時,若能開發製造國產滑片,意義將非常重大。

