
歧化反應:
歸中反應就是指同種元素的不同化合物發生氧化還原反應,那種元素的化合價向中間靠攏。
歧化反應剛好與歸中反應相反,一種元素的化合價向兩邊散開,
例如2Na2O2+2CO2====2Na2CO3+O2
此反應中,Na2O2中的O是-1價,他跟CO2反應後生成O為-2價的Na2CO3和O為0價的O2
不同價態的同種元素間發生氧化還原反應,其結果是兩種價態只能相互靠近或最多達到相同的價態,而決不會出現高價態變低、低價態變高的交叉現象。——歸中反應規律
價態歸中是指,高價態的化合價降低,低價態的化合價升高,但不可能低的最後升的比原來高價態化合價還高。
歸中現象:
1、氧化還原反應中的歸中反應:
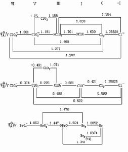
含有同一元素的不同價態的兩種物質發生反應,生成只含有該元素中間價態的物質的反應叫做歸中反應。發生歸中反應的條件是要符合中間價態理論:含有同一元素的不同價態的兩種物質,只有當這種元素有中間價態時,才有可能發生歸中反應。而且高低價態變化的結果是生成該元素的中間價態。歸中反應的特點是氧化產物和還原產物是同一種物質。利用中間價態理論可以解釋為什麼二氧化硫可用濃硫酸乾燥(因為不存在+5價的硫)。
C+CO2=2CO
SO2+2H2S=3S↓+2H2O
H2SO3+2H2S=3S↓+3H2O
H2S+3H2SO4(濃)=4SO2+4H2O
2Fe3++Fe=3Fe2+
6HCl+KClO3=KCl+3Cl2↑+3H2O
5NaBr+NaBrO3+3H2SO4=3Br2+3Na2SO4+3H2O
ca(clo)2+4HCl(濃)=2Cl2↑+CaCl2+2H2O
CuO+Cu=Cu2O
2Na+Na2O2 2Na2O
2.、複分解反應中的歸中反應:
複分解反應的歸中反應是指鹼與多元酸反應,正鹽與對應的酸式鹽或酸反應,酸與對應的酸式鹽反應,其中的氫原子數出現的歸中現象,從而生成一種酸式鹽的一類反應。其中反映的歸中規律正是酸式鹽的形成條件。
(1) 鹼與多元酸反應:當多元酸過量時可形成酸式鹽:
NaOH+H2S=NaHS+H2O;
H2SO4十NaOH=NaHso4十H2O
(2) 多元酸與對應的正鹽反應:
Na2S+H2S=2NaHS
CaCO3+H2O+CO2=Ca(HCO3)2
MgCO3+H2O+CO2=Mg(HCO3)2
Na2SO4+H2SO4=2NaHSO4
(NH4)2SO3+SO2+H2O=2NH4HSO3
Ca3(PO4)2+4H3PO4=3Ca(H2PO4)2
(3) 多元酸與對應的酸式鹽
Na2HPO4+H3PO4=2NaH2PO4
(4) 正鹽與對應的酸式鹽:
NaH2PO4+Na3PO4=2Na2HPO4
如果把正鹽和鹼中所含的可電離的氫離子看成是零,那么,生成酸式鹽的歸中條件是:兩種反應物組成上要相差兩個或兩個以上可電離的氫離子。如果兩種反應物的組成相差兩個以上可電離的氫離子(即三元酸與對應正鹽或與鹼反應),則生成物與反應物用量有關,但符合“顯強性”原理,即生成物的組成接近於過量物的組成。
如 (註:n表示物質的量)
≤1,其反應為:H3PO4+NaOH=NaH2PO4+H2O
在1—2之間,其反應為:2H3PO4+3NaOH=NaH2PO4+Na2HPO4+3H2O
=2,其反應為:H3PO4+2NaOH=Na2HPO2+2H2O
在2—3之間,其反應為:2H3PO4+5NaOH=Na2HPO4+Na3PO4+5H2O
≥3,其反應為:H3PO4+3NaOH=Na3PO4+3H2O
又如
≥2,其反應為:2H3PO4+Na3PO4=3NaH2PO4
=1,其反應為:H3PO4+Na3PO4=NaH2PO4+Na2HPO4
≤ ,其反應為:H3PO4+2Na3PO4=3Na2HPO4
3.、雙水解反應中的歸中反應:
這類歸中反應是指能形成兩性化合物的元素所形成的兩類鹽溶液反應形成氫氧化物的一類反應。這是金屬陽離子和該金屬所生成的陰離子生成中性的氫氧化物沉澱的歸中現象。如:
Al3++3 +6H2O=4Al(OH)3↓
Zn2++ +2H2O=2Zn(OH)2↓
“高價+低價→中間價”解釋:
例:2H2S+SO2===3S+2H2O
此反應中,H2S中的S是-2價,SO2中的S是+4價,它們兩者發生氧化還原反應後,生成0價的S和水
