背景
功率電傳作動器(PBW)在空客-380和安-148等大飛機上都被採用,已經成為大飛機的關鍵技術,其中電靜液作動器(EHA)是一個主要發展方向。歐美俄等國以各自的特點投入大量的資源發展功率電傳作動器,並已成功運用。
現代大型飛機需要的電驅動的功率電傳作動器,它以動態回響較慢和熱量很難散發與以往的液壓作動器不同,特別在大功率的EHA技術上我國還沒有取得突破性進展,我們仍然在繼續探索。
分類
功率電傳分類功率電傳作動器的種類主要有三種:機電作動器(EMA Electro-Mechanical Actuator)、電靜液作動器(EHA Electro-Hydrostatic Actuator)、電液伺服泵作動器 (ESPA Electro-hydraulic Servo Pump Actuator)。
EMA 一般由電動機通過機械齒輪裝置直接驅動作動器輸出,EHA 則利用電動機驅動專用液壓泵為活塞提供液壓功率產生作動器輸出。
EHA 有兩種實現方法一種是利用可變速電機驅動固定位移液壓泵,稱為EHA ;另一種是利用恆速電機驅動可變位移液壓泵,稱為ESPA 或IAP Intergrated Actuation Package。
三種作動器的比較
上述三種作動器各有特點部分特徵的比較如下:
當要改變作動方向時EMA 和EHA 中的電機都必須反轉,而對於ESPA 無論作動方向如何電機都只單向轉動。
EMA 和EHA 都需要電子控制器來控制和調節電機的旋轉速度和方向,而ESPA 中的電機轉速是恆定的,即使在無負載時ESPA 電機仍恆速旋轉,而其他兩種作動器不是這樣。
為了對抗氣流施加在操縱面上的壓力。而保持操縱面的偏轉位置或角度與ESPA 中的電機保持恆速轉動不同,EMA 和EHA 中的電機必須停轉。
當操縱面卡死在某個偏轉位置時與其他兩種作動器相比EMA 類型的作動器容易受到這種故障模式的影響。
作動器的功能和性能要求
為了保證系統的正確運行採用功率電傳的作動器應具有以下功能:
伺服控制功能
故障檢測功能
余度管理功能等
1.伺服控制功能
2.故障檢測功能
3.余度管理功能等
採用功率電傳的作動器除應滿足行程頻率特性功率和速度以及滿足驅動舵面所要求的輸出力等方面的基本要求外還應滿足如下性能
電源電子控制器採用DC 28V 驅動採用DC 270V
電流消耗滿足驅動功率要求
余度採用2 或3 余度配置
另外重量輕體積小效率高不需強迫風冷等也都是對功率電傳作動器的要求
1.電源電子控制器採用DC 28V 驅動採用DC 270V
2.電流消耗滿足驅動功率要求
3.余度採用2 或3 余度配置
4.另外重量輕體積小效率高不需強迫風冷等也都是對功率電傳作動器的要求
功率電傳作動器的關鍵技術
材料、元件與集成設計製造技術
功率電傳(1)、高性能廉價永磁材料。新型永磁材料能進一步減輕作動器的重量、提高性能,還能改善由於閃電、電磁脈衝等強磁場引起的失磁作用。目前,國外一般採用第三代稀土永磁材料製造電力作動系統中的電動機,國內也在大力發展採用釹鐵硼永磁材料的電動機,剩磁達到0.75T,矯頑力達到1050kA/m,最大磁能積達到的先進水平。
功率電傳(2)、高溫、高效、集成的大功率半導體器件。國外大功率的金屬氧化物半導體控制的可控矽(MCT)的電流密度可達,目前第四代大功率絕緣柵雙極電晶體IGBT也已問世,其特點是開關器件發熱減少;高載波控制,使輸出電流波形有明顯改善;開關頻率提高,使之超過人耳的感受範圍,即實現了電機運行的靜音化;驅動功率減少,體積趨於更小。採用這些新型大功率器件後,能更可靠、更有效地實現功率變換和精確對電機實行控制,同時使電動機的功率變換器重量顯著減輕。
(3)、體積小、重量輕、高效率電機的設計製造技術。
(4)、集成設計製造技術。對於EHA而言,需要解決集成電機泵技術,即採用電機、液壓泵一體化結構設計;油缸以及感測器、油箱、檢測閥、油濾、釋放閥等的集成設計製造。
冗餘控制與系統監控
F/A-18SRA試飛的EACS平尾對於電力作動系統,通常需要通過形成余度以滿足系統可靠性指標。如圖所示,F/A-18SRA試飛的EACS平尾EHA系統採用三重控制器和二通道作動器。系統的神經中樞是三重冗餘控制器。此外,EACS系統採用了複雜的余度管理(RM,RedundancyManagement)技術,包括硬體和軟體的余度管理,其中要重點解決的問題是:操作模式、系統再入與復位、故障識別和重構、故障記錄。
快速性與複合控制
發展電力作動系統,還必須解決EHA、EMA作動器本身的快速回響控制問題;電機、液壓泵等的複合調節及協調控制算法等問題,因此,採用一體化作動器實現這些功能,可能比當前採用集中供油液壓作動系統的算法要複雜和困難得多。
各國方案特點分析
俄羅斯方案特點分析
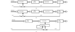
伊爾-76飛機的自主舵機原理圖俄羅斯仍然堅持使用與傳統液壓作動器相類似的方案,即在原來傳統液壓作動器上增加了電機油泵組成功率電傳作動器(自主舵機)。這種方案由於電機處於全轉速工作和油泵壓力處在最高壓力,因此舵機發熱問題很難很好解決。雖然在後來AH-148大飛機上進行改進,但輸出功率也僅為約500W。
伊爾-76飛機的自主舵機(見圖)由交流電機驅動單向恆壓變數泵向伺服閥提供壓力和流量,溢流閥用來保
AH-148飛機的自主舵機原理圖在安-148飛機使用的自主舵機(如圖)與伊爾-76飛機的自主舵機較類似。主要區別是把伺服閥輸出的負載壓差取出,反饋給單向變數泵的控制斜盤,使油泵的壓力與舵機作動筒負載相聯繫。當舵機空載時,伺服閥兩腔負載壓力差近似為零,單向變數泵輸出壓力為3MPa,當舵機滿載時,伺服閥兩腔負載壓力差最大,單向變數泵輸出壓力為21MPa,部分實現了按需分配功率的原則,降低能耗,減少發熱。但是,由於電機仍以最大恆速旋轉,仍不能根本上解決發熱問題。因此,舵機輸出功率級只能在幾百瓦左右。
歐美方案方案特點分析
電靜液作動器原理圖為了提高效率,減少發熱,目前廣泛採用圖所示的以容積調速系統為基礎的電靜液作動器方案,其特點就是
效率較高,發熱量小。該電靜液作動器一般是由控制器、直流無刷伺服電動機及雙向液壓泵、液壓作動筒及用作油箱的蓄能器組成。其中,控制器包括位置伺服控制和電動機控制兩個部分,位置伺服控制實現位置迴路閉合和邏輯控制等功能。電動機控制部分則回響來自伺服控制部分的信號,對電動機實施控制,進而驅動雙向液壓泵。該電靜液作動器的雙向液壓泵直接控制作動筒的位置、速度和方向。除液壓泵等液壓件本身的泄漏外,作動器沒有其它的能量損失,因此效率高,溫升小。
由於電機和泵等元件的調節慣量較大,因此快速性不如閥控系統。該原理方案是把液壓方面的難點轉移到大功率電子控制方面,因此會帶來如下問題:
a)、作動器在帶載工作時,對270V電源電壓影響太大,污染整個電源系統。
b)、作動器帶載工作時,在定值指令信號作用下,作動筒定位不容易穩定。
c)、動態特性上不去,通常頻帶<3.5Hz。

