信號機類型
多時段定時式信號機
多時段定時式信號機是最簡單、經濟的一種交通信號控制機。將定時信號配時方案在此類信號控制機內設定之後,該類信號控制機即以設定的配時方案操縱信號燈,以固定的周期及各燈色時間輪流啟閉各向信號燈早期的定時式信號控制機多為機電型,並且在實際套用中使用多年,主要由同步電動機、定時刻度盤、定時鍵、控制周期時長的齒輪、凸輪軸、凸輪、凸輪起動裝置等部件組成。現在國內外的少部分路口及道路臨時施工等情況下還有在使用該種類型的信號機。目前大量使用的定時式信號控制機多為積體電路信號控制機,且一般會做成多功能控制機。這種類型的信號控制機維護十分方便,發生故障時,只要把故障線路板換下即可。其功能也得到了較大的擴展,能設定至少48個時段,能根據不同周日類型對20種以上控制方案進行調整;能實現至少16個相位控制;能提供至少48路燈控輸出,可擴充到96路燈控輸出,可同時獨立控制4個相鄰路口;能夠調節設定相位差參數,用GPS進行對時,實現無電纜聯控制功能;可連線三色倒計時顯示屏;整機全模組化設計,信號機的維修為現場快速模組更換。
感應控制式信號機
感應控制式信號機分為半感應控制機和全感應控制機。半感應控制機主要提供半感應控制功能。全感應信號控制機對所有信號相位都執行交通感應控制。全感應控制機可以對一個簡單的十字交叉口進行控制,也可以對帶有4個左轉彎車道或多條支路的複雜交叉口進行控制。
協調控制式信號機
協調控制式信號機是目前大中城市交通信號控制系統建設中套用的主流產品,一般的協調控制式信號機都是一種計算機式的智慧型型控制機,具有信息存儲、處理、運算、判斷、傳輸等功能。這種控制機的大部分功能由軟體來完成,軟體修改十分方便,這使得控制機的靈活性和擴展性大為提高,所以多做成多功能的通用控制機。
此類信號機一般支持多種通信方式(如光纜、電話網、無線網等),可以通過多種方式進行信號機的設定(如指揮中心遠程設定、手提電腦現場設定、本機的鍵盤現場設定等),通常採用模組化結構,具有很好的系統擴展性。信號機可實現的控制類型較多,如多時段定時多方案、交通管制、手動控制、固定周期控制、感應控制、指揮中心步進控制、幹線協調控制、自適應協調控制等功能。
隨著控制技術的發展和實時檢測技術的進步,集中協調式信號機的功能大大提高。除可接收處理來自區域計算機的命令,並向區域計算機反饋工作狀態和故障信息進行區域控制之外,還具有強大的單點實時自適應控制能力,提供可行的控制策略與算法,融合信號控制機檢測器及交通流量檢測器採集的交通流量與排隊長度作為控制參量,達到協調控制或單點最佳化信號交叉口的目的,以提高交叉口通行能力。
主控制機
主控制機也叫中心控制機。只在信號控制系統中,才需要主控制機。就是線上控或面控系統中,用來操作其他交叉口控制機的控制機。為此,在主控制機與其他的控制機之間必須有通信聯繫,把各交叉口的交通數據傳送到主控制機,主控制機接收到數據作出控制決定後把控制指令再下達到各交叉口控制機。所以也把這種控制機叫上位機,而把受它控制的信號控制機叫下位機。
全感應信號控制原理
全感應控制適用於相交道路優先等級相當、交通量相仿且變化較大的路口。根據實際路口的不同交通流狀況,可以採用與之適應的全感應控制方式與控制算法。例如,基於車輛到達的步進式全感應控制適用於具有多條主幹道,且主幹道車流量變化較大的路口。基於類飽和度的全感應控制適用於具有多條主幹道,且主幹道車流量較大的路口;基於車輛到達的跳相式全感應控制適用於主相位與次相位車流量相差較大,且次相位數目較多的路口,類似於一個擴展了的半感應控制。基於車輛到達的步進式全感應控制可以看作車輛檢測器埋設在主幹道的半感應控制的一種擴展。這種感應控制需要確定所有信號相位的初始綠燈時間、單位延續綠燈時間和最大綠燈時間,這些時間參數的確定方法與其在半感應控制中的確定方法類似。
以車輛到來式全感應信號控制來說明全感應控制的工作原理。它適用於交叉路口各個進口交通量不大,但波動較大的交叉路口,在所有進口道上均設定車輛檢測器,提供車輛到來感應信息。
車輛到來式全感應控制參數有:各相位需保證的最小綠燈時間G,即初始綠燈時間和單位綠燈延長時間之和;各相位允許最大綠燈時間G。
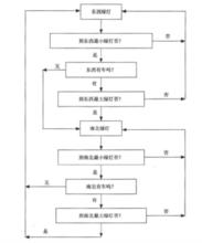
車輛到來式全感應信號控制的流程如下圖所示:
車輛到來全感應信號控制流程圖由上圖可知,全感應信號控制的工作過程如下:
相位A最小綠燈時間G,包括初始綠燈時間和單位綠燈延長時間。
在A相位單位綠燈延長時間內,如果本相位有車輛到來,則從車輛到來的時刻開始,增加一個新的單位綠燈延長時間。
在此單位綠燈延長時間內,如果本相位沒有車輛到來,則待此延長時間結束後,結束A相位綠燈時間,同時將通行權讓給B相位。
如果在每次增加的單位綠燈延長時間內,A相位均有車輛到來,則重複上述第二過程。當增加某次單位綠燈延長時間時,使得A相位的綠燈時間大於允許的最大值G,則取消此次延長時間,等待延長時間結束後,將通行權讓給B相位。
給B相位以最小綠燈時間G,包括初始綠燈時間和單位綠燈延長時間。
在B相位單位綠燈延長時間內,如果本相位沒有車輛到來,則重複過程3。
在B相位單位綠燈延長時間內,如果本相位有車輛到來,則重複過程2和4。當B相位綠燈時間大於允許的最大值G時,則取消後面的單位綠燈延長時間,並同時將通行權讓給A相位。
因此,當兩相位綠燈時間均達到最大值時,全感應控制無異於定時控制。
由以上兩個方面的控制流程圖可見,車輛到來式感應控制可以有效地利用綠燈時間。
感應式線控系統
在幹道上交通量相當小的情況下,為確保幹道少量車輛的連續通行,而維持線控系統,這時所產生的總延誤,很可能比單點信號控制還大。為避免這一缺點,線上控制系統中使用感應式信號控制機,相應配以車輛檢測器。當檢測器測得交通量增加時,開動主控制機,使之全面執行線控系統的控制;而在交通量降低時,各交叉口的信號機各自按獨立狀態操作,使線控系統既能得到良好的連續通車的效果,又能保持適應各個交叉口的交通變化。此系統稱為感應式線控系統。
1.使用半感應信號機的線控系統
線上控系統中採用半感應信號機,並用線控系統的基本配時方案來控制這些半感應信號機。這種系統,在每個交叉口的次要街道上安裝檢測器,在次要街道檢測到有車時,僅允許次要街道不影響主要街道連續通行的前提下,可得到基本配時方案內的部分綠燈時間,並根據交通檢測的結果,次要街道的綠燈一有可能就儘快結束;次要街道上沒有車輛時,綠燈將一直分配給主幹線。
2.使用全感應信號機的線控系統
在採用全感應信號機線控系統中,一般情況下,系統各交叉口可按其正常的單點全感應方式操作;在系統中某個交叉口前的幹道上測得有車隊存在時,上游交叉口信號控制機即通知下游鄰近控制機,下游控制機協調單元即強令正在執行的相交街道或對向左轉相位及時結束,讓幹道上車隊到達時能夠順利通過交叉口。
3.關鍵交叉口感應式線控系統
英國曾用過一種簡易的感應式線控系統,這種系統僅在關鍵交叉口上使用感應式控制機安裝車輛檢測器,而把其前後信號控制機同關鍵交叉口的控制機連線起來。同下游交叉口連線的感應聯動信號,可避免因下游交叉口的車輛排隊對關鍵交又口通車的影響,這種連線方式叫前向連線;同上游交叉口連線的感應聯動信號,可避免因關鍵交叉口的車輛排隊對上游交叉口通車的影響,這種連線方式叫後向連線。
