定義
在下一代移動通信系統中,載頻的提高將使小區半徑進一步縮小,從而使得切換對系統性能的影響更為重要。此外,將來的移動通信系統要求能夠容納不同比特率、不同服務質量要求的多媒體業務,如:語音、視頻、數據等。對於切換請求的處理將直接影響多媒體用戶的QoS。由於通話過程中的中斷比阻塞一個新的呼叫請求更加令用戶難以忍受,因此現在的許多資源管理方案都是針對切換用戶設定更高的優先權,從而減小切換用戶掉話的機率。
一般的,我們將這些針對切換用戶設定較高的優先權的資源分配算法稱為切換優先算法,兩種常用的切換方案為保護信道方案(或稱為資源預留方案)和排隊方案。
保護信道是當工作信道出現故障時接替它繼續傳輸數據的信道。正常情況下保護信道也在傳工作業務信號,保護時隙為每個通道所專用;而後者使用共享保護,即正常情況下保護信道是空閒的,保護時隙被每對節點共享。 但是保護信道方案通常會降低系統中的信道利用率。因此,一些新的自適應的決定保護信道數目的方法被提出以解決這個問題。保護信道有效利用的前提是設法確定最優的預留的保護信道的數目,了解各區域的業務分布情況,同時預測信道占用時間。
自動保護切換(APS)
體系結構
在SDH標準中,定義了兩類APS體系結構:1+1 APS和1:n APS。
在1+1結構中,同步傳輸模組(STM—N)同時在工作信道(段)和保護信道(段)上傳送,也就是說在傳送端STM—N信號永久地與工作信道和保護信道相連。接收端的復用段保護功能(MSP)對兩個信道上的STM—N信號條件進行監視,並選擇較合適的一路信號。這種保護方式可靠性較高,高速大容量系統經常採用。特別是在SDH發展初期,或網路的邊緣處沒有多餘路由可選時是一種常用的保護措施。缺點是成本較高。
1:n APS體系結構能夠將n個工作信道中的任意一個切換到唯一的保護信道上。保護信道由多個工作信道共享。在兩端,n個STM—N信道中的一個信道與保護信道相連。MSP對接收信號狀況進行監視和評價,執行橋接和從保護信道選擇合適的STM—N信號。
APS協定
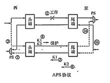
APS協定APS協定通過SDH段開銷中的K1、K2位元組進行通信。K1位元組用於請求切換信道,1~4位表示請求的類型,5~8位表示請求切換的信道號。K2位元組用於確認橋接到保護信道的信道號,1~4位表示橋接到保護信道的信道號,第5位為0時表示1+1 APS,為1時表示1:挖APS,6~8位保留。
APS協定的操作可以概括如右圖所示:當一個故障被檢測出來後,尾端通過保護信道發出包含故障信道號的K1位元組。首端在收到K1位元組後,橋接該西一東信道,並發出K1和K2位元組。KI位元組用於反向請求(對雙向切換),K2位元組用於確認。在尾端節點,接收的K2位元組證實信道號,並完成西一東信道的保護切換。同時,按照K1的要求,東一西信道被橋接。為完成雙向切換,K2位元組從尾端發出。當該K2位元組被頭端接收時,東一西信道被切換,從而完成APS過程。在1+1 APS結構中,由於頭端固定橋接,因此切換的決定只需由尾端單獨做出。對雙向切換,K1位元組被用於向另一端傳送信號狀況,而實際的切換由尾端決定。

