故事背景
霧之本境本名白鹿淵,山區終年霧氣籠罩,據說夜晚進入這片霧中,靈魂將在世界中完全蒸發,進入“非生非死”的世界。神秘的白鹿淵高中就坐落於此。坐落在山中的封閉式高中學校,看似沒有並什麼不同。直到隨後一事件的“突然”發生——霧夜中有一學生慘遭虐殺,儘管學校和警方聲稱是殺人狂“霧之境主”所為,但是在每個學生心中卻有著各種奇異的想法……你將扮演在中途轉入學校的高中生。抽絲剝繭的找尋真相……既是對真相的探究,也是對人性價值的尋找。
遊戲特點
1. 更加撲朔迷離的情節
《霧之本境》將繼續承襲《雪之本境》帶給大家的震撼。情節將更加緊張刺激,故事連貫,匪夷所思。
蚍蜉撼樹女子,亦是天使?亦是惡魔?2. 完整的故事情節《霧之本境》是一款完整的遊戲。情節細膩,撲朔迷離,三個結局層層震撼。
3.各種誠意進化滿載
1)《霧之本境》中,大家將體驗一種有趣的解密方式。結局亦是線索,只有通關,才能完整領略“霧之本境”世界的全貌。
2)《霧之本境》與《雪之本境》的關聯也會呈現,當然,沒有玩過前作的大家也可以無障礙的感受到《霧之本境》的樂趣。
3)強化的美工與細節。GAL外表下,隱藏著“里中國文化”。
關鍵名詞
白鹿淵高中
遊戲圖片“本校為現代的全日制高中學校。考慮到學員的人身安全,我們採用了封閉式的管理。您可以享受到“與世隔絕”,“陶冶情操”的良好氛圍。另外,請不要試圖翻越圍牆,襲擊保全。這將會記錄在學分中,影響同學的畢業。”離奇的殺人事件
白鹿淵高中似乎發生著離奇的虐殺案件,儘管學校和警方聲稱是殺人狂“霧之境主”所為,但是在每個學生心中卻有著各種奇異的想法。
霧之境主
聲稱掌握著“斬殺推理之劍”的境主肆無忌憚進行殺戮。另人疑惑的是,沒有人能站出來反抗,也沒有人願意去調查真相。
究竟是殺人狂的“惡趣味”?還是另有預謀的“全局罪惡”?一切歡樂的小事背後可能早已暗濤洶湧,殺機四伏。
霧之本境玩家將扮演在中途轉入學校的普通高中生。抽絲剝繭的找尋真相……
即是對真相的探究,也是對人性價值的尋找。
角色介紹
| 張泊岩(玩家扮演) 身份:轉校生 年齡:17 性別:男 因為記憶而停滯不前,“雪之本境慘案”發生讓他開始大量閱讀偵探和刑偵書籍。直到來到“白鹿淵”高中,他的才能得以發揮。但是,由於“天資不高”和“回憶的折磨”讓他隨時都可能成為境主的殺戮目標。 | |
| 揚雨晴 (說的就是你!跟我乾!一起逃出去!) 身份:學生會會長 年齡:17 性別:女 正義感,快速的反應力都在她身上得以體現。身為學生會會長的她,一直用有限的資源去尋找著“霧之境主”。但由於職位的原因,她很可能已經成為了境主的攻擊目標。 | 蚍蜉撼樹女子 揚雨晴 |
| 祁連遙 (繁簡自然,死生亦夢。) 身份:白鹿淵天才學生 年齡:18 性別:女 祁連遙總是以旁觀者的身份來默默看著事態的發展。由於高中無聊的生活讓她穿起了詭異的服裝。 但是隨著張泊岩的行動,讓她做出了艱難決定:褪去這身寬大的衣袖,用這聰明的頭腦來對抗境主。 | 優雅清高女子 祁連遙 |
| 苒雪憶 (我只是一塊沒人要的小橡皮……) 身份:白鹿淵學生 年齡:16 性別:女 因為家庭困難,苒雪憶一直在食堂中打工。但是另人困惑的是沒有人願意吃她賣的食物。內向,缺乏安全感是她特質。 | 平凡樸素女子 苒雪憶 |
| 汪星涵 (如果有人因我而感到方便,那么我的努力也值得了。) 身份:白鹿淵學生 年齡:17 性別:女 總是坐在花壇旁讀書的少女,坦誠而且有愛心。雖然她的身影總能引起男生的遐想,但是很少有人知道她為什麼要坐在花壇邊上。 | 地圖少女 汪星涵 |
| 童玲 (千萬不要挑釁境主,這是活下去的唯一法則。) 身份:學生會秘書處處長 年齡:16 性別:女 謹慎專注是她的行事特點。學生會的工作總能做到“滴水不漏”。但是,由於不會與人交流。很少人能解讀她的內心想法。就算這樣,也沒有人能否認:她是學生會中最強力的角色。 | 思維周密女子 童玲 |
| 歸海楓 (什麼?氣質變了?其實一直都這樣吧。) 身份:司機 年齡:20 性別:女 本不應存活的人出現在了“霧之本境”中。這代表著什麼? | 雪之本境的倖存者 歸海楓 |
| 賀雲舟 身份:學生會幹事 年齡:17 性別:男 待人坦誠,不拘小節。能幫助學生會其他成員做些體力活。是一位值得信賴的夥伴。 | 熱誠開朗少年 霧之本境 |
| 趙書宇 身份:學生會幹事 ,張泊岩舍友 年齡:17 性別:男 趙書宇在學生會裡是一位很好的雜物人員。由於天性有些懦弱,所以面對各種緊急事務顯得力不從心。當然,這種“無為”特質沒準能讓他度過各種難關。 | 溫和無為少年 霧之本境 |
| 周方謹 性別:男 身份:高二年級國語教師 年齡:31 周方謹是極少數能直面境主的教師。在學生心目中也保持著威嚴的形象。可是他總在課堂中提及“殺人事件”,增加了學生的不安全感。 | 白鹿淵高中教師 霧之本境 |
| 苒浩 性別:男 身份:高二學生 年齡:17 曾經張泊岩宿舍床位的擁有者。不過張泊岩並沒有見過他。 | 神秘前舍友 |
| 王用斌 性別:男 身份:高三學生、學生會前任秘書處主席 年齡:18 張泊岩見到的第一個死者。 | 神秘前學生會成員 |
| 霧之境主 (隨便他們,反正我的霧之本境馬上就要完成了) 性別:女 身份:境主 年齡不詳 霧之本境的境主,操縱者。雖說是境主,但是似乎只存在於虛幻的精神世界,而現實世界中的境主卻似乎另有其人? | 霧之境主 霧之本境 |
主題曲
《Rain Drop》
霧境終點作曲/編曲/後期:秋石
演唱:若葉かなこ
歌詞:
願我像緩緩飄落的雨點
在墜落地面前希望你能看見
在空中描繪流星的弧線
深深的划過了有你的世界
願我像緩緩飄落的雨點
在墜落地面前希望你能看見
在空中描繪流星的弧線
深深的划過了有你的世界
純潔善良的綠髮天使在天邊 雲之間 那聲音已聽不見
隨著風 在空中 慢慢飄過你發尖
在天邊 雲之間 那聲音已聽不見
隨著風 在空中 慢慢飄過你發尖
在天邊 雲之間 那聲音已聽不見
隨著風 在空中 慢慢飄過你發尖
在天邊 雲之間 那聲音已聽不見
隨著風 在空中 慢慢飄過你發尖
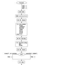
遊戲攻略
見右圖冊
攻略製作:wang_jm92
霧之本境攻略
揚雨晴
祁連遙
苒雪憶
汪星涵
童玲
歸海楓
霧之本境
霧之本境
霧之本境
霧之本境 