簡介
電磁鑄造的基本技術方法是,在金屬成形的過程中,在熔融金屬中施加由交變電場產生的磁場。根據電磁感應原理,在感應線圈中通入交變電流,就會在放入線圈的導體中感應出頻率相同的感應電流。由於渦電流和磁場的相互作用而產生洛倫茲力,該作用力在一個周期內的平均值指向熔體內部,即電磁壓力,相當於有容器存在時器壁產生的向內壓力。
所產生的電磁壓力通過克服液態金屬的靜壓力和表面張力而實現對熔融金屬形狀的控制。通過改變電磁場的具體布置和線圈電流就可以改變電磁壓力對熔融金屬的影響,達到改變被約束熔體形態的目的,從而鑄造出不同形狀的鑄件。電磁能夠使熔體被約束成形主要是依靠磁場在熔體表面產生的電磁壓力和熔體本身的靜壓力之間的平衡,通過調節兩者的相對大小及分布即可實現電磁約束成形。
電磁鑄造的特點
電磁鑄造法與傳統的帶有結晶器的鑄造法(direct chill casting,DC)相比,具有以下主要特點:
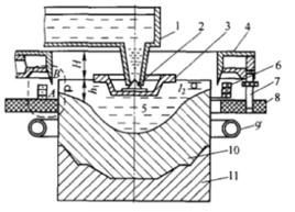
(1)DC法的液體金屬凝固靠結晶器壁的傳熱和二冷水區的冷卻,而在EMC法中,金屬液凝固主要在冷卻水的激冷作用下進行;
(2)金屬熔體在電磁場作用下進行結晶,液穴範圍內的熔融金屬將受到電磁場所固有的強制運動;
(3)由熔體下彎面到水冷帶距離比傳統的直接鑄造法小得多;
(4)電磁鑄造不存在金屬鑄模與鑄錠外殼之間的直接接觸;
(5)內部組織在強冷卻及電磁攪拌條件下形成。由於電磁攪拌作用,EMC中的金屬液穴較淺,凝固前沿較平直,糊狀區寬度也較小,枝晶間距較小,化學成分均勻,鑄錠巨觀組織均為細小等軸晶,因而具有較好的壓延性能。
鑒於以上特點,用電磁鑄造法鑄造的鋁或銅合金,其表面質量、巨觀組織、顯微結構、偏析和機械性能均有明顯的提高,鑄成的錠子加工性能極好,成品收得率高,無需進行表面精整處理,軋制後不用切邊或切邊量大大減少,使綜合成材率提高。
電磁鑄造的優點
電磁鑄造通過在金屬材料成形過程中施加適當的電磁攪拌力,控制晶粒大小和元素的分布,從而改善材料的性能。與普通連鑄法生產的鑄錠相比,EMC法有以下優點:
(1)鑄錠表面光滑,在壓力加工前可以不銑面或少銑面。而DC法生產的鑄錠表面不可避免地存在偏析瘤、冷隔和拉傷等缺陷,水冷鑄模與金屬間氣隙的存在常使鑄錠邊部出現成分偏析和晶粒粗大等問題,軋制前必須進行銑面處理,銑面量軟合金為5~10mm,硬合金為15~25mm。另外,DC法生產的鑄錠由於熱軋產生裂邊問題,還必須進行切邊加工。所以,EMC法使金屬利用率提高,節省能源和減少工序。
(2)電磁鑄造中液態金屬是在電磁力的約束下水冷強迫凝固,電磁攪拌作用使鑄錠的內部組織緻密、均勻,消除了DC法鑄錠表層附近出現的粗大晶粒帶,材料的機械性能特別是壓延性能大大提高,鑄錠橫截面的密度和硬度增加。
(3)鑄造速度高,一般比DC法提高10%~30%,提高了生產效率。
(4)冷卻水消耗量降低至50%~60%。
(5)無需彎曲鑄錠,也不再需要鑄錠與鑄模間的潤滑系統,減少了設備開支。
可以看出,電磁鑄造是目前生產優質鋁合金鑄錠的較好方法。由於鋁合金材料的性能在很大程度上取決於鑄錠的質量,對於要求較高的材料,例如沖制易拉罐的3004合金板材、一些航天航空材料等,採用電磁鑄造法生產的鑄錠加工,其成材率和產品合格率都高於其他方法生產的鑄錠。
板坯電磁鑄造方法
對於長寬比例不同的板形鑄坯進行電磁鑄造時主要有兩種方式:一種為水平鑄造法;另一種為垂直鑄造法。
水平電磁鑄造法是利用水平的高頻(HF)電磁場與由HF感應生成的渦電流相互作用,使金屬液水平方向懸浮起來實現熔體成形;垂直電磁鑄造法是使金屬液垂直穿過由長寬比大的電磁感應線圈產生的HF電磁場,熔體成形通過來自感應線圈的垂直HF電磁場與感應的渦電流共同作用實現。靜壓力的影響受垂直移動的電磁場控制。
垂直電磁鑄造法是目前採用較多的一種鑄造方法。由於很難實現完全無模鑄造,所以國外在電磁鑄鋼的試驗中均採用類似冷坩堝的結構,即在感應線圈中放置一些銅板條,鋼液與銅板條以點接觸來實現鑄造。在垂直電磁鑄造中,由於可以分別對電磁力和液體金屬懸浮進行分析,因此其不穩性是可控的,但此控制方法不適用於水平鑄造。另外垂直連鑄具有一個優點,其渦電流在鑄坯內是閉合迴路,從而減少了外部電流的電磁干擾。垂直鑄造需要用到三種電磁場:①高頻低幅磁場,用於約束液體金屬;②低頻移動磁場,能覆蓋到金屬熔體寬度方向的絕大部分,以便抵消液體金屬靜壓力的作用;③高頻移動磁場,可以提高懸浮力,用於補償鑄坯邊部的重力。
水平電磁鑄造法在液體金屬下方有均勻分布的水平磁場,而上方則要求儘可能小的磁場。理論上設計了這樣一個磁場,它是由交流線圈、磁鐵軛和磁極組成的。這種磁鐵通常又稱為“窗框”或“白圈”磁鐵,已廣泛用於粒子加速器中。在磁鐵的上部和下部線圈之間能產生出非常均勻的水平磁場。線上圈橫斷面方向上以及沿磁軛的反方向上,水平磁場強度呈線性下降。水平鑄造的開發研究主要致力於以下方面:一是水平小型鑄機的磁鐵設計;二是設計並製造出用於該方法的試驗性磁鐵。

