簡介
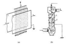
圖1 電氣除塵示意圖電氣除塵器又稱為靜電除塵器,它是利用電暈放電,使氣體中的塵粒帶上電荷,並通過靜電場的作用使塵粒從氣流中分離出來的除塵裝置。根據集塵極形式的不同,電氣除塵器又可分為如圖1(1-放電極;2-集塵極;3-煙氣入口;4-煙氣出口)所示的板式和管式兩種。其中(a)為板式;(b)為管式。
電氣除塵器工作原理
圖2 板式電氣除塵器原理圖圖2所示為板式電氣除塵器的原理圖,中部是兩端固定的金屬導線,作為放電極(電暈極),放電極接高壓直流電源的負極。兩邊的平板為集塵極,接電源正極。在電場作用下,空氣中的自由離子要向兩極移動,且電壓愈高,電場強度愈大,離子運動的速度愈快。由於離子的運動,極間形成了電流,開始時,空氣中的自由離子少,電流較小。當電壓升高到一定數值(幾萬伏或十幾萬伏)後,放電極附近的離子獲得了較高的能量和速度,去撞擊空氣中的中性原子,使中性原子分解成正、負離子,這種現象稱為空氣電離。空氣電離後,由於連鎖反應,使極間運動的離子數大大增加,表現為極間的電流(稱電暈電流)急劇增加,空氣便成了導體,放電極周圍的空氣全部電離後,在放電極周圍可以看見一圈淡藍色的光環,這個光環稱為電暈。放電極周圍(電暈區)的負離子和電子在電場力的作用下向正極移動,途中和煙氣中的飛灰塵粒互相撞擊,並黏附在飛灰塵粒上。因此,帶負電荷的飛灰塵粒在靜電場力作用下移向正極,中和後灰粒沉積在集塵極上。在放電極上也會集中少量獲得正電荷的灰粒,它會使放電極線肥大,影響除塵效果,所以需定期給以振打清除。當集塵極上的灰粒達到一定厚度後將由振打裝置進行周期性的振打,使灰粒落到灰斗中。
電氣除塵器的分類
電氣除塵器是由電暈電極、集(收)塵電極、氣流分布裝置、振打清灰裝置,外殼和供電設備等部分組成的。根據不同的分類方法,電氣除塵器有很多種類型。
(1)按電除塵器對粉塵的處理方式分:①乾式電除塵器:被捕集的塵粒以乾燥方式集聚在收塵極板上,然後振打下落。②濕式電除塵器:被捕集的塵粒被收塵極上流動的水膜沖洗下落。
圖3 WB20型臥式電除塵器(2)按煙氣在電除塵器中流動方向分:①立式電除塵器:氣體自下而上運動,所需空間小,但粉塵容易二次飛揚。②臥式電除塵器:氣體在電除塵器內沿水平方向流動,所占空間大,但能滿足高效、處理大量煙氣等要求,為目前燃煤電廠除塵器的主要類型。WB型臥式電除塵器如圖3(1-分布板;2-電暈極;3-集塵極;4-外殼體;5-內部走廊;6-下灰斗;7-旋轉給料器;8-振打器)所示。
(3)按集塵極板結構分:①管式電除塵器:適用於立式電除塵器。②板式電除塵器:適用於臥式電除塵器。
(4)按集塵極和放電極在除塵器內的匹配分:①同區式電除塵器:粉塵粒子的荷電和集塵在同一區域進行。②異區式電除塵器:粉塵粒子的荷電和集塵在不同區域進行。
電氣除塵器優缺點
電氣除塵器具有金屬耗量大、占地面積大、不易適應操作條件的變化、套用範圍受粉塵比電阻的限制的缺點。但由於電氣除塵器具有效率高,處理煙氣量大,壽命長,保護環境,能耗及維護費用低等優點,所以,目前國內、外發電廠中普遍使用電氣除塵器來對煙氣進行除塵。
