簡介
輕型爐牆是相對重型爐牆而言的,它是在重型爐牆的基礎上發展起來的。輕型爐牆的特點是爐牆分段壓在金屬託架上,每段高度為5 m左右,由托架把每段爐牆的荷載傳到鍋爐構架上,所以這種爐牆高度可遠遠超過上述的重型爐牆。輕型爐牆常用於水冷壁管較密的爐膛或爐膛內壁面溫度低於600~1000℃的場合,爐牆厚度一般為260~310 mm,比重型爐牆薄且輕,每平方米麵積爐牆約重400 kg左右(不包括鋼製護板的重量)。因為輕型爐牆每段的高度不大,所以爐牆的總高度不受限制,承受橫向力(如地震力等)的能力大。但是輕型爐牆的金屬消耗量大(要用爐牆托架、拉鉤、護板,並且要加強鍋爐構架),磚砌的輕型爐牆還需採用價格比普通耐火磚高2~3倍的異形耐火磚,砌築這些異形耐火磚的費用比普通磚貴3~4倍。輕型爐牆可分為磚砌結構輕型爐牆和混凝土框架結構輕型爐牆兩種。
磚砌結構輕型爐牆
圖1 輕型磚砌爐牆的結構輕型磚砌爐牆的結構如圖1(1-耐火轉;2-硅藻土磚;3-石棉白雲石板;4-水冷壁管;5-鋼製護板;6-拉鉤;7,8-異型磚;9-托架;10-托架的支座搭鉤;11-鍋爐構架的框架梁;12-膨脹縫)所示,內側耐 熱層一般採用耐火磚,在煙氣溫度低於600~700℃的省煤器煙道的爐牆內側也可採用優質紅磚;絕熱層或由一層硅藻土焙燒板構成,或由裡層為硅藻土磚、外層為石棉白雲石板或礦渣棉板等絕熱板兩層構成;最外層是由鋼製護板組成的密封層。
圖2 輕型磚砌爐牆的分段卸載結構
圖3 輕型磚砌爐牆的垂直膨脹縫結構圖2(1-耐火轉;2-硅藻土磚;3-異型耐火磚;4-托架;5-耐火繩索;6-保溫板;7-鍋爐構架)所示為輕型磚砌爐牆的分段卸載結構,爐牆的重量分段由一排固定在鍋爐鋼架樑上的鑄鐵或鋼製的托架支承,每隔3m左右設定一層托架,托架之間的間距為250~320mm。托架上下的耐火磚做成異型磚,兩磚之間一般留有7~15mm的膨脹縫。在膨脹縫中填充石棉繩或耐火纖維繩索,以吸收內層耐火磚受熱時沿垂直方向產生的膨脹量。為了防止爐牆因內部受熱後向爐膛中凸出,每隔500~1000 mm用一排鑄鐵拉鉤把砌在內層耐火磚里的異形磚拉住,拉鉤則固定在與護板焊牢的管子上,鑄鐵拉鉤、異形磚和固焊於護板上的管子組成了輕型磚砌爐牆的牽連結構(圖1)。爐牆內層耐火磚沿周向產生的膨脹量靠布置在牆角或爐牆中間的垂直 膨脹縫來吸收,一般沿爐寬每隔3~4 m布置一道垂直膨脹縫。因硅藻土磚或其它絕熱材料的工作溫度較低且較疏鬆,絕熱層可依靠自己的疏鬆性來補償這不太大的膨脹量。圖3((a)斜牆角;(b)直牆角;(c)爐牆平直段)是輕型磚砌爐牆垂直膨脹縫結構。輕型磚砌爐牆常用於內壁溫度高於600~800℃的地方,例如,國產的蒸發量小於130 t/h的鍋爐爐膛和過熱器煙道部分皆採用該型爐牆。
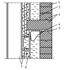
混凝土(砼)框架結構輕型爐牆
圖4 混凝土框架結構輕型爐牆混凝土框架結構輕型爐牆如圖4(1-耐火混凝土;2-保溫混凝土;3-鋼筋;4-框架外護板)所示,該結構利用型鋼作框架,高溫煙氣側耐熱層和相鄰的保溫層分別由耐火混凝土和保溫混凝土澆注,最外層用鋼板做成外護板或用以鐵絲網為骨架的密封塗料塗抹而成。為了使耐火混凝土能更好地固定在框架上並具有足夠的強度,在耐火混凝土中設定用46 mm圓鋼製成的鋼筋網,格線尺寸為120×120 mm,鋼筋的兩端點焊在框架,鋼筋交叉處用退過火的Φ1.6 mm鐵絲扎牢。為防止耐火混凝土因其膨脹係數和鋼筋不同而引起裂縫,鋼筋上應塗以2 mm厚的瀝青,以便高溫下瀝青溶化後使鋼筋和耐火混凝土之間有一定的空隙。耐火混凝土板的接縫處應留有5 mm左右的膨脹縫,並塞以石棉紙板。混凝土框架結構輕型爐牆既可象輕型磚砌爐牆那樣通過爐牆托架把荷載傳到鍋爐構架上去,也可通過吊耳懸吊起來把荷載傳到鍋爐的頂板鋼樑上去。
圖5 鍋爐尾郝轉彎煙室和省煤器煙道部分的混凝土框架結構輕型爐牆這種爐牆可用於各種容量鍋爐800℃以下無受熱面保護的煙道,現代大中型鍋爐的尾部煙道已很少採用輕型磚砌爐牆,而均改用混凝土框架結構輕型爐牆。圖5(1-耐火混凝土;2-保溫混凝土;3-絕熱材料;4-托架;5-托架橫樑;6-鍋爐構架的框架梁;7-受熱面管子;8-拉鉤;9-受熱面支承梁;10-受熱面聯箱;11-鐵絲網張緊拉桿;12-鍍鋅鐵絲網;13-石棉泥;14-密封塗料)所示為某鍋爐尾部轉向轉彎煙室和省煤器煙道部分的混凝土框架結構輕型爐牆結構。
採用混凝土框架結構輕型爐牆使得築爐工作轉變為大面積澆制預製塊,並可使澆制機械化,大大地加快了安裝進度;省去了磚砌爐牆所需的價格較貴的異形耐火磚、拉鉤,節省了砌築費用,使爐牆成本降低;用密封塗料代替鋼製護板,可節約鋼材,而且減少了爐牆的接縫。但是混凝土框架結構輕型爐牆比磚砌爐牆的耐熱性能稍差,因耐火混凝土的耐高溫、抵抗溫度波動和灰渣侵蝕的能力較差,而且混凝土框架結構輕型爐牆的機械強度和密封性也稍差。
