概述
混凝土為當今建築材料中套用最廣泛、使用量最大的一種材料。對於結構混凝土的質量檢測,雖然包括的內容不少,但主要檢測的項目是混凝土強度和內部缺陷。結構混凝土強度檢測,目前雖有回彈法、鑽芯法、拔出法等,這些方法只能單純地檢測混凝土強度,不能反映其缺陷情況。而超音波既可以檢測混凝土強度同時又可以發現或專門檢測內部缺陷情況;用超音波和回彈儀綜合檢測混凝土強度,它用多個參數,內外結合,能更全面地反映混凝土強度質量;有時結構或構件的表面不能進行回彈、鑽芯和拔出等檢測時,超音波就更顯示它的優越性了。
儀器設備
超音波儀是混凝土灌注樁缺陷檢測的基本裝置。它的作用是產生重複的電脈衝並激勵發射換能器。發射換能器發射的超音波經耦合進入混凝土,在混凝土中傳播後被接收換能器接收並轉換為電信號,電信號送至超聲儀,儀器繪製並記錄下波形。
混凝土聲波檢測設備主要包含了聲波儀和換能器兩大部分。用於混凝土檢測的聲波頻率一般在20~250kHz範圍內,屬超聲頻段,因此,通常也可稱為混凝土的超音波檢測,相應的儀器也叫超聲儀。
混凝土聲波儀的功能(基本任務),是向待測的結構混凝土發射聲波脈衝,使其穿過混凝土,然後接收穿過混凝土的脈衝信號。儀器顯示聲脈衝穿過混凝土所需時間、接收信號的波形、波幅等。根據聲脈衝穿越混凝土的時間(聲時)和距離(聲程),可計算聲波在混凝土中的傳播速度;波幅可反映聲脈衝在混凝土中的能量衰減狀況,根據所顯示的波形,經過適當處理後可對被測信號進行頻譜分析。
超聲儀的發展
模擬機:第一代
20世紀50年代出現了電子管聲波儀,主要是國外的
1964年同濟大學研製出我國第一台超聲儀。
70年代後期,國內一些單位又研製出一批電晶體分離元件的超聲儀。代表儀器:CTS一25型和SYC一2型超聲儀
數字機:第二代
1990年,天津建築儀器廠首先研製成功了我國第一台數位化的超聲儀。這種超聲儀受數字採集與傳輸速度等方面的限制,無法實時動態顯示波形。
從90年代中科院武漢岩土力學研究所生產的RSM-SY5聲波儀問世。
基樁超音波自動測樁儀:第三代
在數位化超聲儀的基礎上為提高基樁透射法的工作效率和測試精度,增加了深度自動記錄的功能。
代表儀器:RSM-SY6ZBL-520ARS-ST01(C)
基樁多跨孔超音波自動循測儀:第四代
實現了多通道自發自收設計,可以一次提升同時完成四管六剖面的測試工作,又將檢測效率提高六倍,大幅降低了現場檢測強度。
代表儀器:RSM-SY7、RSM-SY7WRS-ST06D
基樁多跨孔超音波自動循測儀:第五代
一次完成整樁6剖面平測及12剖面斜測並配備專業樁基三維CT成像軟體,可對測試結果生成各類三維動態圖,將混凝土超聲檢測儀推向了一個新的高度。
第五代基樁多跨孔超音波自動循測儀
三維動態圖儀器要求
規範對超音波儀的技術要求(TB10218-2008)1)具有實時顯示和記錄接受信號的時程曲線以及頻譜分析功能。
2)聲時顯示範圍大於2000μs,精度優於或等於0.5μs。
3)聲波發射脈衝宜為階躍或矩形脈衝,電壓幅值不小於500V。
4)系統頻帶頻帶為5-200kHz。
5)聲波幅值測量範圍不小於80dB,聲時聲幅測量相對誤差小於5%。
6)系統最大動態範圍不小於100dB。
7)採集器模-數轉換精度不應低於12bit,採樣間距應小於1μs,採用長度不應小於1024點。
規範對超音波儀的技術要求(JTG/TF81-012004)
1)檢測儀應具有一發雙收功能
2)聲波發射應該採用高壓階躍或矩形脈衝
3)接收放大器的頻帶為5-200kHz
4)增益不應小於100dB,波幅測量範圍80dB
5)計時顯示範圍大於2000μs,精度優於0.5μs
6)採集器模-數轉換精度不應低於8bit
7)採集頻率不應小於10MHz
8)最大採集長度不應低於32k
規範對超音波儀的技術要求(JGJ106-2014)
1)具有實時顯示和記錄接收信號的時程曲線以及頻率測量或頻譜分析的功能。
2)最小採樣時間間隔小於或等於0.5μs,聲波幅值測量相對誤差小於5%,系統頻頻寬度為5~200kHz,系統最大動態範圍不小於100dB。
3)聲波發射脈衝為階躍或矩形脈衝,電壓幅值為200~1000V。
4)具有首波實時顯示功能。
5)具有自動記錄聲波發射與接收換能器位置功能。
檢測原理
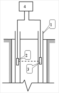
基樁成孔後,灌注混凝土之前,在樁內預埋若干根聲測管作為聲波發射和接收換能器的通道,在樁身混凝土灌注若干天后開始檢測,用聲波檢測儀沿樁的縱軸方向以一定的間距逐點檢測聲波穿過樁身各橫截面的聲學參數,然後對這些檢測數據進行處理、分析和判斷,確定樁身混凝土缺陷的位置、範圍、程度,從而推斷樁身混凝土的連續性、完整性和均勻性狀況,評定樁身完整性等級。
檢測原理圖樁內跨孔透射法三種方法的運用:
現場的檢測過程一般首先是採用平測法對全樁各個檢測剖面進行普查,找出聲學參數異常的測點。
然後,對聲學參數異常的測點採用加密平測測試、斜測或扇形掃測等細測方法進一步檢測,這樣一方面可以驗證普查結果,另一方面可以進一步確定異常部位的範圍,為樁身完整性類別的判定提供可靠依據。
平測
以相同的標高同步升降,完成整樁檢測
平測示意圖斜測
將發射換能器和接受換能器置於不同高度上同步提升,分析兩次測試的聲學參數異常的測線,來進一步更精確的確定缺陷範圍。
斜測示意圖扇測
一隻換能器固定在某高程不動,另一隻換能器逐點移動,測線呈扇形分布。要注意的是,扇形測量中各測點測距是各不相同的,雖然波速可以換算,相互比較,但振幅測值卻沒有相互可比性(波幅除與測距有關,還與方位角有關,且不是線性變化),只能根據相鄰測點測值的突變來發現測線是否遇到缺陷。
扇測示意圖傳統CT檢測
這種傳統的聲波CT方法優點是射線數量多,成像精度較高。
這種方法缺點也比較明顯。突出的缺點是野外採集速度慢,另外,這種採集方法數據量大,室內資料處理需要大記憶體計算機,成像速度也慢,對計算機的性能要求較高。另外,當發射聲波換能器與接收聲波換能器距離較遠時,透射聲波能量損失較大。
傳統CT檢測示意圖改進型CT檢測
換能器的相對高差較小,透射聲波的波幅衰減較小,採集的聲波數據質量高。
這種方法的優點是野外採集速度快,數據量也不大,成像速度也較快,可以達到野外實時成像。
改進型CT檢測示意圖現場檢測
檢測準備工作
1)了解有關技術資料及施工資料
2)系統零時校正
3)在樁頂測量相應聲測管外壁間淨距離
4)將各聲測管內注滿清水,檢查聲測管暢通情況;換能器應能在全程範圍內正常升降。
5)現場採集系統架設
6)換能器放到管底後檢查管口深度是否一致。
7)逐一收緊各管換能器電纜,觀察管口深度,保證換能器在同一深度。
8)打開深度計數器蓋將換能器電纜順序放置進深度計數器線槽中,並向下壓緊鎖住深度計數器蓋。
9)將深度編碼器接頭連線儀器,延長接頭放置在乾燥處。
儀器參數的設定及現場採集
1)確定管的編號並正確的與儀器相應通道接口連線。
2)確定了管的編號後,將探頭放入相應的管中,再按管的編號將探頭接在儀器對應的通道上,並一一對應,如管1或管A的探頭接到儀器一通道上,以此類推。
3)打開採集軟體,在設定中填入被測樁資料。如工程名稱、樁號、測試長度、跨距等。
4)設定延遲,增益等設定。
5)將發射和接收換能器分別置於聲測管的底部,點擊採樣,觀察下儀器設定是否合理,如感覺波形顯示不佳,可重新調整延遲,增益,等來達到最佳效果。
6)確定調整到最佳效果並再次確認探頭放在管底後;點擊新存,選擇保存檔案名稱。
7)分別對所有檢測剖面完成檢測,注意對應管的數量有一定的剖面需要檢測,不要漏測。
8)現場保存完數據後,可點擊打開查看一下剛剛測試的數據,如發現該數據中存在信號大面積異常,可將探頭重新放回管底,注意各探頭管口深度一致,再重新提升測試一次。
9)在樁身質量可疑的測點周圍,可採用加密測點,或採用斜測、扇形掃測進行複測,進一步確定樁身缺陷的位置和範圍。
青島新機場(亞洲最大機場)超聲測樁現場