一拖二鼓風脫濕機
技術領域
本實用新型涉及鼓風脫濕機。
背景技術
目前煉鐵高爐鼓風脫濕技術在國內已有使用,對降低煉鐵高爐焦比、穩定爐況起到了重要作用。但現有技術存在一個很大的缺陷:一台脫濕機10組只能對一台鼓風機的鼓風進行脫濕,而一般煉鐵高爐所配用的鼓風機總是有1台至數台備用機組,如:如果只有一座髙爐,則一般配2台鼓風機,1台運行,一台備用,這樣,對一座高爐來說,為了保證隨時可以脫濕,則必須安裝與2台鼓風機配套的2台脫濕機,1台脫濕機運行,另1台脫濕機備用,這就大大增加了設備投資。
發明內容
本實用新型的目的在於提供一拖二鼓風脫濕機,通過切換閥的切換,可實現一套脫濕機組對兩台鼓風機的鼓風進行脫濕,相比兩台鼓風機配兩台脫濕機的現狀,可節約設備投資40%以上。為達到上述目的,本實用新型的技術解決方案是,一拖二鼓風脫濕機,其包括第一、二鼓風機吸氣系統、第一、二壓縮機、第一、二冷凝器;其中,第一、二鼓風機吸氣系統分別包括本體、空氣過濾器、一級蒸發器、二級蒸發器、除霧器;本體為一腔體結構,其有進、出口,出口與第一、二鼓風機聯通;所述的空氣過濾器、一級蒸發器、二級蒸發器、除霧器,依次設定於本體腔體進口與出口之間的腔體內;第一、二鼓風機吸氣系統的二級蒸發器一端分別經過一熱力膨脹閥和第一、二切換閥與第一冷凝器相連通,第一、二鼓風機吸氣系統的二級蒸發器另一端經過第三、四切換閥、第一壓縮機與第一冷凝器相連通;第一、二鼓風機吸氣系統一級蒸發器一端分別通過一熱力膨脹閥和第五、六切換閥與第二冷凝器連通;第一、二鼓風機吸氣系統的一級蒸發器另一端通過第七、八切換閥、第二壓縮機與第二冷凝器連通。所述的第一、二鼓風機吸氣系統本體腔體內一級蒸發器與二級蒸發器間以及二級蒸發器與除霧器間設有排水器。
本實用新型的優點在於,通過切換閥的切換,可實現一套脫濕機組可對兩台鼓風機的鼓風進行脫濕。如果需對第一鼓風機進行脫濕,則第二、四、六、八切換閥關閉,第一、三、五、七切換閥打開;如果需對第二鼓風機進行脫濕,則第二、四、六、八切換閥打開,第一、三、五、七切換閥關閉。相比兩台鼓風機配兩台脫濕機的現狀,可節約設備投資40%以上。
附圖說明
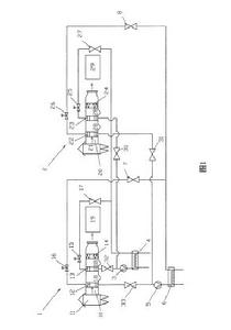
圖1為本實用新型的結構剖視圖。
脫濕機具體實施方式
參見圖1,本實用新型的一拖二鼓風脫濕機,包括第一鼓風機吸氣系統1、第二鼓風機吸氣系統2、第一壓縮機3、第二壓縮機5以及第一冷凝器4、第二冷凝器6;其中,第一、二鼓風機吸氣系統1、2分別包括本體10、20、空氣過濾器11、21、一級蒸發器12、22、二級蒸發器13、23、除霧器14、24;本體10、20為一腔體結構,其有進、出口,出口分別與第一鼓風機19、第二鼓風機29相對應、聯通;空氣過濾器11、21、一級20 蒸發器12、22、二級蒸發器13、23、除霧器14、24,依次設定於本體10、20腔體進口與出口之間的腔體內;第一、二鼓風機吸氣系統1、2的二級蒸發器13、23—端分別經過一熱力膨脹閥15、25和第一、二切換閥17、27與第一冷凝器4相連通;第一、二鼓風機吸氣系統1、2的二級蒸發器13、23另一端經過第三、四切換閥32、30、第一壓縮機3與第一冷凝器425相連通;第一、二鼓風機吸氣系統1、2的一級蒸發器12、22—端分別通過一熱力膨脹閥16、26和第五、六切換閥7、8與第二冷凝器6連通;第―、二鼓風機吸氣系統1、2的一級蒸發器12、22另一端通過第七、八切換閥33、31、第二壓縮機5與第二冷凝器6連通;所述的第一、二鼓風機吸氣系統1、2本體10、20腔體內一級蒸發器12、22與二級蒸發器13、30 23間以及二級蒸發器13、23與除霧器14、24間設有排水器18、28。
以高爐鼓風機為例,一般髙爐配用2台鼓風機,一台運行,一台備用,具體工作時,第一壓縮機3、第二壓縮機5壓縮製冷劑,製冷劑在第一、二冷凝器4、6中冷凝。當第一鼓風機19工作時,先關閉同時與第一壓縮機3、第二壓縮機相連通的第二鼓風機吸氣系統2的第二切換閥27、第四切換閥30、第六切換閥8、第八切換閥31;然後,打開第一、三、五、七切換閥17、32、7、33,第一壓縮機3、第二壓縮機5與第一鼓風機吸氣系統1相連通;第一壓縮機3壓縮製冷劑通過管路到第一鼓風機吸氣系統1的一級蒸發器12蒸發,將通過空氣過濾器11進入第一鼓風機吸氣系統1本體10腔體內的10空氣熱量帶出;同時,第二壓縮機5壓縮製冷劑,通過管路到第一鼓風機吸氣系統1的二級蒸發器13蒸發,也將第一鼓風機吸氣系統1內的空氣熱量帶出,再通過除霧器14,使進入第一鼓風機19的空氣降至設定溫度。第二鼓風機29工作時,先關閉第一、四、五、七切換閥17、32、7、33,切斷第一壓縮機3、第二壓縮機5與第一鼓風機吸氣系統1相連通;15然後,打開第二切換閥27、第四切換閥30、第六切換閥8、第八切換閥31,第一壓縮機3、第二壓縮機5與第二鼓風機吸氣系統2相連通,第一壓縮機3壓縮製冷劑通過管路到第二鼓風機吸氣系統2的一級蒸發器22蒸發,將通過空氣過濾器21進入第二鼓風機吸氣系統2本體20腔體內的空氣熱量帶出;同時,第二壓縮機5壓縮製冷劑,通過管路到第二鼓風機20吸氣系統2的二級蒸發器23蒸發,也將第二鼓風機吸氣系統2內的空氣熱量帶出,再通過除霧器24,從而使進入第二鼓風機29的空氣降至設定的溫度。通過第一至第八切換閥的切換,製冷劑可分別獨立送往第一、二鼓風機吸氣系統1、2的一級蒸發器12、22、二級蒸發器13、23,在蒸發器中25完成熱交換,將第一、二鼓風機19、29進口空氣的溫度降至設定值,冷凝水析出,分別通過排水器18、28排出。如要實現4500Nm3/min鼓風的脫濕,按目前使用一對一脫濕方法,須選擇兩台製冷量分別為600萬kcal/h的制冷機組,脫濕機組投資約為1400萬元,而按照本實用新型實施,只需購買一台600萬kcal/h制冷機組,再增加一台蒸發器,共需投資800萬元,節約投資43%,經濟效益非常顯著。

