自動切泥機
技術領域
本發明涉及一種自動切泥機,屬於切泥機技術領域。
背景技術
目前,陶瓷生產在傳統工藝制約下,以勞動強度大,人員密集,手工操作為主要生產方式,在傳統的生產方式中,以手工切泥,手工量尺,要么憑眼睛大約估計長度切泥,這樣就導致切口不齊,長短不一,勞動強度大。到滾壓時,還需要人工再一次分切成各種規格長短的泥坯來,分切出來的泥坯,兩端有多餘的泥頭,要回輪重新加工,在人工換規格時,鋼絲分不準,繃不緊,將再次導致泥坯的長短不一,使滾壓成型造成長的浪費泥,產生回輪泥,而短的就旋不滿,需重新加泥,還引起成型坯體薄厚不均勻,耗費大量人力,物力。
發明內容
本發明所要解決的技術問題是克服現有技術的缺陷,提供一種自動切泥機,它集初始切泥、運泥分泥、量長度於一體,使生產的泥坯尺寸精確,薄厚均勻,從而降低了人力和物力成本。
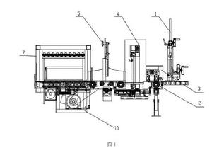
本發明解決上述技術問題採取的技術方案是:一種自動切泥機,它包括導向擠壓裝置、滾筒計量裝置、夾泥裝置、切泥裝置、調節擋泥裝置、推泥裝置、分切裝置、第一傳動輸送裝置、第二傳動輸送裝置、控制系統和機架,機架具有輸送工位,並且導向擠壓裝置、夾泥裝置、切泥裝置、調節擋泥裝置和第二傳動輸送裝置由輸送工位的起始輸送段至終止輸送段依次設定,第一傳動輸送裝置位於調節擋泥裝置的下方,推泥裝置位於第二傳動輸送裝置的一側,分切裝置位於第二傳動輸送裝置的另一側,滾筒計量裝置位於夾泥裝置的下方;其中,
所述的導向擠壓裝置包括龍門架和三個壓輪結構,龍門架安裝在機架的輸送工位上,並且三個壓輪結構分別安裝在龍門架的上、左、右側,壓輪結構包括壓輪座、滾筒、滾筒軸和可驅動壓輪座向龍門架的中心移動或向相反方向遠離的壓輪座驅動機構,滾筒軸可旋轉地支承在壓輪座上,滾筒套裝在滾筒軸上;
所述的夾泥裝置包括互相配合的固定夾板裝置和活動夾板裝置,固定夾板裝置安裝在輸送工位的一側,活動夾板裝置安裝在輸送工位的另一側;
所述的切泥裝置包括氣缸、切泥架、切泥弓架、光桿、切泥線、切泥線固定鎖緊機構和控制切泥弓架在切泥架上的行程的切泥弓架行程機構,切泥架安裝在機架的輸送工位上,光桿安裝在切泥架上,所述的切泥弓架滑配在光桿上,氣缸安裝在切泥架上,氣缸的活塞桿與切泥弓架相連線,所述的切泥線固定鎖緊機構安裝在切泥弓架上,所述的切泥線安裝在切泥線固定鎖緊機構上;
所述的推泥裝置,其將第二傳動輸送裝置上的泥坯推進分切裝置;
分切裝置包括分切泥架、活動接泥組件和多個分切絲組件,多個分切絲組件並排設定在分切泥架上,相鄰的分切絲組件之間留有泥坯成品槽,所述的活動接泥組件位於分切泥架的推泥裝置側的相反一側。
進一步,所述的壓輪座驅動機構包括手輪機構、齒輪和齒條,齒輪安裝在手輪機構上,齒條和齒輪嚙合,所述的壓輪座固定連線在齒條上。
進一步,所述的固定夾板裝置包括導桿座、固定夾板、導桿、固定直線軸承座和可調位鎖緊手柄,固定直線軸承座安裝在導桿座上,導桿可滑動地安裝在固定直線軸承座上,所述的固定夾板固定連線在導桿上,所述的可調位鎖緊手柄通過螺紋連線在固定直線軸承座上,並且可調位鎖緊手柄具有可壓接在導桿上的壓接部。
進一步,所述的活動夾板裝置包括氣缸座導桿、氣缸座、安裝底板、活動直線軸承座、導向桿、夾緊氣缸和活動夾板,氣缸座通過氣缸座導桿滑配在安裝底板上,活動直線軸承座安裝在氣缸座上,所述的導向桿可滑動安裝在活動直線軸承座上,所述的活動夾板固定連線在導向桿上,所述的夾緊氣缸安裝在氣缸座上,夾緊氣缸的活塞桿與活動夾板固定連線。
進一步,所述的切泥弓架行程機構包括行程感應板、起始行程開關和終止行程開關,行程感應板安裝在所述的切泥弓架上,起始行程開關和終止行程開關均安裝在切泥架上,所述的行程感應板分別與起始行程開關和終止行程開關相配合。
進一步,所述的切泥線固定鎖緊機構包括棘輪鎖緊機構、第一切泥線滑輪、第二切泥線滑輪和切泥線緩衝機構,切泥線緩衝機構包括安全套、壓縮彈簧和具有切泥線槽頭的切泥線緩衝座,安全套固定連線在切泥弓架上,壓縮彈簧的兩端分別與安全套和切泥線槽頭相抵接,所述的切泥線的一端安裝在棘輪鎖緊機構上,另一端依次連線第一切泥線滑輪、第二切泥線滑輪和切泥線槽頭後連線至棘輪鎖緊機構,第一切泥線滑輪安裝在切泥弓架的上端,第二切泥線滑輪安裝在切泥弓架的下端。
進一步,所述的推泥裝置包括推泥氣缸、推泥導桿、推泥直線軸承座、推泥擋板和安裝架,推泥直線軸承座安裝在安裝架上,推泥導桿可滑動地安裝在推泥直線軸承座上,推泥氣缸安裝在安裝架上,推泥氣缸的活塞桿與推泥擋板固定連線。
進一步,所述的分切絲組件包括分切絲、棘輪調節機構和分切絲掛銷,棘輪調節機構安裝在分切泥架的上端,分切絲掛銷安裝在分切泥架的下端,所述的分切絲的一端安裝在棘輪調節機構上,另一端安裝在分切絲掛銷上。
進一步,所述的滾筒計量裝置包括旋轉軸、膠輥組件、編碼器和編碼器支架,所述的膠輥組件套裝在旋轉軸上,所述的旋轉軸可旋轉地支承在機架上,所述的編碼器通過編碼器支架安裝在機架上,所述的編碼器安裝在旋轉軸的一端。
進一步,所述的調節擋泥裝置包括調節安裝架、左擋板、右擋板、左調節連桿、右調節連桿、調節軸和調節鎖緊輪,左擋板和右擋板均通過導軌副安裝在調節安裝架上,調節軸滑配在調節安裝架上,所述的左調節連桿的一端與左擋板鉸接,所述的右調節連桿的一端與右擋板鉸接,左調節連桿和右調節連桿的另一端均鉸接在調節軸上,調節鎖緊輪通過螺紋連線在調節軸上。
採用了上述技術方案後,本發明與練泥機配合使用,通過練泥機練出多根泥條進入導向擠壓裝置,擠壓成有相互粘住,不易分離的狀態下,進入滾筒計量裝置計量長度尺寸,同時也進入夾泥裝置,再進入切泥裝置,啟動夾泥裝置,同時也啟動切泥裝置使切泥弓架移動,把泥抱住並利用切泥線進行切割,使尺寸準確,不會產生斜口,同時再進入調節擋泥裝置,調節擋泥裝置是對泥條寬度及大小進行的一個防偏處理,並通過固定夾板裝置和活動夾板裝置對多個泥條進行寬度調節,再啟動第一傳動輸送裝置,當泥料在進入第一傳動輸送裝置時,給予與練泥機出泥速度相同的速度在旋轉第一傳動輸送裝置的皮帶,當泥剛切斷的同時啟動其高頻運泥,同時也啟動第二傳動輸送裝置,兩個裝置都設定一個合適的時間數值,把泥運輸到推泥裝置的前側的輸送工位處,啟動推泥裝置,把泥條推往分切裝置,分切裝置事先把產品規格調好的分切絲組件,放入分切裝置相應的槽內,當推泥裝置把泥推往分切裝置的同時,泥坯通過分切絲組件,而形成一個個成品的泥坯,然後泥坯掉落到成品箱中,這樣就完成了整個切泥工序,本自動切泥機集初始切泥、運泥分泥、量長度於一體,使生產的泥坯尺寸精確,薄厚均勻,從而降低了人力和物力成本。
附圖說明
圖1為本發明的自動切泥機的結構示意圖;
結構示意圖
